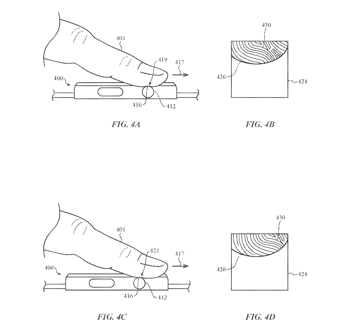
IT之家 2 月 21 日消息,根据美国商标和专利局(USPTO)近日公示的清单,苹果公司获得了一项 Apple Watch 相关的技术专利,在数字表冠上整合触控和光线传感器。

根据专利描述:“数字表冠配上光敏表面,基于和光敏表面接触的物体图像,引导传感器变化”。而且专利中表示数字表冠不会像现在这样可以自由旋转,而是会受到“旋转限制”,只能旋转一圈。
根据专利描述,苹果公司的这项专利就是通过记录用户手指的运动和速度,通过光敏表面实现更丰富的交互,而不再只是传统的旋转机械操作。
苹果在专利中表示,该数字表冠内置传感器,通过检测皮肤、拍摄用户手指的图像或检测光线变化来实现这一目的。IT之家附上专利草图如下:




文章来源于互联网:凤凰网-苹果Apple Watch新专利:数字表冠仅能旋转一圈,改用光敏表面丰富交互体验
相关推荐
-
抢份额、拼价格、谋出海,扫地机器人行业格局正在重塑
文/陈锋 编辑/子夜 过去几年,扫地机器人在中国市场的零售量增长呈现出一条陡峭的曲线。 2018年至2020年,行业迈入快速成长周期,分别卖出了613台、628万台、654万台,做…
-
新增实时视频界面远程开锁功能,华为智能门锁系列获鸿蒙HarmonyOS 5.0.0.1升级
IT之家 6 月 10 日消息,华为智能门锁系列现开启鸿蒙 HarmonyOS 5.0.0.1 版本升级推送(华为智能门锁 2 系列产品出厂预装 HarmonyOS 5 系统,此次…
-
华硕ROG NUC在海外上市:CPU性能释放达65W,GPU最高达140W
原标题:华硕 ROG NUC 海外上市:英特尔酷睿 Ultra 9 185H + RTX 4070 版本 2499 欧元 IT之家 3 月 16 日消息,华硕去年接手了英特尔的 N…
-
Porttronics MODESK通用手机支架在印度亚马逊可以省600卢比,仅售99卢比!
Porttronics MODESK通用手机支架是一款功能齐全、设计精美的移动设备支架,其折扣非常大,目前印度亚马逊正在开展一项优惠活动,您可以以99卢比的价格购买该产品,可以享受…
-
三星Galaxy Tab S9 FE Plus美国亚马逊限时降价,银色版优惠达130美元
在最近的假日周末,三星Galaxy Tab S9 FE Plus中端平板电脑在美国亚马逊迎来了一波令人瞩目的价格优惠。这款备受瞩目的平板电脑在特定平台上的银色型号售价首次降至469…
-
智能抠图、AI通话等功能下放,荣耀Magic5系列手机获MagicOS 9.0.0.187版本升级
IT之家 8 月 21 日消息,荣耀 Magic5 系列手机今日开启 MagicOS 9.0.0.187 版本升级,系统包大小约 1.79GB。据介绍,本次更新新增清理建议和 AI…
-
星巴克跨界推出咖啡豆主题手机壳,适配华为及苹果机型
IT之家 1 月 29 日消息,星巴克宣布跨界推出 4 款手机壳,适配华为 Mate 70/80 系列手机及苹果 iPhone 14-17 系列,用户即日起消费 250 元“有机会…
-
Ai Pin又翻车,充电盒有起火风险,官方还摆烂?
正式向消费者推出后,初创公司 Humane 的设备 Ai Pin 收获了媒体和用户几乎一边倒的恶评,今天 Humane 公司向用户发了一封邮件,不过又是一个坏消息,让用户「立即停止…
-
技嘉透露16核amd锐龙9000x3dcpu的存在
IT之家 11 月 5 日消息,技嘉官方上周发布了一份新闻稿,宣布推出 X3D Turbo 模式,支持 X870E、X870 和 600 系列主板。 技嘉表示,此功能为游戏玩家带来…
-
富士CEO认为富士相机缺货是正常情况 相机降价是浪费
【CNMO科技消息】最近几年,虽然索尼、佳能、尼康等厂商的产品也或多或少都出现过缺货和涨价的情况,但富士似乎最为严重。今年年初,富士X100 Ⅵ上市,不过天猫平台百万人预约备货却仅…
