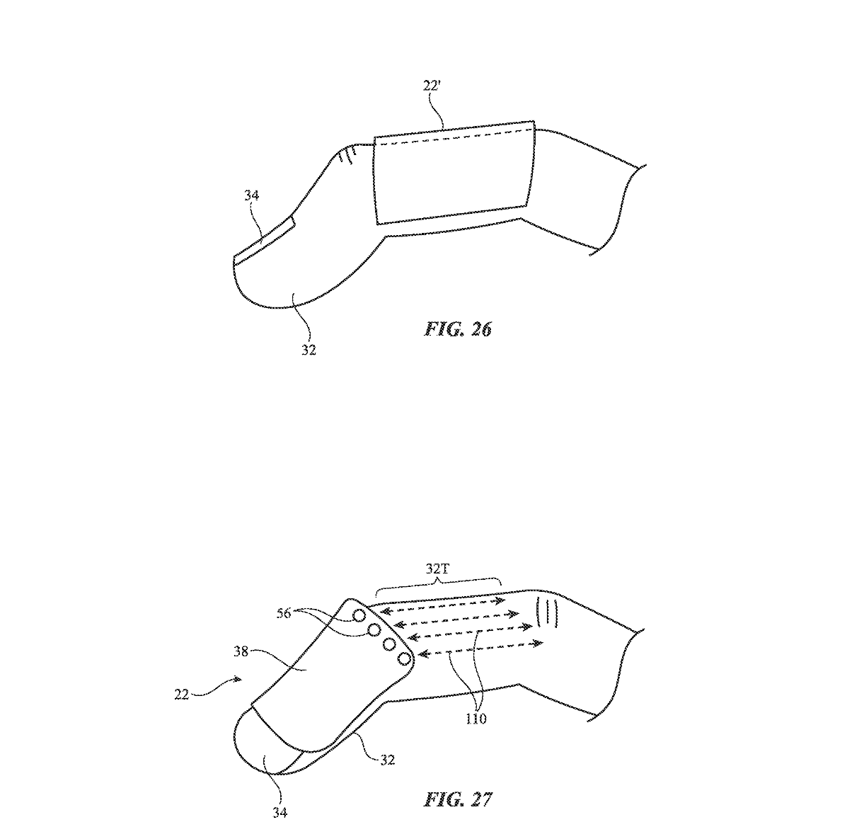
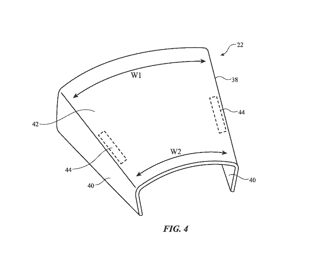
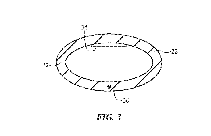
IT之家 2 月 28 日消息,根据美国商标和专利局(USPTO)近日公示的清单,苹果公司获得了一项关于智能戒指 / 指套的专利,希望在空间计算中让佩戴者触摸和感受虚拟事物。

这项专利名称为《配有传感器和触觉反馈、佩戴在手指上的设备》,每个指尖上都配有传感器,可以检测用户手部动作,从而更好地和虚拟现实世界内容交互。
苹果公司表示手套等可穿戴设备收集用于控制电子设备的输入存在一些挑战,例如可能会影响用户感受周围物体的能力、长期佩戴可能不舒服、无法从用户那里收集到合适的输入。




苹果提出的解决方案是指套类装备,在用户与虚拟世界进行交互时收集来自用户手指的输入,并可用于在这些交互过程中提供点击和其他触觉输出。
IT之家附上苹果公司在专利的一个示例如下:用户佩戴苹果 Vision Pro 和此类可穿戴设备,有人在虚拟世界向你抛出一个虚拟球,指尖的触觉传感器就能模拟出接球的感觉。
相关推荐
-
OPPO Watch X新配色亮相 全智能标杆即将国内上市
近日,OPPO正式公布了备受瞩目的智能手表新品——OPPO Watch X新配色:千帆蔚蓝、大漠银月、星夜飞行。这款被誉为“全智能标杆”的新品将于3月22日在国内正式上市,为消费者…
-
亚马逊将在英国测试无人机送货
鞭牛士报道,8月16日消息,据外电报道,作为监管机构对该技术评估的一部分,亚马逊 ( AMZN ) 已被选中在英国测试消费者无人机送货服务。 英国民航局(CAA)周四表示,亚马逊是…
-
TP-Link Deco AX3000 WiFi 6 Mesh系统,美国亚马逊限时特惠,仅需126.99美元,享受73美元折扣!
在家庭网络的世界中,WiFi信号的稳定性和覆盖范围一直是用户关注的焦点。TP-Link的Deco AX3000 WiFi 6 Mesh系统以其强大的功能和优惠的价格,在美国亚马逊上…
-
三星卢泰文:平板、手机、笔记本等所有移动设备明年将引入Galaxy AI
IT之家 10 月 26 日消息,韩媒 koreaherald 于 10 月 24 日发布博文,报道称本周三举办的 Town Hall 活动中,三星 MX 部门总裁卢泰文重申公司目…
-
RTX 5070 Ti核心猛增至8960个:功耗略增至300W
快科技11月22日消息,RTX 50系列发布越来越近,规格参数也逐渐浮出水面,这次就看到了RTX 5070 Ti。 根据曝料,RTX 5070 Ti将采用次旗舰核心GB203,配备…
-
微软Microsoft推出Windows 11 Dev预览版Build 23615:支持USB 80Gbps
微软Microsoft近日向 Windows 11 Dev 预览版用户推送了 Build 23615 更新,这次更新主要增加了 USB 80Gbps 支持,并改进了共享菜单。此外,…
-
三星Galaxy Fit3健身手环曝光:1.61英寸屏幕、满电续航13天
IT之家 1 月 31 日消息,根据三星官网偷跑的页面信息,三星 Galaxy Fit3 健身手环尺寸为 93 x 9.5 x 24 毫米,表壳提供灰色、银色和粉金色三种颜色。 表…
-
苹果官宣5月7日举办特别活动,或发布新款iPad与Apple Pencil 3
科技巨头苹果公司今日正式宣布,将于5月7日晚上10点举办一场备受瞩目的特别活动。虽然苹果历来保持神秘,不提前透露太多发布会细节,但邀请函的插图及CEO蒂姆·库克的社交媒体暗示均指向…
-
联想Lenovo IdeaPad Gaming 3在美国亚马逊可以省110美元,仅售590美元!
联想Lenovo IdeaPad Gaming 3是一款性能卓越、配置齐全的笔记本电脑,其折扣非常大,目前美国亚马逊正在开展一项优惠活动,您可以以590美元的价格购买该产品,可以享…
-
iQOO Neo11搭载2K 144Hz珠峰屏:同档最贵
快科技10月24日消息,iQOO产品经理罗佳慧预热iQOO Neo11,该机配备2K 144Hz珠峰屏,是同档位最贵的手机屏幕。 罗佳慧表示,屏幕是玩家最看重的配置之一,因为成本挑…
