IT之家 3 月 1 日消息,根据美国商标和专利局(USPTO)近日公示的清单,苹果公司获得了一项关于 Vision Pro 头显的专利,表明未来头显将会配备风扇,一方面可以为用户降温,另一方面可以吹走多余的灰尘。

这项专利名称为《减少碎屑的风扇》,主要装备在 Vision Pro 等头显设备上,及时带走运行期间产生的热量。
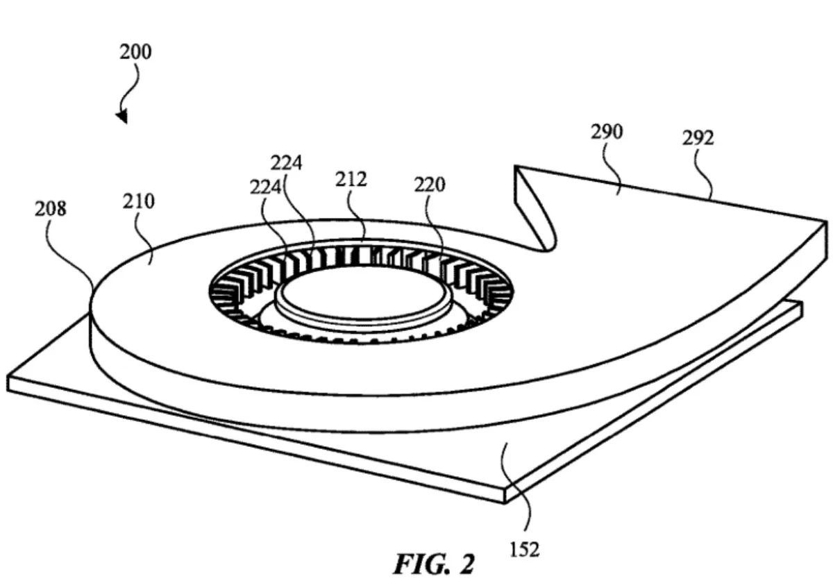
苹果在专利中表示长时间的过热会损坏头显组件,并给用户带来不适。IT之家附上苹果设计专利草图,通过在头显设备中嵌入主动散热装置(如风扇、空气增流器鼓风机等),可以在小巧外形尺寸下实现有效散热。
苹果表示可以在头显内部设计散热通风通道,及时带走头显组件运行时产生的热量,而且可以吹走进入头显内部的颗粒或其他碎片。
风扇可以包括开口,让微粒从风扇中排出。风扇的固定部件(如风扇外壳)和运动部件(如转子、叶轮等)之间的间距可以调节,以避免颗粒聚集。此外,风扇还可包括一个粘合垫,用于在不影响叶轮运行的位置收集和保留颗粒。
文章来源于互联网:凤凰网-苹果Vision Pro头显新专利:内嵌风扇,降温组件、吹走灰尘
相关推荐
-
开发过任务管理器的微软前员工吐槽 Windows“糟糕透了”,并给出修复方案
IT之家 11 月 11 日消息,戴夫・普拉默(Dave Plummer)是微软前资深工程师,在业界颇具声望,曾主导开发多项 Windows 核心组件,包括任务管理器(Task M…
-
大疆旗下首款扫拖机器人DJI ROMO官方微博上线,预计产品本月内发布
IT之家 6 月 21 日消息,大疆旗下首款扫拖机器人 DJI ROMO 近期已曝光多次,而目前相应产品的官方微博已上线,认证为“深圳市睿炽科技有限公司”,暗示这款扫拖机器人将在近…
-
苹果发布macOS 14.5开发者预览版Beta 3,重点修复FaceTime及iPad应用问题
苹果公司于今日向全球Mac电脑用户推送了macOS 14.5开发者预览版Beta 3的更新,此次更新距离上次发布仅隔7天。新版本的内部版本号为23F5064f,主要聚焦于修复一系列…
-
PS5原生运行PS3游戏指日可待?索尼新专利曝光
IT之家 7 月 1 日消息,索尼最近提交的一项专利可能为 PlayStation 5 将向后兼容 PlayStation 3 游戏的传言提供了进一步佐证。PS5 在 2020 年…
-
Apple Watch Ultra 3专属,苹果推送watchOS 26.0.1更新
IT之家 9 月 20 日消息,科技媒体 9to5Mac 昨日(9 月 19 日)发布博文,报道称苹果推送 watchOS 26.0.1 系统更新,但这次的推送范围极为有限,仅面向…
-
vivo Pad3 Pro平板参数曝光:支持多终端深度互联、通信共享,定位定价上升
IT之家 3 月 5 日消息,博主 @数码闲聊站 于今日曝光了 vivo Pad3 Pro 平板电脑的软硬件信息。 爆料称,OriginOS4 将针对 vivo Pad3 Pro …
-
三星为Samsung Galaxy A23 4G和Galaxy Tab S6 Lite (2022)推出基于Android 14的One UI 6更新
近日,三星Samsung为旗下的Galaxy A23 4G和Galaxy Tab S6 Lite (2022年)设备推出了基于Android 14的One UI 6更新。这一更新旨…
-
微软Surface Laptop 6上手体验:智能与性能的完美融合
在微软昨日举办的Build开发者前瞻大会上,全新的Surface Laptop 6以其独特的魅力和强大的性能,成为了全场瞩目的焦点。这款笔记本电脑不仅继承了Surface系列一贯的…
-
基于开源鸿蒙打造!王成录:KaihongOS桌面版将支持X86架构设备运行
快科技5月26日消息,日前,深开鸿正式发布全国首款面向开发者的开源鸿蒙学习平台——开鸿Bot系列产品。 Bot系列产品搭载KaihongOS桌面版,是首个基于开源鸿蒙的桌面操作系统…
-
RTX 3050 6GB正式发布:无需外接供电的真“亮机卡”
快科技2月2日消息,NVIDIA今天正式发布了RTX 3050 6GB,目前最低端的型号,但并非RTX 3050 8GB去掉了一部分显存,而是全方位缩水。 RTX 3050 8GB…
