IT之家 3 月 15 日消息,根据美国商标和专利局(USPTO)3 月 14 日公示的清单,苹果公司获得了一项 Apple Watch 相关技术专利,表明苹果公司正在探索更多的交互手势。

苹果在 watchOS 10.1 更新中,为 Apple Watch 引入了全新的“双指互点两下”手势,用户只需连续两次轻触戴表的那只手的食指与拇指,即可快捷地进行多项常用操作。

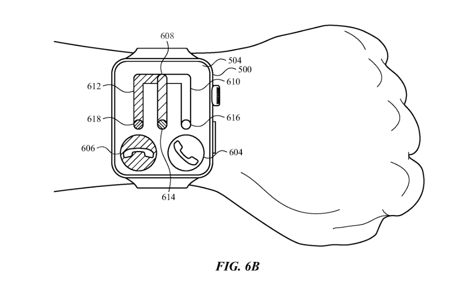
苹果在该专利中探索了多项交互手势,其中一项有趣的新手势是“side-to-side”,就是手掌平放,手指伸出,然后手指水平地左右移动。对于玩过二十一点的人来说,就会对这个动作很熟悉,因为这等同于告诉发牌员你要弃牌。

苹果表示“side-to-side”手势可用于回复短信或接听电话,并可与其他手势结合使用。
苹果在专利中另一个手势是握紧拳头,成为了许多新用户界面元素的核心。和“双指互点两下”手势类似,握紧拳头可以选择按钮或接受建议的文本回复。握紧拳头并旋转手腕,可以滚动浏览建议回复,或决定是接听电话还是将其发送到语音信箱。









文章来源于互联网:凤凰网-专利表明苹果正探索Apple Watch更多新手势:握拳、摊掌等
相关推荐
-
惠普HP 15英寸笔记本在美国亚马逊可以省161美元,仅售318美元!
惠普HP 15英寸笔记本是一款性能卓越、设计精良的笔记本电脑,其折扣非常大,目前美国亚马逊正在开展一项优惠活动,您可以以318美元的价格购买该产品,可以享受161美元的折扣。 HP…
-
平板更新潮:苹果iPad 11、iPad mini 7今年有望亮相
据外界称,苹果预计将在今年秋季推出两款新iPad机型,且有可能会在9月iPhone发布会中一同亮相;这两款机型包括入门款iPad 11与iPad mini 7,因为这两款已有超过两…
-
苹果发布 macOS 14.5 RC 更新,为用户带来新体验
近日,苹果向全球Mac电脑用户推送了最新的macOS 14.5 RC更新(内部版本号:23F79),此次更新距离上次发布已经过去了66天。此次RC(Release Candidat…
-
微软Sky Cipher特别版Xbox游戏手柄曝光:蓝色半透明外观
IT之家 7 月 23 日消息,博主 @billbil-kun 曝光了微软 Xbox Sky Cipher 特别版游戏手柄的部分信息。 这款手柄将采用蓝色、略微透明的外观,类似于我…
-
轻薄机身也有大续航!OPPO Find N5 续航表现实测
智能手机不仅承载着我们的日常沟通需求,更成为了娱乐、工作、学习等多方面的全能助手。然而,随着功能的增加,手机的电池续航能力成为了消费者关注的焦点。特别是在折叠屏手机领域,如何在保持…
-
苹果watchOS 11带来惊喜功能:Apple Watch终于支持更换铃声
IT之家 6 月 18 日消息,watchOS 11 系统为 Apple Watch 用户带来了众多新功能,涵盖健康追踪、健身增强、实时活动、翻译应用以及新表盘。然而,除了 WWD…
-
苹果AirPods(第三代)在法国Cdiscount这样买,可以省30欧元,仅售179.00欧元
在法国Cdiscount商城,购买AirPods的第三代版本有优惠,原价209.00欧元,优惠30欧元,仅售179.00欧元(包括0.02欧元增值税),喜欢的朋友可以看看。 App…
-
苹果iPhone 17 Pro Max拆解,确认采用高通骁龙X80 5G调制解调器
IT之家 9 月 20 日消息,根据 @杨长顺维修家 抖音直播拆解视频,发现苹果 iPhone 17 Pro Max 搭载了高通的骁龙 X80 调制解调器,这一发现印证了外界猜测,…
-
红龙Redragon机械游戏键盘在美国亚马逊可以省5美元,仅售29.99美元!
红龙Redragon机械游戏键盘是一款多种优秀特点的机械键盘,其折扣非常大,目前美国亚马逊正在开展一项优惠活动,您可以以29.99美元的价格购买该产品,可以享受5美元的折扣。 红龙…
-
苹果Vision Pro国行即将发售,买美版的却多了:差了一部iPhone 15 Pro Max
快科技6月17日消息,苹果Vision Pro国行版即将于6月28日正式发售,然而在国行版预购开启前不久,不少消费者却选择购买价格更低的美版Vision Pro。 据报道,美版Vi…
