IT之家 3 月 16 日消息,根据美国商标和专利局(USPTO)近日公示的清单,苹果获得了一项关于 iPad 的专利,表明未来 iPad 任意一侧都配有磁性表面,不仅可以给 Apple Pencil 充电,而且还能连接其它配件。


根据苹果专利设计草图,未来 iPad 可以通过磁性连接妙控键盘,通过“咔嗒”一声安装到位。

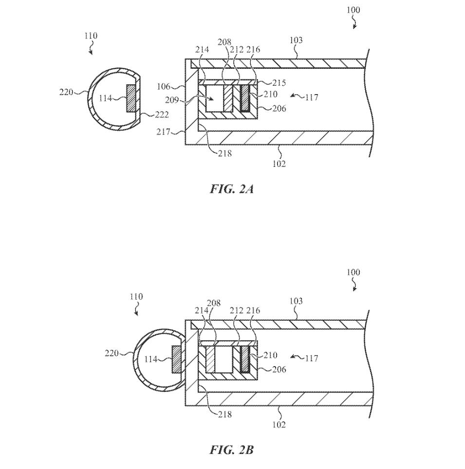
IT之家从报道中获悉,苹果在专利中虽然没有提供专利草图,不过在专利中表示可以通过磁性连接手柄等相关配件,例如像 Switch 游戏的 Joy-Con 手柄一样,在平板两侧磁性连接手柄,让 iPad 成为游戏掌机。
文章来源于互联网:凤凰网-苹果iPad新专利:可磁性连接手柄变身游戏掌机
相关推荐
-
苹果又降价,iPhone在中国真的卖不动了?
iPhone 16系列新品批量出货仅2个多月,苹果已经启动第2次官方降价促销。 2025年1月4日,苹果微信公众号公布了名为“叱咤福利”的新年促销活动,1月4日至7日限时4天,全线…
-
微软Win11 24H2 RP 26100.2152预览版发布:开始菜单可查看安卓手机电量等,修复sfc/scannow命令问题
IT之家 10 月 11 日消息,微软公司昨日(10 月 10 日)发布新闻稿,面向 Release Preview 频道的 Windows Insider 项目成员,发布了适用于…
-
Ambrane3合1数据线充电线在印度亚马逊可以省150卢比,仅售249卢比!
Ambrane3合1数据线是一款性能出色、超耐用的充电线,其折扣非常大,目前印度亚马逊正在开展一项优惠活动,您可以以249卢比的价格购买该产品,可以享受150卢比的折扣。 Ambr…
-
荣耀WIN新机官宣全系支持185Hz超高刷游戏体验
IT之家 12 月 25 日消息,荣耀手机官方今日宣布,WIN 系列新机全系支持 185Hz 超高刷游戏体验。这意味着新机将配备 185Hz 超高刷屏。 值得一提的是,昨日有爆料称…
-
全新小米平板8系列配备11.2英寸旗舰屏幕,9月25日发布
IT之家 9 月 22 日消息,小米公关负责人王化今日分享,全新小米平板 8 系列定档 9 月 25 日发布,将配备 11.2 英寸旗舰屏幕,并具备如下优势: 3.2K 分辨率 +…
-
SGIN 15.6英寸笔记本电脑在加拿大亚马逊可以省450美元,仅售309.99美元!
SGIN 15.6英寸笔记本电脑是一款功能齐全、性能卓越的移动产品,其折扣非常大,目前加拿大亚马逊正在开展一项优惠活动,您可以以309.99美元的价格购买该产品,可以享受450美元…
-
荣耀MagicOS 10.0系统将支持“晕动舒缓显示”乘车自动开启、自定义颜色等特性
IT之家 10 月 7 日消息,荣耀 Magic 系列旗舰手机系统工程师 @荣耀曹工 今日在微博介绍了 MagicOS 10.0 系统的「晕动舒缓显示」功能。据称,该功能将新增支持…
-
Counterpoint:2025年下半年全球智能眼镜出货同比剧增139%,Meta独占82%份额
IT之家 2 月 27 日消息,Counterpoint Research 今晚公布的数据显示,2025 年下半年全球智能眼镜出货量同比增长 139%,其中 AI 智能眼镜成为绝对…
-
苹果Beats Solo 4耳机渲染图曝光:续航50小时、没有主动降噪
IT之家 4 月 20 日消息,德国科技媒体 WinFuture 近日发布博文,分享了苹果 Beats Solo 4 无线耳机的相关信息,表示会有磨砂黑、板岩蓝、云朵粉三种颜色,依…
-
业内人士:任天堂Switch 2性能达不到索尼PS4 Pro水平
IT之家 1 月 2 日消息,最近关于任天堂下一代游戏主机 Switch 2 的各种传闻甚嚣尘上,其中“性能比肩 PS4 Pro”的说法一度引发热议。然而,一位业内资深人士的表态,…
