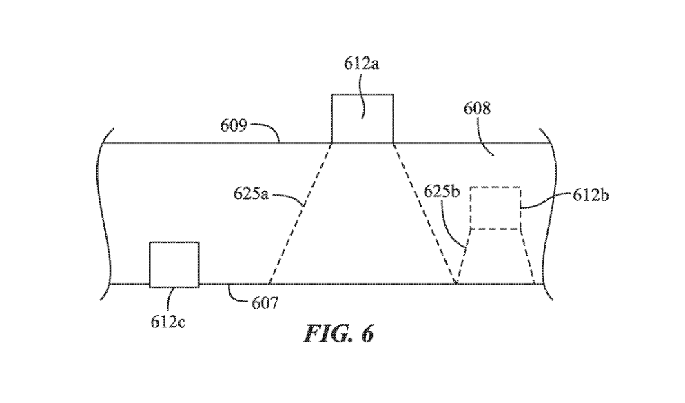
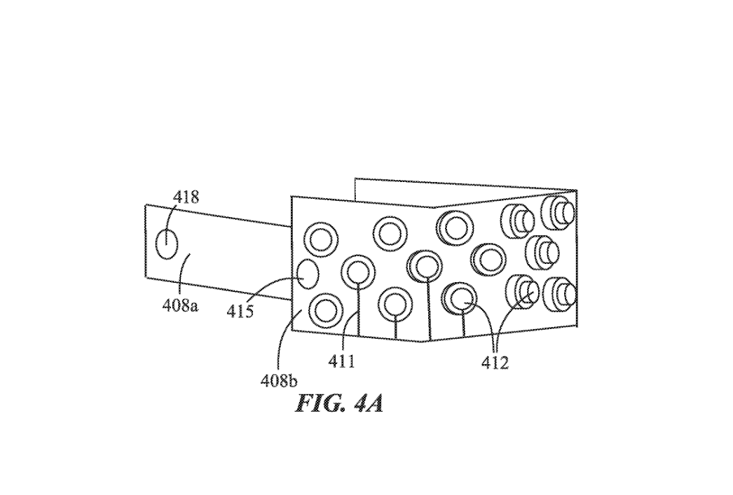
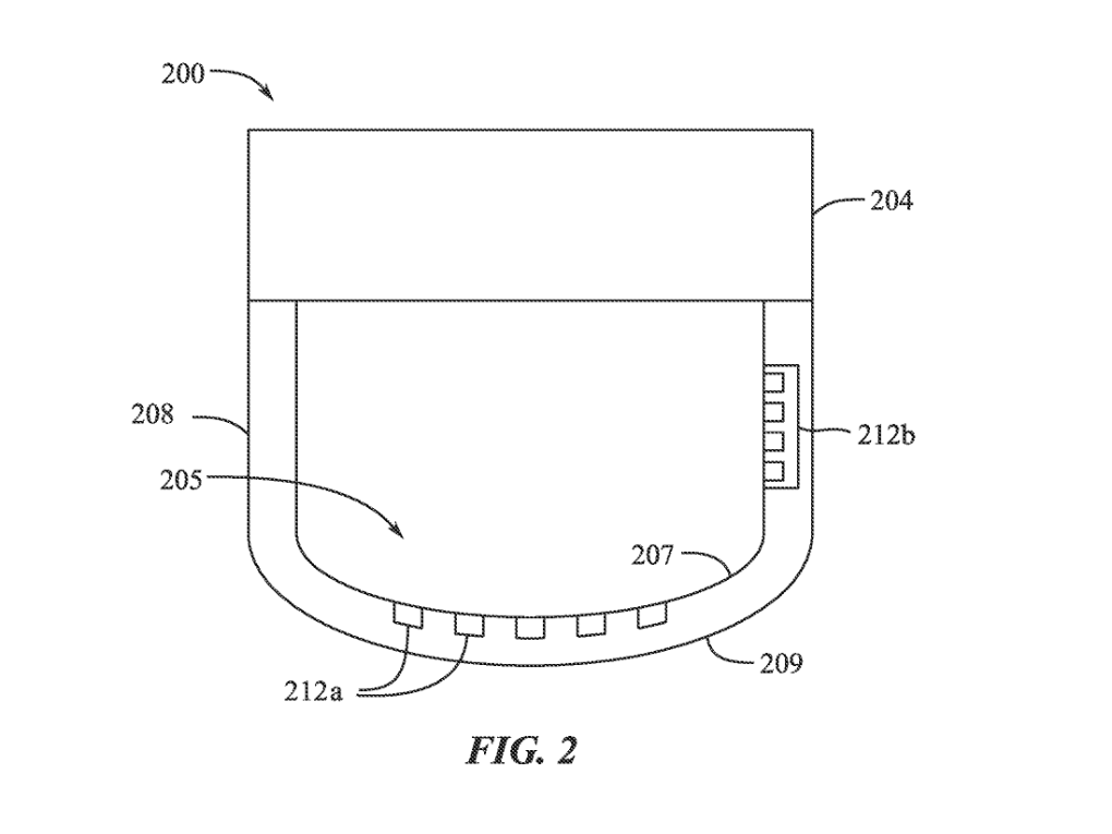
IT之家 3 月 22 日消息,根据美国商标和专利局近日公示的清单,苹果公司近日获得了一项关于 Vision Pro 头显的技术专利,内置传感器可以读取佩戴者脑电波,用于改善心理健康、辅助训练和锻炼,并帮助调整心态。
IT之家附上专利截图如下:

苹果在专利中构想了未来的 Vision Pro 头显,引入了一个无创的神经接口,可以读取佩戴者的脑电波信号,并监测心脏、肺部和大脑区域,并基于某些情境提供更丰富的交互体验。
苹果在专利中明确这种方式无法直接读取用户的想法,但它可以收集数据,推动与健康有关的活动,例如在学习过程中大脑是否存在分心情况,在玩游戏过程中基于脑电波数据判断是否出现恐慌反应等等。

苹果表示这项专利的核心应用和目的是改善佩戴者的身心健康,并希望未来能制造出一种基于治疗的设备,供医疗和心理健康从业者使用。

另一个可能的应用是利用传感器反馈,帮助有多动症或者其它问题的学生提高注意力和理解力。
该专利描述了在设备的头带中嵌入传感器,以监测不同的大脑区域。头带可有效检测体温、脉搏数据、呼吸频率和血压。

相关推荐
-
Panasonic KX-TGB850B:美国亚马逊限时特惠,仅售49.99美元!
在寻找家用或办公室电话系统时,Panasonic KX-TGB850B提供了一个坚固的基座单元和一个轻巧的无线手持设备,是一个理想的选择。目前在美国亚马逊上,这款电话系统正在进行限…
-
不要把华为小米苹果手表贴在高铁玻璃上,我真劝你别手痒
话说,每年冬天能见证人类“悲欢”的东西,铁栏杆算一个。 在一句“冬天铁栏杆是甜的”刺激下,不知有多少人曾去亲身品味铁栏杆有多甜蜜诱人;结果,事前笑嘻嘻、事后哭唧唧,一个个都把舌头粘…
-
三星Galaxy Tab S8 Ultra美国百思买优惠来袭 优惠400美元起
近日,全球知名电子产品零售平台百思买宣布,对三星Galaxy Tab S8 Ultra平板电脑进行大幅降价,其中8/128GB版本仅需700美元,而12/256GB版本也仅需750…
-
“含住”Beats Pill音箱:苹果联合推出“Vear熊”限量套装
IT之家 8 月 19 日消息,科技媒体 MacRumors 昨日(8 月 18 日)发布博文,报道称苹果和日本艺术家 VerdY 合作,推出全新限量版 Beats Pill 音箱…
-
红龙Redragon机械游戏键盘在美国亚马逊可以省5美元,仅售29.99美元!
红龙Redragon机械游戏键盘是一款多种优秀特点的机械键盘,其折扣非常大,目前美国亚马逊正在开展一项优惠活动,您可以以29.99美元的价格购买该产品,可以享受5美元的折扣。 红龙…
-
微星展示PROJECT ZERO X背插概念整机:四面玻璃海景房,主板后置 I/O 背出
IT之家1 月 8 日消息,微星在 CES 2025 展会现场展出了一款设计独特的概念整机 PROJECT ZERO X,将背插连接概念发展到了一个新层次。 微星 PROJECT …
-
诺基亚贝尔实验室公布PatchKeeper生物传感器,人类宠物家电都能用
IT之家 12 月 9 日消息,诺基亚贝尔实验室现公布一款名为 PatchKeeper 的可穿戴生物传感器,旨在展示实时健康监测与诊断的未来。 据悉,这款设备配备电子听诊器(ES)…
-
三星Samsung Galaxy Tab S6 Lite美国亚马逊假日优惠150美元,售价199.99美元
三星 Galaxy Tab S6 Lite 是一款功能强大的平板电脑,目前在美国亚马逊的售价为199.99美元,比原价优惠了150美元。这款平板电脑具有时尚的金属设计,轻薄便携,可…
-
苹果发布HomePod 17.4 RC更新:移除“默认服务”选项,Siri记忆用户选择调用第三方应用
IT之家 3 月 5 日消息,苹果公司今天发布 macOS 14.4 RC、watchOS 10.4 RC 版本更新的同时,还发布了 tvOS 17.4 RC 以及 HomePod…
-
OPPO Reno 13系列搭载自研抢网芯片X1,宣称“一格信号流畅玩”
IT之家 11 月 21 日消息,OPPO Reno 13 系列手机将于 11 月 25 日 19:00 发布,官方称该机搭载自研抢网芯片 X1,“手机能抢网,一格信号流畅玩”;游…
