IT之家 3 月 25 日消息,微软在近期通过批准的一份专利中提出了一种新方法,通过 SSD 固态硬盘降低显存占用,从而在未来的 DXR API 更新中提供游戏的光线追踪性能。

在《光线追踪加速结构细节处理的系统和方法(Systems and methods for ray tracing acceleration structure level of detail processing)》中,微软指出其正在寻找存储解决方案,以实现更快的数据传输和细节处理。
IT之家附专利原文说明如下:
这些(光线追踪)加速结构现在正与其他数据(如几何图形和纹理数据)争夺存储空间(包括持久性存储空间(如闪存)和非持久性存储空间(如 RAM))。
加速结构在内存中所占份额的增加,导致系统对内存的需求大大增加。此外,为加速结构获取大量数据所需的带宽也相应变大。本文所述的系统和方法有助于最大限度地减少光线跟踪加速结构所需的空间。
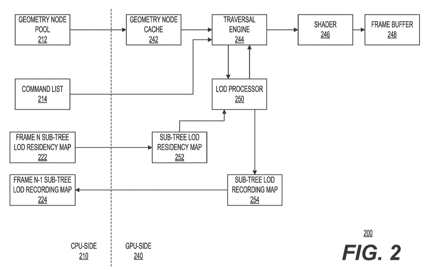
微软在专利中表示,一种解决方案是创建更易于管理的数据池,这些数据池可由软件控制,指向 LOD 池。它还指出,几何图形池可以通过 GPU 的命令列表设置,从批量存储中加载到主机内存中,以便进行光线追踪处理。

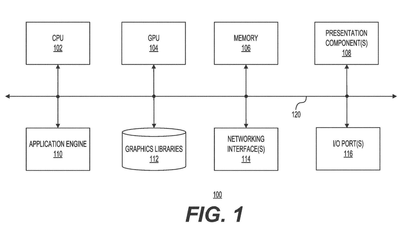
▲ 光线追踪结构加速系统结构

▲ 光线追踪 LOD 处理流程
外媒 WccfTech 表示,微软可能正计划对其 DXR API 进行更新,将 DirectStorage API 用于这些光线追踪工作负载所需的快速数据传输。随着 PCIe 5.0 固态硬盘的到来,消费级硬盘的速度显著提升,有利于新的光线追踪处理方法的发展,降低显存需求。
文章来源于互联网:凤凰网-微软新专利获批:利用固态硬盘提升光线追踪性能,降低显存占用
