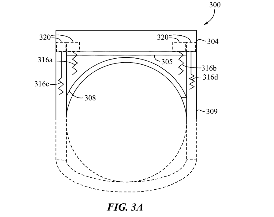
IT之家 3 月 26 日消息,根据美国商标和专利局(USPTO)近日公示的清单,苹果公司获得了一项关于 Vision Pro 头显的技术专利,暗示苹果计划未来在 Light Seal 中嵌入触控传感器,从而为佩戴者提供更丰富的交互体验。

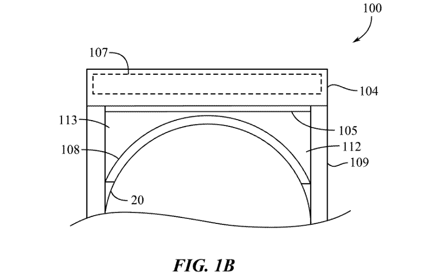
苹果现有 Light Seal 由柔软的纺织品制成,有各种形状和尺寸,可弯曲以贴合用户的脸部,该配件有助于阻挡外部光线,增强头显的沉浸式体验。
IT之家此前报道,苹果公司此前的专利中,就考虑在 Light Seal 中嵌入各种传感器,测量佩戴者体温、汗液、心率、心脏电信号(如心电图、心电图等)、额叶活动等指标,从而进一步分析佩戴者的反应或者参与度。
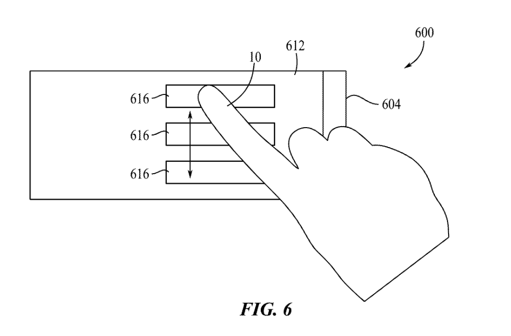
而在最新专利中,苹果构想将 Light Seal 设计成超大触控交互区域,在专利的一个示例中改用导电织物,内置传感器能够识别佩戴者的交互手势。






未来 Vision Pro 头显内置计算设备可以收集、分析佩戴者的触控手势,例如用户可以旋转、上下滑动等等,头显从而做出相应的交互。
文章来源于互联网:凤凰网-苹果Vision Pro头显新专利获批:Light Seal内嵌触控传感器,带来更丰富交互方式
相关推荐
-
华硕Z790-AYW OC WiFi主板:1SPC内存,液氮11150MT/s
原标题:华硕将推Z790-AYW OC WiFi主板:1SPC内存超频优化设计,液氮下可达11150MT/s IT之家 6 月 14 日消息,据法媒 Overclocking.co…
-
REDMI K90 Max王者开黑活动定档4月23日“刺痛”或带队
【CNMO科技消息】4月20日,小米中国区市场部总经理魏思琪宣布:4月23日晚6点,奥运冠军×KPL四冠射手,将会领衔带队,一起用K90Max峡谷开黑! REDMI K90 Max…
-
官宣:黑鲨冰封制冷背夹4定档3月25日发布
在游戏手机配件市场,黑鲨科技一直以创新的散热解决方案而备受关注。今日,黑鲨外设官方微博宣布,将于3月25日20:00举办新品发布会,推出全新的“黑鲨冰封制冷背夹 4”,旨在打造轻量…
-
小米官方上线“电池升级”服务,消息称可为Xiaomi 13系列手机更换更大容量电池
IT之家 4 月 15 日消息,小米官方目前已为部分机型上线了「电池升级」服务。据多位博主今日爆料,该服务可为 Xiaomi 13 系列手机更换更大容量的电池。 但目前,IT之家仅…
-
vivo S50 Pro mini手机官宣全球首批搭载第五代骁龙8移动平台
IT之家 11 月 19 日消息,vivo 通信科技有限公司产品经理韩伯啸今日宣布,vivo S50 Pro mini 手机全球首批搭载第五代骁龙 8 移动平台。新机定位“SSS …
-
微软Microsoft Win11 Snipping Tool新增形状标注功能 用户截图体验再升级
近日,微软Microsoft为Windows 11的Snipping Tool截图工具进行了升级,新增了添加形状到截图的功能。这项更新为用户提供了更多样化的截图编辑选项,进一步提升…
-
roborock石头A20值得入手吗?石头A20洗地机体验测评
新年之际,家庭大扫除是必不可少的。此时,一台具备全屋深度清洁和自清洁功能的洗地机就显得尤为重要。那么,你是否需要这样一款工具呢?对于清洁电器,大家的需求各不相同,但我的要求主要集中…
-
安卓史上第一款!三星三折叠屏亮相:跟华为方案有区别
快科技10月29日消息,三星在韩国展示了全新三折叠屏Galaxy Z TriFold,这是安卓史上第一款三折叠屏。 据悉,三星Galaxy Z TriFold在一个玻璃罩内展出,不…
-
100寸电视8999元,雷军:小米推动巨屏电视普及 网友喊话让进军房地产等
快科技4月11日消息,小米将100英寸智能电视的价格压到了8999元,这让很多网友感慨不已。 昨晚,Redmi发布了这款全新的100英寸巨屏电视,首发售价仅为8999元,相比上一代…
-
Google Chrome 121更新:新增AI功能提升用户体验
谷歌最近发布了Chrome浏览器的121版本更新,其中引入了两项基于人工智能的新功能:选项卡管理器和AI主题创建,同时还修复了17个安全问题。 选项卡管理器通过建议相似的选项卡组来…
