IT之家 3 月 27 日消息,根据美国商标和专利局近日公示的清单,苹果公司获得了一项关于充电系统的专利,可以模块化可拆卸电池,让设备更加灵活地应对各种使用场景。

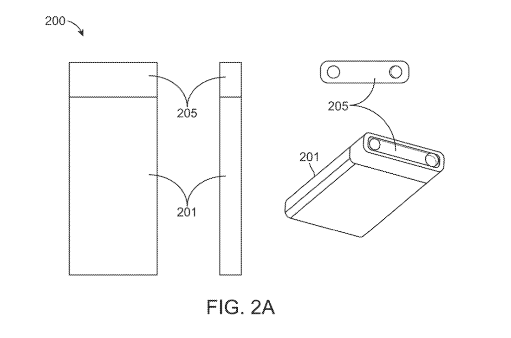
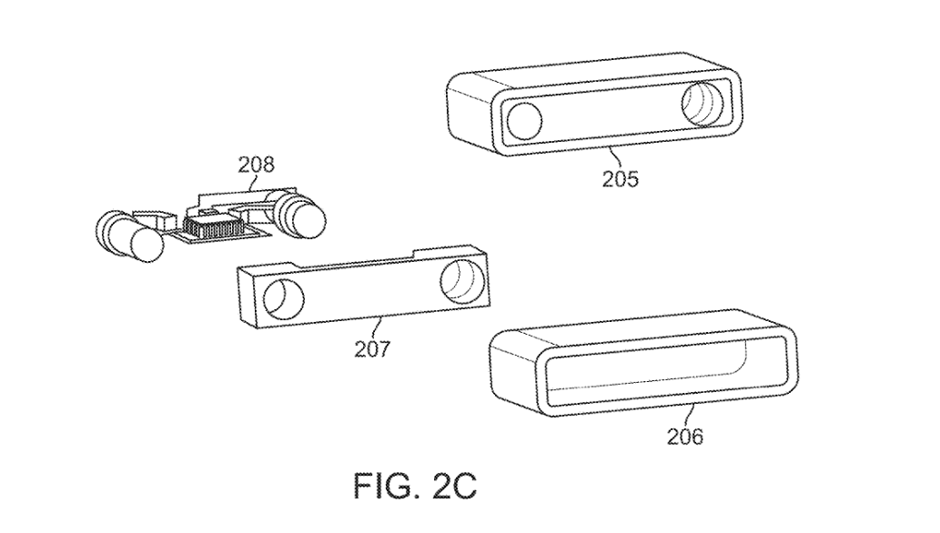
该专利全称是《充电系统和移动 / 配件设备》(Battery charging system and mobile and accessory devices),苹果为旗下的 Mac、妙控键盘、妙控鼠标、iPhone 等设计可拆卸电池,用户只需要更换电池模块,就能满足设备的灵活使用需求。
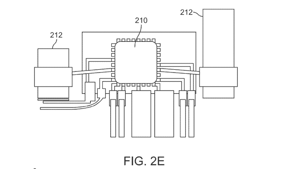
苹果在专利中中概述了 A、B、C、D 等不同规格的模块可拆卸电池,根据苹果专利电芯部分采用常规的可充电电池,只是外层附上配有专用的接口,采用标准化连接。

该专利还描述了电池与充电站或主机之间的无线通信系统,可以监控和显示电池电量的同时实现无线充电,类似于 AirPods 电池在控制中心的显示方式。
从专利法的术语来看,通用电池标准似乎不仅能为设备供电,还能为 Mac 或其他 “主机” 提供检查电池状态所需的信息。这可能与 iPhone 显示 AirPods 或 AirTag 电池电量的方式类似,适用于任何使用这种电池系统的设备。
IT之家附上更多专利截图如下:







相关推荐
-
小米AI眼镜迎来1.2.31.0固件更新:新增支付宝“看一下支付”功能
IT之家 9 月 8 日消息,据网友反馈,小米 AI 眼镜迎来 1.2.31.0 正式版固件更新,新增了发布会上提到的支付宝“看一下支付”功能,用户可唤醒小爱协助扫码支付,便捷完成…
-
小米首款室外摄像机太阳能板发布:199元5W功率
原标题:199元 小米首款室外摄像机太阳能板发布:最高5W功率 快科技6月14日消息,今日,小米室外摄像机太阳能板在小米商城开售,售价199元。 这是小米首款专为室外摄像机推出的太…
-
宏碁Acer ICONIA P10-11-K5P5在加拿大亚马逊可以省50美元,仅售199美元!
宏碁Acer ICONIA P10-11-K5P5是一款性能卓越、功能齐全的便携式平板电脑,其折扣非常大,目前加拿大亚马逊正在开展一项优惠活动,您可以以199美元的价格购买该产品,…
-
639元 索尼宣布PS5《原神》限定版手柄明年1月21日上市
快科技12月19日消息,今日,索尼宣布,DualSense无线控制器《原神》限定版将于2026年1月21日在中国大陆上市,建议零售价639元,12月23日开启预售。 据了解,Dua…
-
1399元起 华为智选Hi MatePad 11.5英寸上架:骁龙7 Gen1支持鸿蒙生态
快科技12月15日消息,华为智选Hi MatePad 11.5英寸目前已在电商平台上架,到手价1399元起。 Hi MatePad 11.5英寸可选6GB+128GB、8GB+12…
-
消息称苹果iPhone 18 Pro手机“左上角打孔”系误传
IT之家 1 月 21 日消息,前 Counterpoint Research 副总裁罗斯 · 杨 (Ross Young) 发文,透露网传苹果 iPhone 18 Pro 系列手…
-
调整为年更?谷歌携手三星将推基于安卓14的Wear OS 5
IT之家 1 月 25 日消息,根据国外科技媒体 9to5Google 报道,谷歌正和三星公司展开合作,计划推出基于安卓 14 系统的 Wear OS 5 系统。 Wear OS …
-
戴尔Dell Vostro 3400笔记本在印度亚马逊可以省12899卢比,仅售65000卢比!
戴尔Dell Vostro 3400笔记本是一款超薄便携、性能卓越的笔记本电脑,其折扣非常大,目前印度亚马逊正在开展一项优惠活动,您可以以65000卢比的价格购买该产品,可以享受1…
-
AMD新一代Kraken Point APU性能曝光:采用8核CPU设计
近日,AMD宣布将推出采用台积电N4P制程的Kraken Point处理器,这是一款具有强大性能和前瞻性的产品。据多位消息人士爆料,这款处理器采用8核CPU设计,包括4xZen5和…
-
搭载新一代碳硅负极电池,兼容90W澎湃快充,酷态科15号超级电能卡Air评测
前言 近期,酷态科正式推出了“15号超级电能卡Air”,这款定位“新一代轻盈旗舰”的产品,凭借15000mAh大容量、GaN氮化镓技术与力神新一代碳硅负极电池的创新组合,以及多协议…
