IT之家 3 月 27 日消息,根据美国商标和专利局近日公示的清单,苹果公司获得了一项关于 iPhone 电池的专利,可以在不增加体积的前提下,提高电池容量,从而延长续航表现。
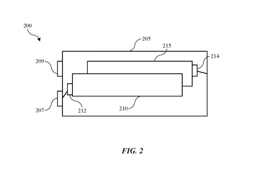
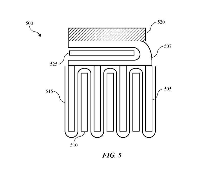
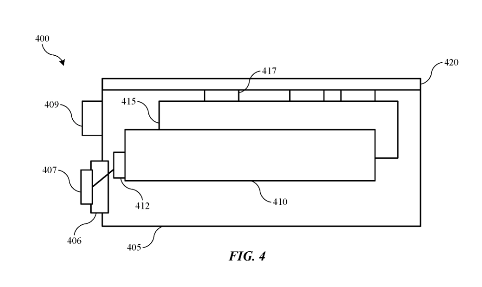
该专利于 2021 年 9 月提交,2024 年 3 月 26 日公示,专利名称为《带直角凸片的电池单元》(battery cells with tabs at right angle),详细介绍了电池技术的现状、挑战和突破方案。
苹果为了改善续航,在专利中研究了电池的隔膜、带折叠的隔膜以及耦合电池组件等方法,比现有方案进一步提高电池容量。
在专利中苹果还概述了通过调整位置的标签化方案,这意味着未来的 iPhone 电池不仅可以做得更大,还可以采用不同角度的连接器和标签,以帮助解决空间问题。

苹果在专利中描述:“其中一组连接器可以从表面沿第一方向延伸的接片,而另一组连接器可以包含与第一方向基本垂直的接片,这不仅可以解决空间限制的问题,还可以改善整个电池的电阻,从而提高电池的效率”。
IT之家附上更多专利草图如下:



广告声明:文内含有的对外跳转链接(包括不限于超链接、二维码、口令等形式),用于传递更多信息,节省甄选时间,结果仅供参考,IT之家所有文章均包含本声明。
文章来源于互联网:IT之家-苹果 iPhone 电池新专利获批:不增加体积前提下,改善续航表现
相关推荐
-
华米 Ov 们把手机电池搞得大大的,用户的焦虑症被治好了… 一半
话说,今年的国产旗舰手机,有一个特质很突出 —— 电池容量大。 除了少数几款标准版机型,大多新机的电池容量达到了 5500-6500mAh 级别,更有甚者超过了 7000mAh。 …
-
同档无敌!真我GT Neo6搭载5500mAh电池+120W组合:10分钟充一半
快科技5月9日消息,除了性能强劲之外,真我GT Neo6在续航和充电方面也做到了同档位天花板。 内置5500mAh超大电池,并配备有120W光速秒充,10分钟就能充入50%电量。 …
-
全球首发Android 15!谷歌Pixel 9系列官宣
快科技6月26日消息,谷歌通常会在10月份举行Pixel数字系列发布会,今年的情况跟以往大不相同。 谷歌宣布,将于8月13日举行Pixel活动,这场活动谷歌未提及任何设备。 但是在…
-
红魔 9S Pro 系列 AI 游戏手机官宣 7 月 3 日发布
IT之家 6 月 24 日消息,红魔今日官宣新品红魔 9S Pro 系列 AI 游戏手机将于 7 月 3 日 19:00 在红魔电竞宇宙新品发布会上发布。 IT之家注意到,除红魔 …
-
【IT之家评测室】一键快易超频,XPG 技嘉白曜雕联名龙耀 D500G 内存评测
无论是 DIY 爱好者还是普通 PC 玩家来说,内存超频带来的性能提升都颇具诱惑力。然而,内存超频往往都是风险与收获并存,内存对于系统的稳定性很重要,稍微失手就是蓝屏死机。所以内存…
-
HMD Global 海外推出诺基亚 215/225/235 三款 4G 功能机:S30+ 系统、1450 毫安时电池
IT之家 4 月 29 日消息,HMD Global 在肯尼亚举办发布会,推出了 2024 款诺基亚 215/225/235 三款功能机,不过没有公布价格信息。 IT之家注意到,这…
-
荣耀 Magic 8 新增超大杯 Ultra 产品线:超大底新主摄,AiMAGE 落地
感谢IT之家网友 顺势而为 的线索投递! IT之家 7 月 30 日消息,荣耀Magic7系列发布于 2024 年 10 月 30 日,其中荣耀 Magic 7 售价 4499 元…
-
realme 真我 Neo7 SE 手机三证齐全:天玑 8400-Ultra 处理器,下月发布
IT之家 1 月 20 日消息,一款型号为 RMX5080 的 realme 新机于 1 月 17 日通过 3C 认证,支持 80W 快充,预计为下月发布的真我 Neo7 SE 手…
-
消息称某厂第五代骁龙 8 至尊版超大杯新机搭载双 2 亿三摄方案,预计为 vivo X300 Ultra
感谢IT之家网友 Roronoa_、雨雪载途、顺势而为、Star2011、软媒新友2314428、会弹琴的九号、Autumn_Dream、软媒新友2543710、呵_女人、坚守阵地…
-
消息称三星 Galaxy S26 Ultra 手机长焦镜头将缩水,1000 万像素 1/3.94 英寸
感谢IT之家网友 ATM_ 的线索投递! IT之家 9 月 10 日消息,博主 @i冰宇宙 今天在微博透露了三星 Galaxy S26 Ultra 手机的最新情报。 博主表示,这台…
