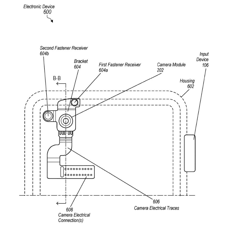
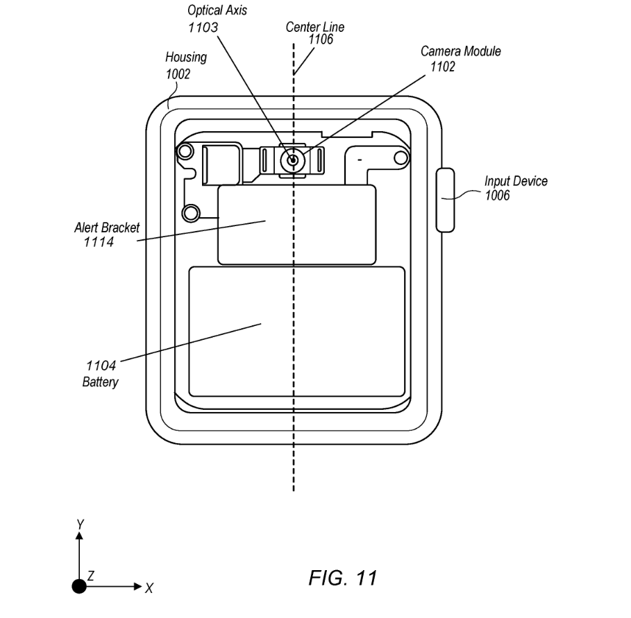
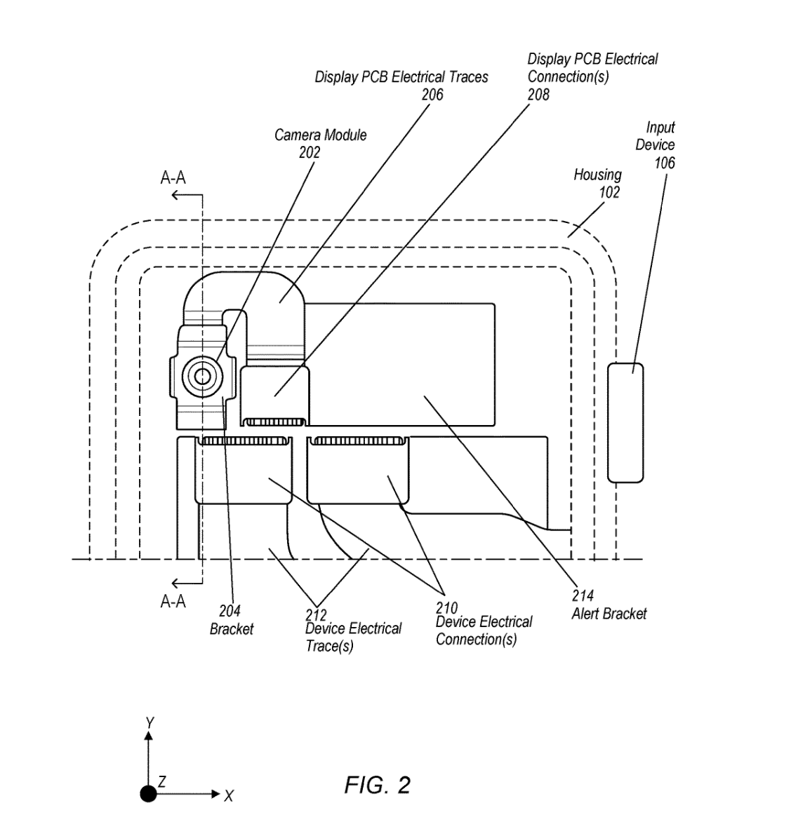
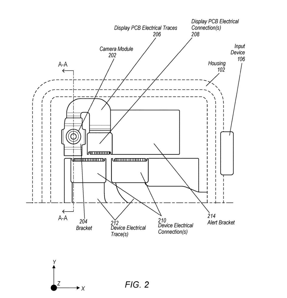
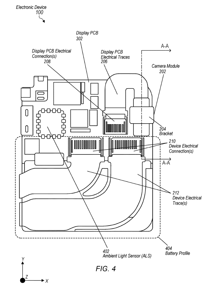
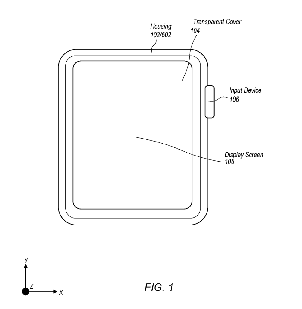
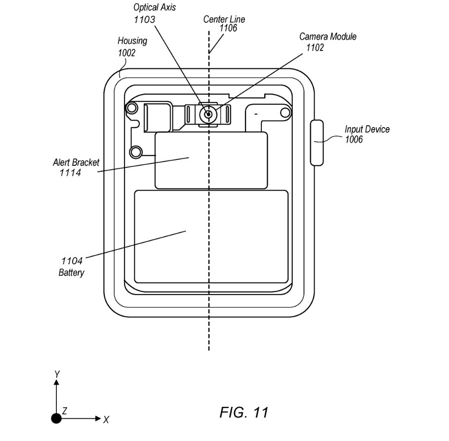
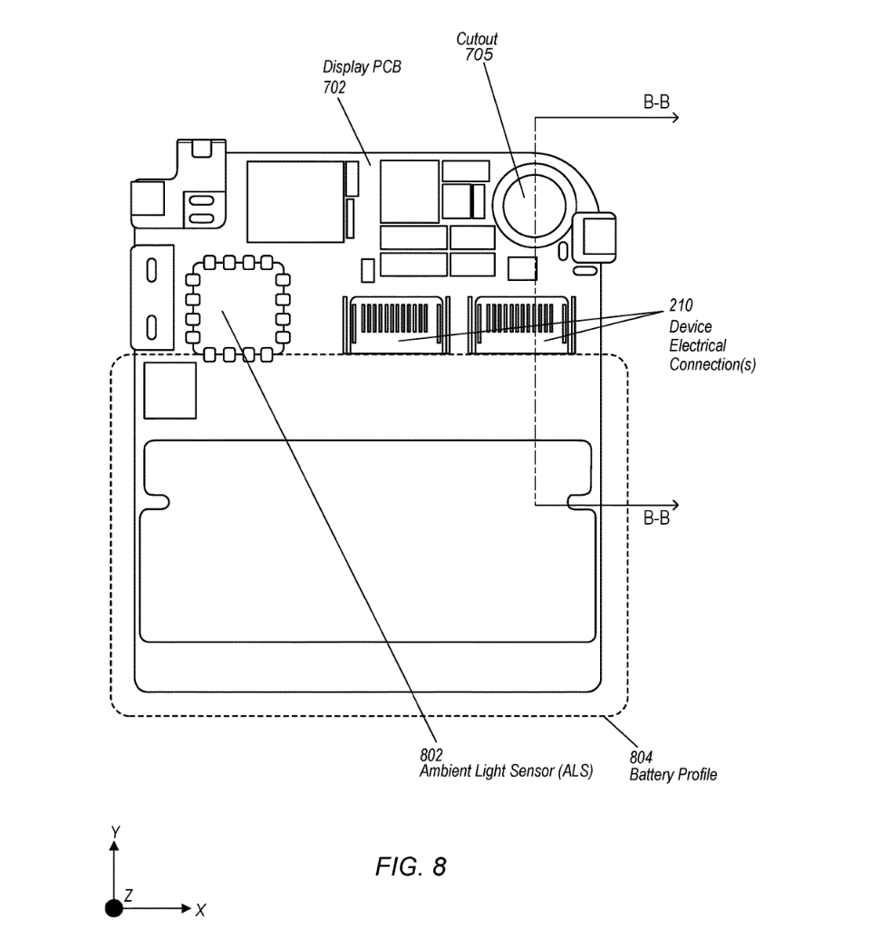
IT之家 3 月 29 日消息,根据美国商标和专利局(USPTO)近日公示的清单,苹果公司获得了一项关于 Apple Watch 的专利,重点展示了屏下摄像头解决方案,可以用于拍照、Face ID 以及追踪面部和物体等。

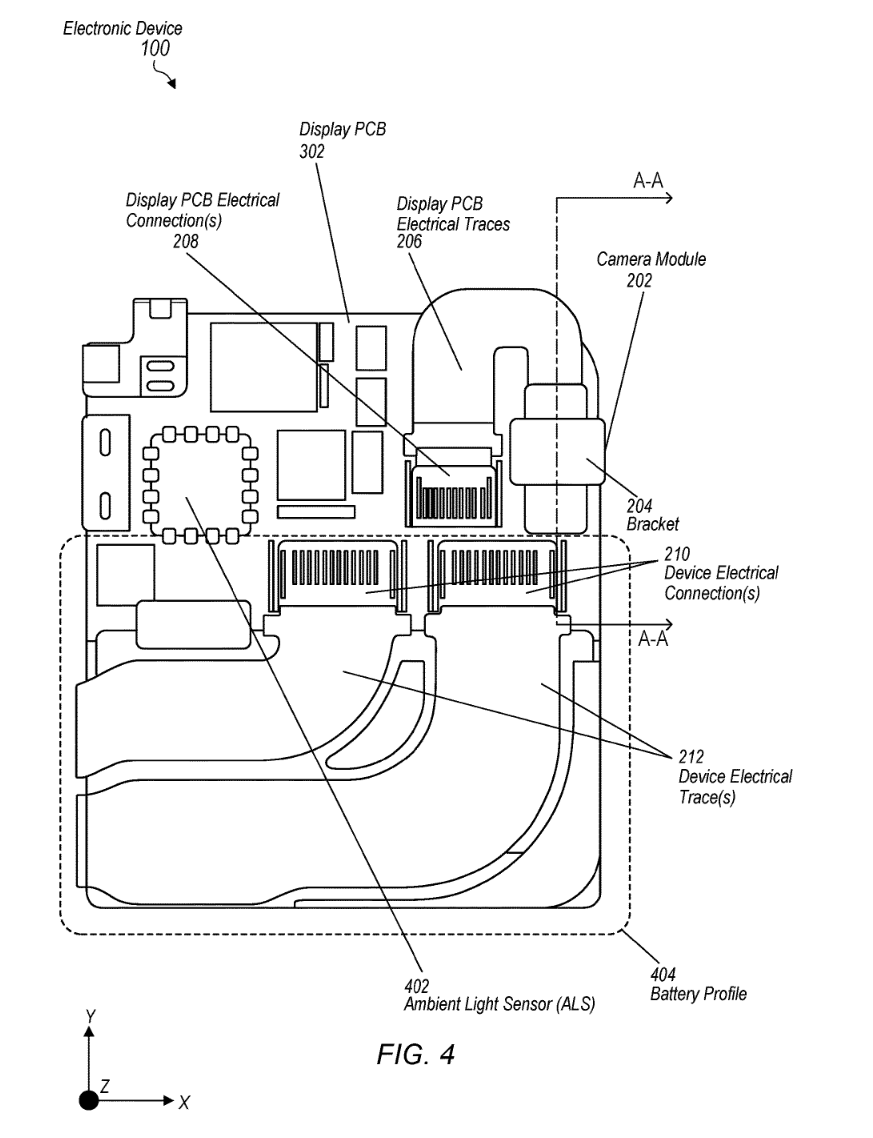
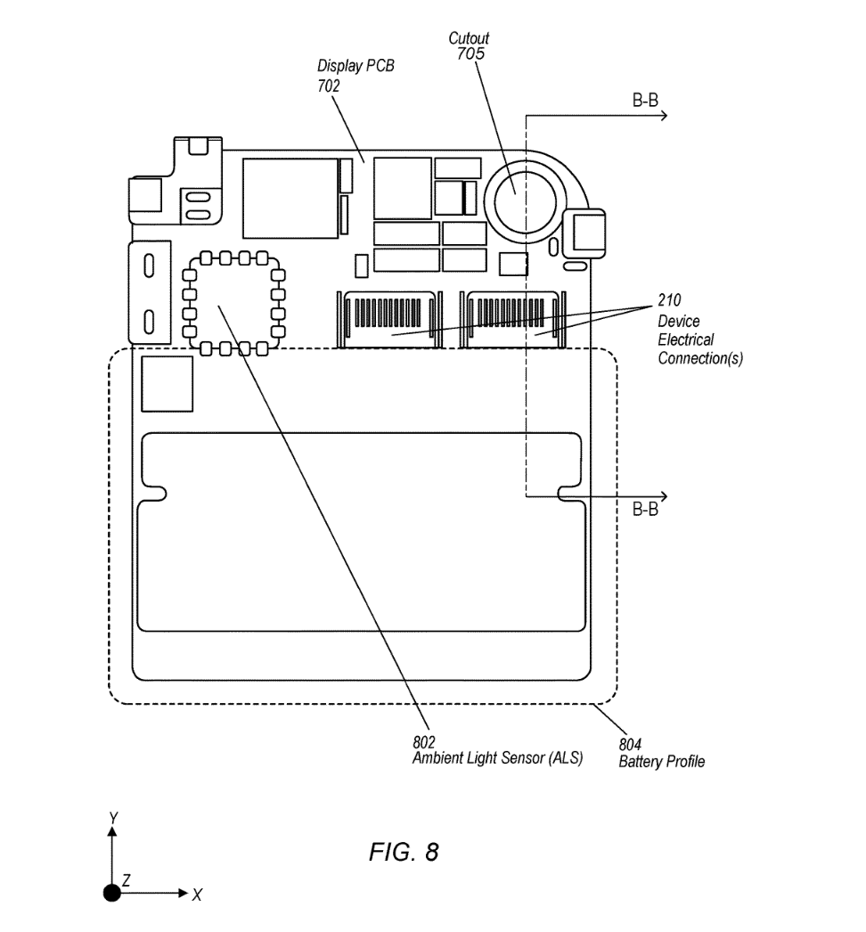
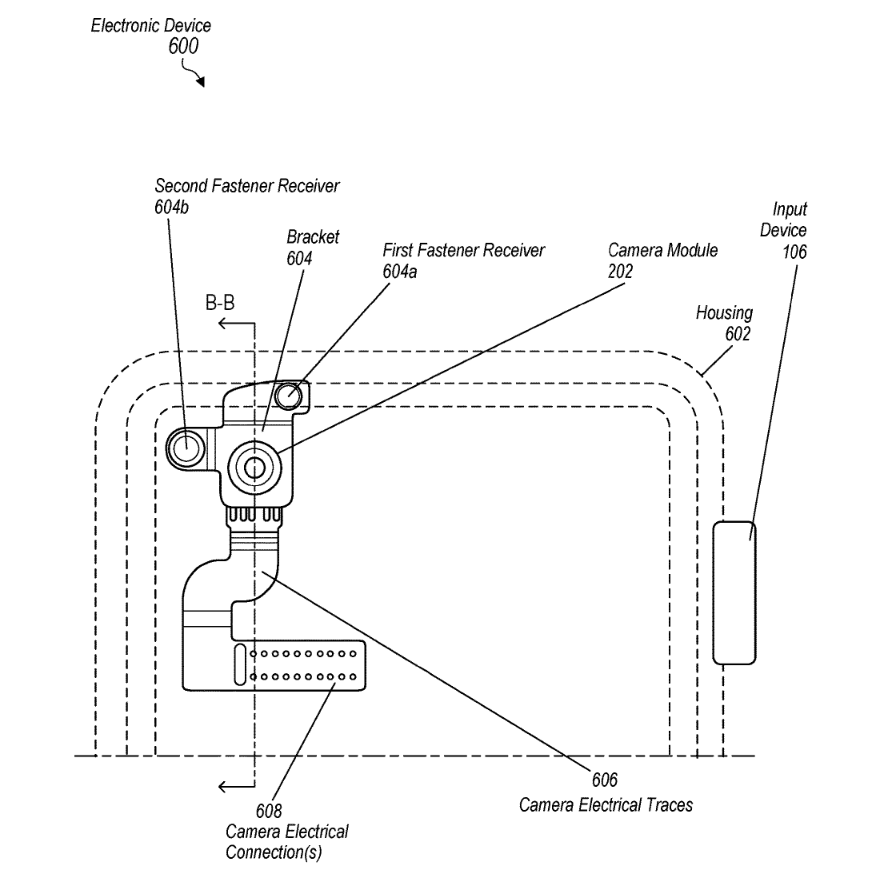
根据专利设计草图,摄像头可以隐藏在屏幕下方,显示面板可包括一个高透光区,在不影响日常使用的情况下,增加到相机模块的透光率。
高透光区域的大小可能取决于多个相机模块参数,包括视场角、入口瞳孔大小和位置、镜筒尺寸、F 数等。高透光区可与相机模块参数共同设计,以实现更小的高透光区和更好的相机模块性能。IT之家附上截图如下:









文章来源于互联网:凤凰网-苹果Apple Watch新专利获批:配屏下摄像头,可拍照、追踪面部等
相关推荐
-
Redmi Pad SE 8.7 4G平板通过认证,猜猜价格多少?
【CNMO科技消息】近日,CNMO注意到,小米新款平板电脑Redmi Pad SE 8.7 4G在印度标准局(BIS)的认证网站上通过了认证,型号标识为8.7RP4I,预示着这款平…
-
真我外观质感新巅峰!GT8 Pro设计细节公布 行业首创机械拼装+金属中框
快科技10月16日消息,今日,真我正式公布GT8 Pro外观设计细节,新机行业首创机械拼装设计,镜头Deco可拆、可拼、可换,提供方、圆、罗伯特三种形态。 据了解,真我GT8 Pr…
-
Quest 3跻身Steam VR头显排行榜第四,Meta占超六成市场份额
IT之家 1 月 3 日消息,根据最新 Steam 硬件和软件调查数据,Meta Quest 3 异军突起,在 2023 年 12 月份成为 Steam 平台上使用率第四高的 VR…
-
华为Mate X7/Mate 80系列手机不支持变更HarmonyOS 4/5系统
IT之家 11 月 25 日消息,华为 Mate X7 / Mate 80 系列手机已于今日正式发布,新机首发搭载鸿蒙 HarmonyOS 6 系统,拥有交互灵动粒子、通透质感材质…
-
三星Samsung Galaxy Watch6 Classic LTE在印度亚马逊可以省9729卢比,仅售38270卢比!
三星Samsung Galaxy Watch6 Classic LTE是一款功能齐全、设计精良的智能手表,其折扣非常大,目前印度亚马逊正在开展一项优惠活动,您可以以38270卢比的…
-
FUNYET 16英寸笔记本在美国亚马逊可以省50美元,仅售349.99美元!
FUNYET 16英寸笔记本是一款功能齐全、性能卓越的笔记本电脑,其折扣非常大,目前美国亚马逊正在开展一项优惠活动,您可以以349.99美元的价格购买该产品,可以享受50美元的折扣…
-
Blackview Tab 11 SE在加拿大亚马逊可以省18美元,仅售162美元!
Blackview Tab 11 SE是一款功能齐全、性能卓越的平板电脑,其折扣非常大,目前加拿大亚马逊正在开展一项优惠活动,您可以以162美元的价格购买该产品,可以享受18美元的…
-
追觅被曝将入局充电宝赛道,采用固态电池技术
IT之家 7 月 17 日消息,据蓝鲸新闻今日援引充电宝产业供应链人士消息,追觅科技即将入局充电宝赛道。 报道中该人士透露:“追觅科技已在与我们洽谈合作,合作模式为我们为其代工。目…
-
Mac用上iPhone芯 苹果将首次推出低价笔记本
MacBook Air 凤凰网科技讯 北京时间11月5日,据彭博社报道,苹果公司准备首次进军低价笔记本电脑市场,正开发一款平价Mac机型,以吸引目前使用Chromebook和入门级…
-
充电盒/本体外观焕新、有望内置心率/温度监测:苹果AirPods Pro 3耳机前瞻
IT之家 8 月 5 日消息,科技媒体 MacRumors 今天发文,结合此前传闻前瞻了苹果 AirPods Pro 3 耳机。 IT之家附前瞻预测要点如下: 一、耳机本体和充电盒…
