IT之家 4 月 2 日消息,根据美国商标和专利局(USPTO)近日公示的清单,苹果获得了一项关于 Vision Pro 的新专利,通过增强“专注模式”,减少佩戴者的分心情况。

根据专利描述,Vision Pro 上的“专注模式”可以根据佩戴者周围情况动态调整,让佩戴者变得更加沉浸到虚拟世界中。
苹果 Vision Pro 头显目前内置手动激活的“专注模式”,而最新专利名称为《在扩展现实环境中减少分心的操作模式》,希望更加灵活、动态地调整进入“专注的模式”,帮助佩戴者在长时间使用头显时能提高注意力。
苹果在专利中概述了一些实现方法,例如内置传感器,检测佩戴者是否达到预设的“专注模式”要求。头显可以通过读取专注状态和提供一系列专注模式选项,让用户更好地沉浸在空间计算内。
苹果在专利描述中写到:“开启专注模式后,系统可以使用第一组传感器接收用户周围物理环境的成像数据,并使用想象数据识别与所选分心类型相关联的目标对象”。
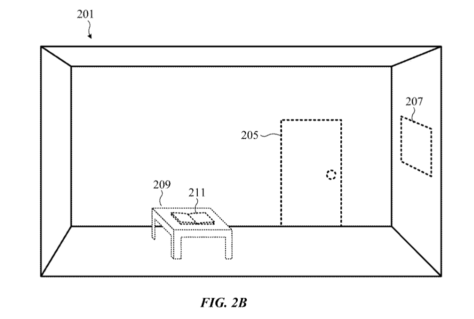
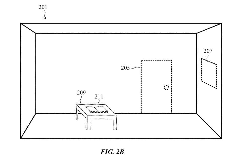
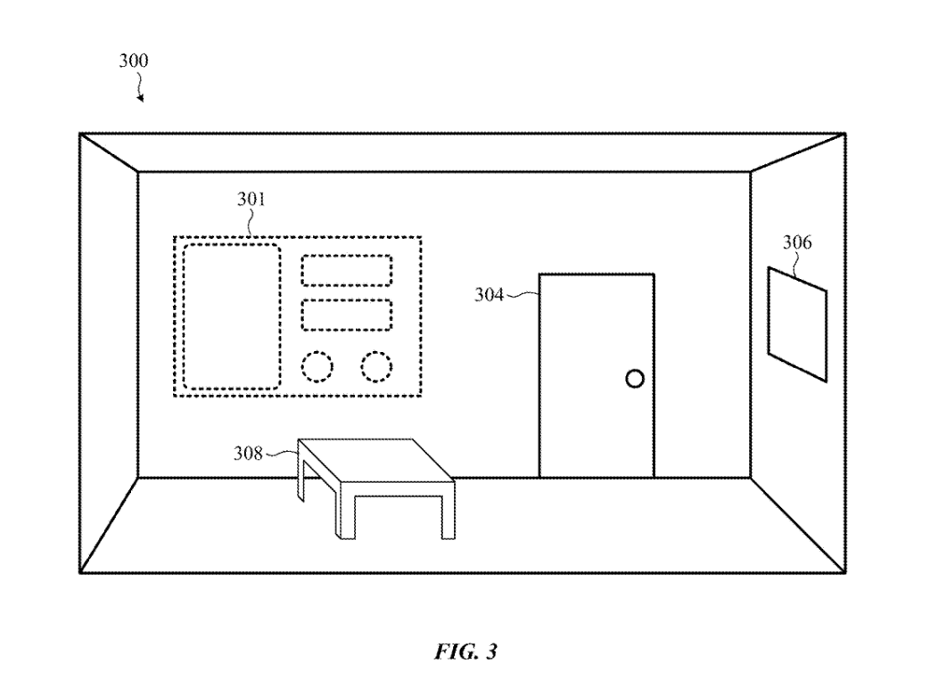
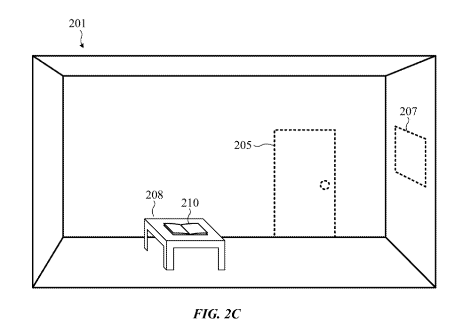
IT之家附上专利图如下,Vision Pro 未来开启专注模式之后,可以“隐藏”桌子、书本、窗户和门等物品。




文章来源于互联网:凤凰网-苹果Vision Pro头显新专利获批:基于周围环境动态增强“专注模式”
相关推荐
-
三星在韩国推出“睿宝”和“辉宝”双胞胎熊猫主题Galaxy Buds 2 Pro耳机
IT之家 2 月 19 日消息,三星近日发布新闻稿,宣布以 2023 年 7 月 7 日在韩国龙仁爱宝乐园熊猫世界出生的“睿宝”和“辉宝”为主题,在韩国市场推出“Galaxy Bu…
-
郭明錤:英伟达RTX 50显卡芯片供应紧张,RTX 5070/5060量产可能延至3月/4月
IT之家 2 月 13 日消息,分析师郭明錤北京时间今日凌晨表示,英伟达 GeForce RTX 50 系游戏显卡整体面临芯片供应问题,这导致已发布的 RTX 5090 / 508…
-
英特尔被曝确将推出Ultra 3 205处理器,仅限锁频有核显版本
IT之家 12 月 30 日消息,X 平台消息人士 포시포시 (@harukaze5719) 北京时间昨日分享了一份韩文的疑似英特尔官方宣传图片。该图显示酷睿 Ultra 3 20…
-
微软Microsoft为Teams应用带来大更新:界面更清晰,参会者人数翻倍
微软Microsoft近日宣布,将在本月下旬为旗下 Teams 应用带来一系列界面更新,旨在提升用户体验和会议效率。这些更新将随附于公开预览版本提供,让用户提前体验到新功能。 微软…
-
NVIDIA史上最强核弹来了!RTX 5090大曝光:核心面积暴增22%、功耗狂飙600W
快科技11月24日消息,经历Ampere、Ada两代GPU规模精简之后,RTX 5090再一次“膨胀”——不仅核心面积暴增了22%,功耗也一路飙升到600W。 据MEGAsizeG…
-
非永久停留USB 2.0,苹果Vision Pro头显USB-C适配器可解锁Thunderbolt
IT之家 2 月 14 日消息,国外科技媒体 9to5Mac 近日发布博文,表示适用于苹果 Vision Pro 头显的开发用 USB-C 适配器并非仅具备 USB 2.0 传输速…
-
很多人不知道苹果iCloud到底有什么用?学会这些技巧你就知道多好用了
许多用户使用Apple产品时,经常遇到“iCloud存储空间已满”尤其是使用iPhone手机,经常会出现这样的提示,让人非常困恼,为此为大家带来一些关于iCloud使用小技巧,学会…
-
AM5至少用三代!AMD Zen 6锐龙CPU接口不变:大家不用换主板了
快科技11月10日消息,据wccftech最新消息,AMD下一代基于Zen 6的锐龙台式机CPU将继续与AM5接口兼容,大家可以继续不用换主板了。 从爆料消息来看,AMD Zen …
-
Fitbit Versa 4在美国亚马逊可以省50美元,仅售150美元!
Fitbit Versa 4是一款全方位的健身智能手表,其折扣非常大,目前美国亚马逊正在开展一项优惠活动,您可以以150美元的价格购买该产品,可以享受50美元的折扣。 Fitbit…
-
华为首款开放式耳挂耳机!华为FreeArc官图发布
快科技5月17日消息,华为在2023年底发布了首款耳夹耳机华为FreeClip,至今依然是这个品类的体验天花板。 不过FreeClip更偏向于日常佩戴,走的时尚搭配路线,最新的华为…
