原标题:苹果MacBook Air/Pro新专利获批:键帽周围采用凹槽设计,减少对屏幕污染
IT之家 4 月 17 日消息,根据美国商标和专利局(USPTO)近日公示的清单,苹果公司获得了关于 MacBook Pro 键盘相关的专利,通过调整键盘上的按键结构,进一步保持屏幕清洁。

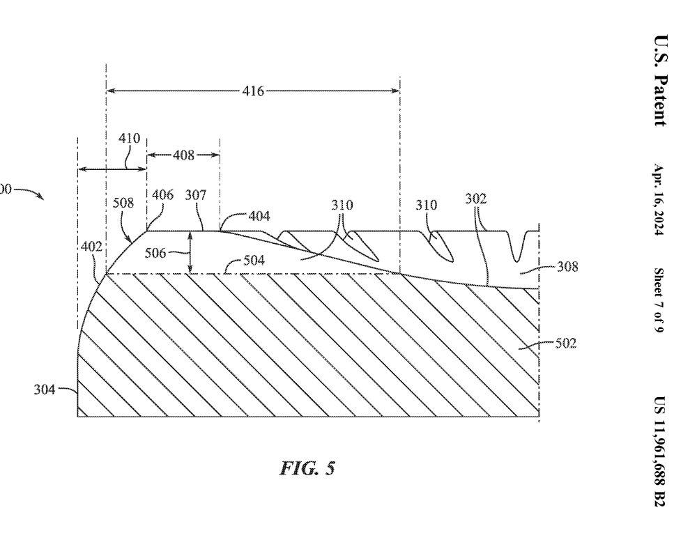
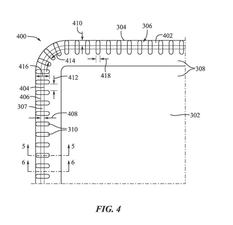
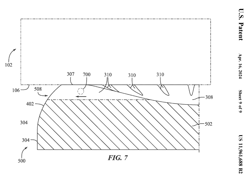
苹果这项专利名为《键帽微粒排空结构》,在概述中表示:“键盘是 MacBook 笔记本上用户接触最多的部分,随着时间的推移,键盘会聚集大量的油、灰尘、污垢和其他污染物,尤其是来自用户双手的污染物”。

而伴随着便携式 MacBook 笔记本更轻、更薄、更紧凑,意味着闭合状态下键盘和屏幕进一步接触,从而导致键盘上的污染物传染到屏幕上,并可能会刮伤屏幕表面。IT之家附上专利图如下:



苹果公司因此在专利中尝试改变键帽设计,通过光滑的凸起表面,以尽量减少键帽与屏幕的接触面。

苹果公司表示:“每个按键的周围都有一个凹槽,可以吸收灰尘和污垢微粒,防止灰尘进入键帽顶部,减少和屏幕的接触面”。
文章来源于互联网:凤凰网-苹果MacBook Air/Pro新专利获批:键帽周围采用凹槽设计
相关推荐
-
印度已生产全球1/5 iPhone 五年间出口额破500亿美元
【CNMO科技消息】1月6日,据外媒报道,截止2025年12月,苹果公司通过印度的生产链出口的iPhone总额已突破500亿美元。这一数字涵盖了苹果在2021年启动的“生产联动激励…
-
消息称英伟达AIC今起可向渠道商发货RTX 5070 Ti显卡:为本月20日上市准备
2 月 5 日消息,外媒 VideoCardz 北京时间昨日表示,英伟达 AIC 合作伙伴今日起可向下游渠道商发货 GeForce RTX 5070 Ti 显卡,而该显卡将于约两周…
-
消息称三星将推1000尼特峰值亮度OLED笔记本屏幕,2024年底2025年初发布
IT之家 3 月 11 日消息,博主 @金猪升级包 今日爆料称,今年底或明年初应有三星的“HDR1000 TrueBlack”的屏幕 / 笔记本产品发布。 IT之家查询 Displ…
-
消息称高通骁龙8 Gen 4处理器价格相比8G3上涨25-30%,预计定价220-240美元
IT之家 7 月 6 日消息,高通将在今年 10 月骁龙峰会中推出第四代骁龙 8 处理器(骁龙 8 Gen 4)预计在明年年初发布,该芯片据称将比现款第三代骁龙 8 处理器涨价 2…
-
联想拯救者Y700超控版官宣,为小尺寸平板Y700二代换屏版本
IT之家 4 月 9 日消息,联想拯救者官宣了全新的小尺寸平板 Y700 超控版。新款拯救者 Y700 平板,并非该系列产品的全新版本,而是“换屏版”。 在处理器等核心配置上,新产…
-
西部数据WD 20TB Elements在新加坡亚马逊可以省75新元,仅售423新元!
西部数据WD 20TB Elements是一款集大容量、高性能、易用性和高品质于一身的台式机外置硬盘,其折扣非常大,目前新加坡亚马逊正在开展一项优惠活动,您可以以423新元的价格购…
-
OPPO Watch X2手表三款配色公布:千峰蔚蓝、墨石岩黑、大漠银月
IT之家 2 月 10 日消息,OPPO Find N5 折叠旗舰及 OPPO Watch X2 智能手表新品发布会将于 2 月 20 日 19:00 举行,官方现已公布新品手表的…
-
索尼PlayStation推400页精美艺术画册,揭秘大量原型产品设计
IT之家 9 月 30 日消息,从索尼初代 PlayStation 在欧美地区问世至今,已经走过了 30 年。为此,索尼宣布将推出一本 400 页的大幅面摄影集,书中收录了从未公开…
-
ROG推出 27″QHD 240Hz QD-OLED显示器XG27AQDNG,含人在监测
IT之家 10 月 15 日消息,27 英寸 (26.5 英寸) QHD 240Hz QD-OLED 是 OLED 显示器市场最近一段时间的热门新规格,华硕也在此配置上推出了自身的…
-
苹果自研图像传感器测试中:动态范围直逼电影摄像机
近日,有消息称,苹果公司正在内部测试一款搭载LOFIC技术的CMOS图像传感器。该技术有望最早在iPhone18系列中投入使用,此测试可使苹果在影像硬件上进一步推进自主研发,以降低…
