原标题:苹果专利勾勒 Vision Pro 头显未来:可提醒服药、喝水,连线医生获取医疗建议
IT之家 4 月 17 日消息,根据美国商标和专利局(USPTO)近日公示的清单,苹果公司获得了一项关于 Vision Pro 头显的专利,展示了未来场景下头显可以监测用户生理数据,从而可以远程根据医生的指导进行操作。

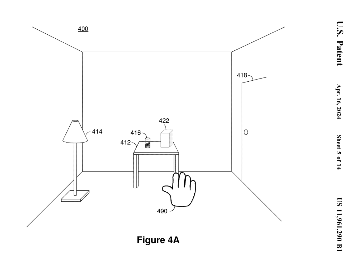
苹果的这项专利名为“健康监测的方法和设备”,勾勒了一个长期佩戴头显、AR 眼镜的未来场景,而头显 / 眼镜可以像跌倒检测一样,实时检测佩戴者各项生理数据,而且可以远程连线医生,提供实时健康指导。

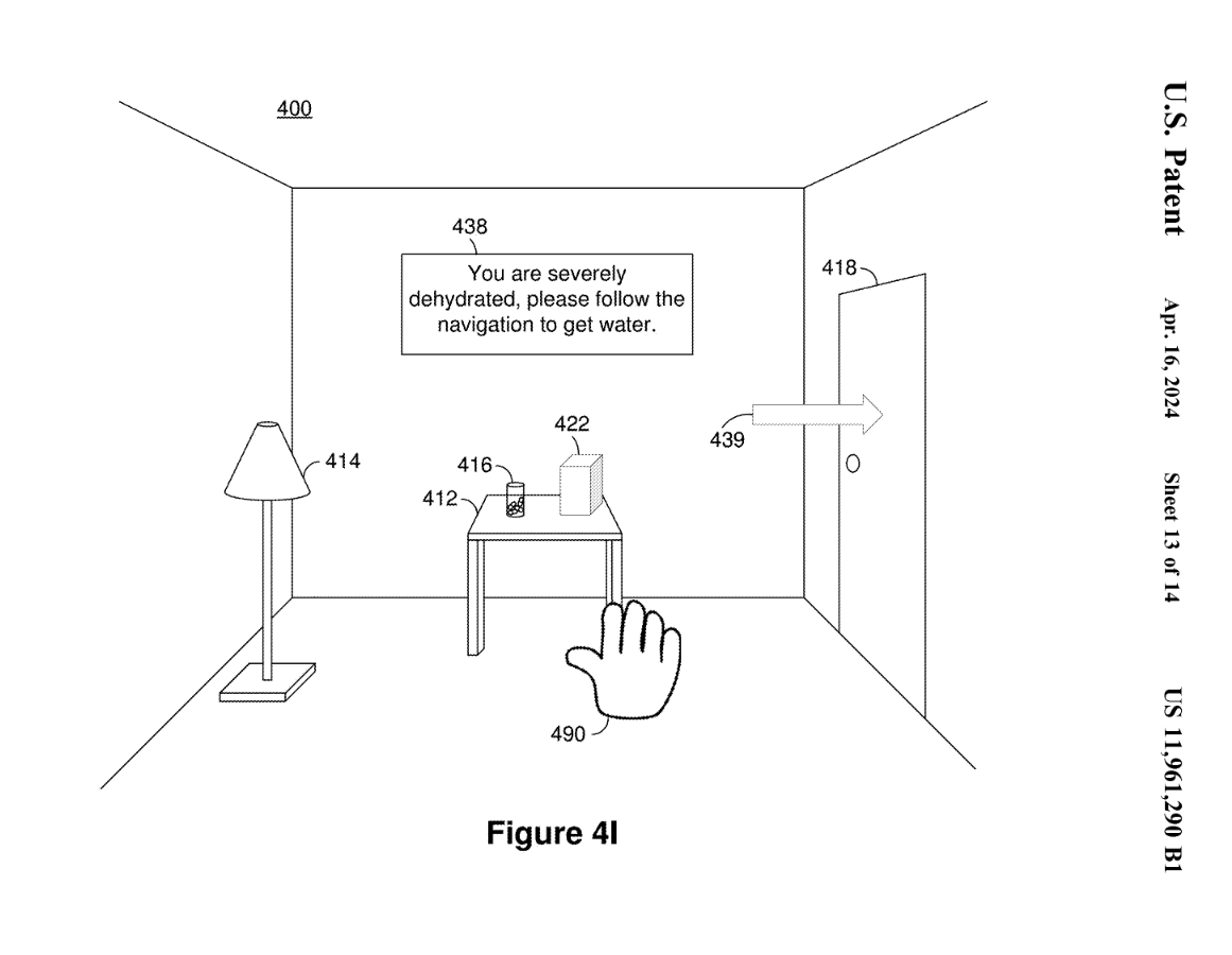
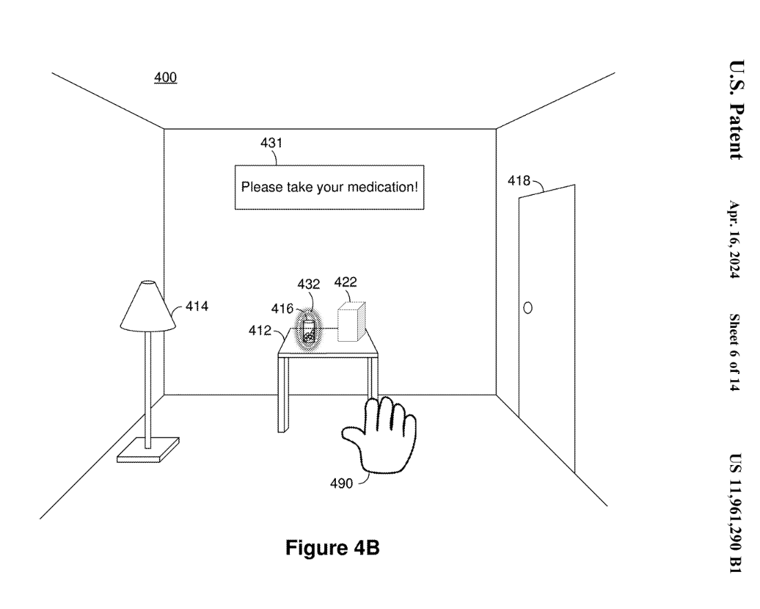
IT之家附上苹果专利中一个举例,头显 / 眼镜设备检测到佩戴者忘记吃药,可以发出提醒并引导佩戴者寻找药瓶;例如检测到佩戴者处于缺水状态,提示佩戴者前往厨房倒水。




苹果表示这项技术对于老年人来说特别有用,可以实现用药提醒、饮食建议和其他温馨提示,并能在必要的时候及时远程连线医生,而医生可以直接看到头显 / 眼镜设备上监测的心率和心电图数据,从而提供更准确、更有效的治疗方案。
文章来源于互联网:凤凰网-苹果专利勾勒Vision Pro头显未来:可提醒服药、喝水,连线医生远程指导
相关推荐
-
李小龙回应华为家庭存储痛点:有误解,可靠性无忧
1月16日,华为终端BG CTO李小龙回应了一些网友有关华为家庭存储痛点的问题,称这款产品非常可靠,可以放心购买。 有微博网友表示,华为家庭存储有需求但看了几遍没买,并总结了以下几…
-
299元,《宝可梦 走吧!皮卡丘 / 伊布》游戏国行Switch版发售
IT之家 9 月 26 日消息,随着游戏的过审,腾讯 NintendoSwitch 今日官宣,《宝可梦走吧!皮卡丘》《宝可梦走吧!伊布》两款宝可梦系列作品现已正式上线国行 Nint…
-
小米17系列刷新今年国产手机全价位段新机系列首销全天销量纪录
IT之家 9 月 27 日消息,小米 17 / Pro / Pro Max 手机于今天 10 点首销,定价为 4499 元起,据小米手机官方微博,系列机型(全系)开售 5 分钟,刷…
-
隐藏式侧出供电接口,技嘉推出RTX 4070 Ti SUPER风魔WINDFORCE MAX显卡
IT之家 6 月 23 日消息,技嘉新款 RTX 4070 Ti SUPER 风魔 WINDFORCE MAX 显卡已经上线官网。 与已经推出的 RTX 4070 Ti S…
-
苹果深夜扔出M4核弹,iPad Pro碾压所有AI PC!280亿晶体管3nm工艺称霸地表
新智元报道 编辑:编辑部 【新智元导读】苹果发布会,一如既往的惊喜。地表最强iPad Pro,号称史上最薄苹果产品。芯片直接跨到了M4,有着苹果史上最大神经网络引擎,性能直接吊打当…
-
华为WATCH GT 5系列智能手表获推HarmonyOS 5.0.0.100升级
IT之家 9 月 29 日消息,在 9 月 24 日下午的 2024 华为秋季全场景新品发布会上,华为 WATCH GT 5 系列手表国行版正式发布,该系列手表拥有标准版和 Pro…
-
摩根士丹利分析师高度评价苹果Vision Pro头显 可能是杀手级应用
摩根士丹利的分析师对其重点研究的苹果Vision Pro头显表示出高度赞扬。在深入体验和研究了该产品三天之后,他们对其沉浸式体验印象深刻,并认为苹果所勾画的“空间计算”具备巨大的长…
-
《黑神话:悟空》销售额即将破10亿美元!是国内自嗨还是真实力
快科技9月23日消息,《黑神话:悟空》自问世以来,便以其独特的文化魅力和出色的游戏制作赢得了国内外玩家的广泛赞誉。 不过,关于它是否只是国人的自嗨,这一话题却引发了不小的争议。 有…
-
消息称联发科杀入PC市场,正为微软AI笔记本电脑设计Arm架构芯片
IT之家 6 月 12 日消息,据路透社报道,三位知情人士透露,芯片设计巨头联发科正在开发一款基于 Arm 架构的个人电脑芯片,该芯片将用于 Windows AI 笔记本电脑。 上…
-
Lenovo IdeaPad Slim 5 Gen 8 – 16 WUXGA笔记本电脑在西班牙Amazon这样买更值,可省140欧元,仅售759.00欧元
目前在西班牙的amazon商店购买Lenovo IdeaPad Slim 5 Gen 8 – 16 WUXGA笔记本电脑,原价899.00欧元,优惠140欧元,优惠完仅售759.0…
