IT之家 4 月 12 日消息,根据美国商标和专利局(USPTO)近日公示的清单,苹果公司获得了一项圆柱形微机电系统(MEMS)的音频组件专利,未来可应用于 iPad、iPhone、MacBook、AirPods 等产品中。

数码产品体积日益缩小的同时,用户对高品质音频的需求也越来越高,而越高质量的音频体验往往需要更大的扬声器元件,如何调和两者成为摆在苹果等厂商面前的挑战。
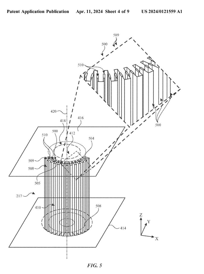
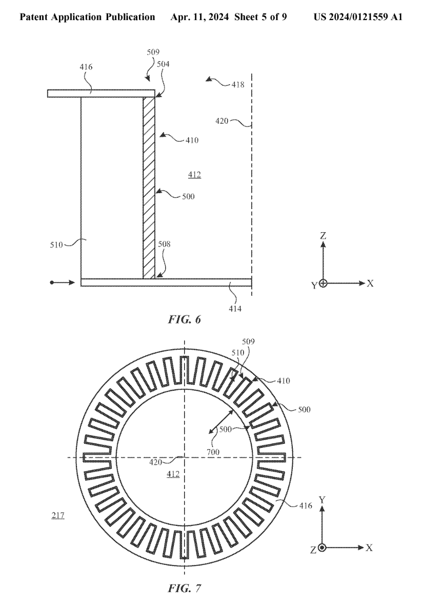
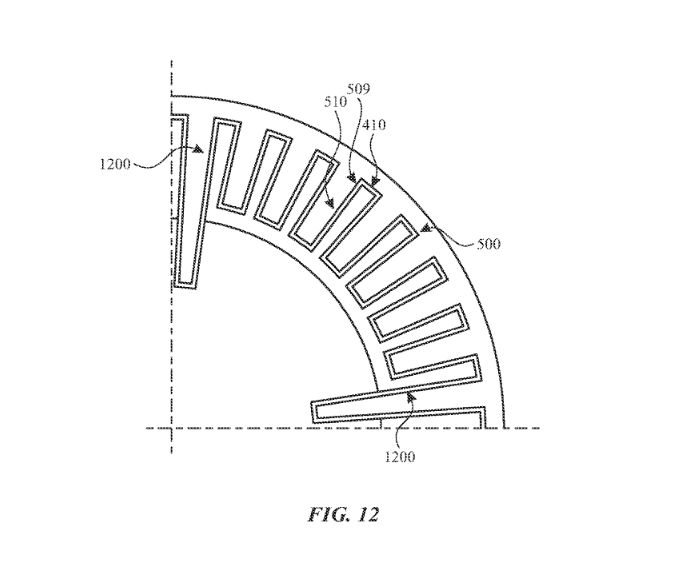
苹果在专利中探索了圆柱形波纹 MEMS 结构,采用开放式圆柱形磁芯可与 MEMS 扬声器流体耦合,可安装在扬声器的前部音量(front volume)和后部音量(back volume)之间。
在外加电压的作用下,圆柱形 MEMS 结构可发生变形,使上下固定边缘之间的位置发生弯曲,这些固定边缘密封地固定在上下基板上,以产生声音,同时防止上下固定边缘周围的空气外泄。
IT之家附上专利中相关设计草图如下:



VIA:patentlyapple
广告声明:文内含有的对外跳转链接(包括不限于超链接、二维码、口令等形式),用于传递更多信息,节省甄选时间,结果仅供参考,IT之家所有文章均包含本声明。
文章来源于互联网:IT之家-苹果 iPhone / iPad 新专利获批:探索圆柱形 MEMS 扬声器,带来“小而优”音频体验
相关推荐
-
本月有望推国行版:realme 真我海外预热 15T 手机,6.57” 大 R 角直屏、7000mAh 电池
感谢IT之家网友 雨雪载途、顺势而为、Autumn_Dream 的线索投递! IT之家 9 月 2 日消息,realme 真我今天在海外市场预热了旗下 15T 手机,主打“果味”质…
-
苹果iOS 18地图应用引入“在此搜索”按钮:指定地点搜索周边设施、餐馆等
IT之家 6 月 25 日消息,苹果 iOS 18 地图应用引入了全新的“在此搜索”(Search Here)选项,让用户可以搜索非当前所在位置的周边设施、景点、餐馆等内容。 用户…
-
OPPO Find X8 Ultra配置曝光:四摄双潜望引领影像新潮流
近日,知名数码博主@数码闲聊站在其社交媒体上发布了一则关于即将推出的新旗舰机型OPPO Find X8 Ultra的配置信息,引发了业界的广泛关注。这款备受期待的智能手机不仅采用了…
-
联发科发布天玑 6300 处理器,消息称 realme C65 5G 手机将搭载
IT之家 4 月 19 日消息,联发科近日悄然在官网上线了天玑 6300 处理器,X 平台消息源 @Sudhanshu1414 表示 realme 真我面向印度市场的 C65 5G…
-
Unihertz 8849 TANK 3 Pro 手机开卖:23800mAh 电池、3 厘米厚、自带投影,5299 元起
IT之家 5 月 8 日消息,Unihertz 8849 TANK 3 Pro 手机近日在京东开卖。根据商品介绍来看,该手机定位三防手机,拥有 23800mAh 容量电池,整机尺寸…
-
OnePlus 12R vs Pixel 8a:性能与拍照的巅峰对决,哪款更值得入手?
随着科技的不断进步,手机市场日益繁荣,各大品牌纷纷推出新品以满足消费者的多样化需求。其中,OnePlus 12R和Pixel 8a作为两款备受瞩目的新品,各自拥有独特的优势和特点。…
-
4999 元起:红魔 11 Pro 系列手机发布,行业首款风水双冷手机,搭载第五代骁龙 8 至尊版芯片
感谢IT之家网友 偏科骚黄4100只眼、風見暉一 的线索投递! IT之家 10 月 17 日消息,红魔今天召开发布会,推出 11 Pro 系列手机等新品,搭载第五代骁龙 8 至尊版…
-
摩托罗拉Edge 50 Pro欧洲版即将上市,定价及配置细节曝光
摩托罗拉备受瞩目的Edge 50 Pro智能手机即将登陆欧洲市场,相关价格与发布时间线的泄露信息引发了业界的广泛关注。据可靠消息人士透露,这款手机预计将于4月中旬在欧洲上市,提供单…
-
消息称三星与 LG U + 达成合作,三星制造“LG 首款 AI 手机”最早明年问世
IT之家 11 月 21 日消息,据韩媒 KED Global 报道,三星电子与韩国当地的移动运营商 LG U + 达成合作,共同推出一款内置先进数字助手的 AI 智能手机,预计最…
-
Techinsights:2024 年 Q2 中国智能手机出货量 6740 万台、同比增长 5%,vivo、OPPO、华为前三
IT之家 8 月 5 日消息,据 Techinsights 最新数据,2024 年第二季度中国智能手机出货量同比增长 5%,达到 6740 万台。 IT之家附具体品牌排名: viv…
