IT之家 4 月 13 日消息,苹果供应商大立光电 4 月 11 日举办了季度财报电话会议,董事长林恩平透露公司研发的新型塑料薄膜已通过客户 [应该是指苹果公司] 测试,只是现阶段无法确认是否来得及用于今年秋季上市的 iPhone 16 系列。

林恩平并未透露这位客户的具体信息,但外界普遍猜测应该说的是苹果公司。林恩平表示大立光电目前在镀膜方面,只做粘合(adhesion)和镀膜(coating)两项工艺。
林恩平表示这种全新塑料设计比现有相机镜头中的玻璃镜片表现更为优秀,可以消除杂散光(耀斑)和 dropout 光线,而且塑料在手机等数码产品掉落过程中,能更好地保护相机镜头。
苹果 iPhone 15 Pro Max 的卖点之一是采用了“四重反射棱镜”(潜望摄像头),由配备了两片玻璃镜片,由 Luqi Crystal Optoelectronics 提供,而封装方面由大立光电独家提供。
而今天的消息表明,苹果未来希望用塑料镜片取代玻璃镜片。
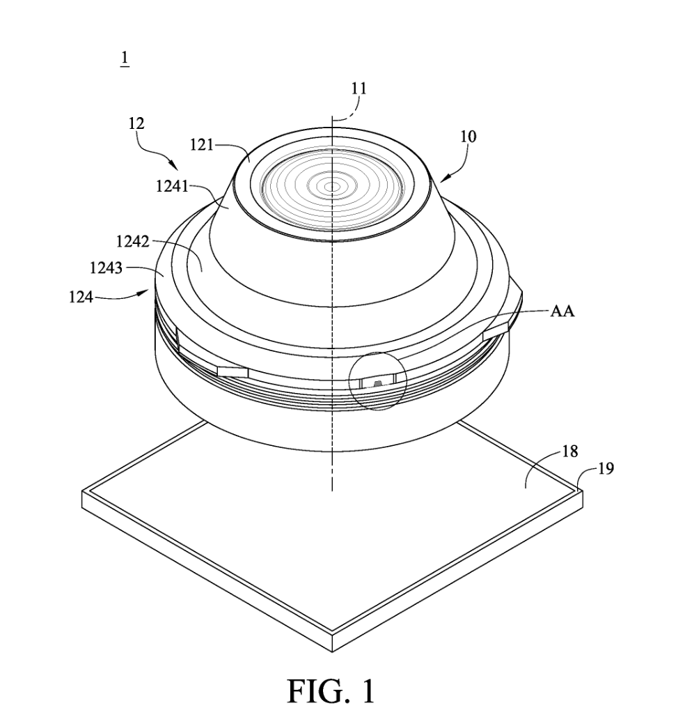
IT之家查询相关公开资料,发现美国商标和专利局今年 2 月公示的清单中,大立光电获得了一种成像透镜系统专利,可以提高光学性能。

该系统包括一个由黑色塑料材料通过注塑成型制成的塑料镜筒,其物侧表面与光轴垂直,像侧表面与之相对。镜筒的内环形部分至少有一个直径大于 p2 毫米的内平行环形表面,而外环形部分则有一个第一外环形表面和至少三个栅极痕迹。

广告声明:文内含有的对外跳转链接(包括不限于超链接、二维码、口令等形式),用于传递更多信息,节省甄选时间,结果仅供参考,IT之家所有文章均包含本声明。
文章来源于互联网:IT之家-大立光电新型塑料镜头通过测试,未来有望取代苹果 iPhone 中的玻璃镜头
