IT之家 5 月 7 日消息,根据美国商标和专利局(USPTO)近日公示的清单,苹果公司获得了一项关于折叠屏 iPhone 的新专利,最大的亮点在于独特的铰链设计,可以实现向内、向外双向折叠。

目前主流折叠屏手机只能实现向内或者向外单向折叠方式,而苹果公司在这项专利中探索了双向折叠方式,IT之家附上相关图片中如下:

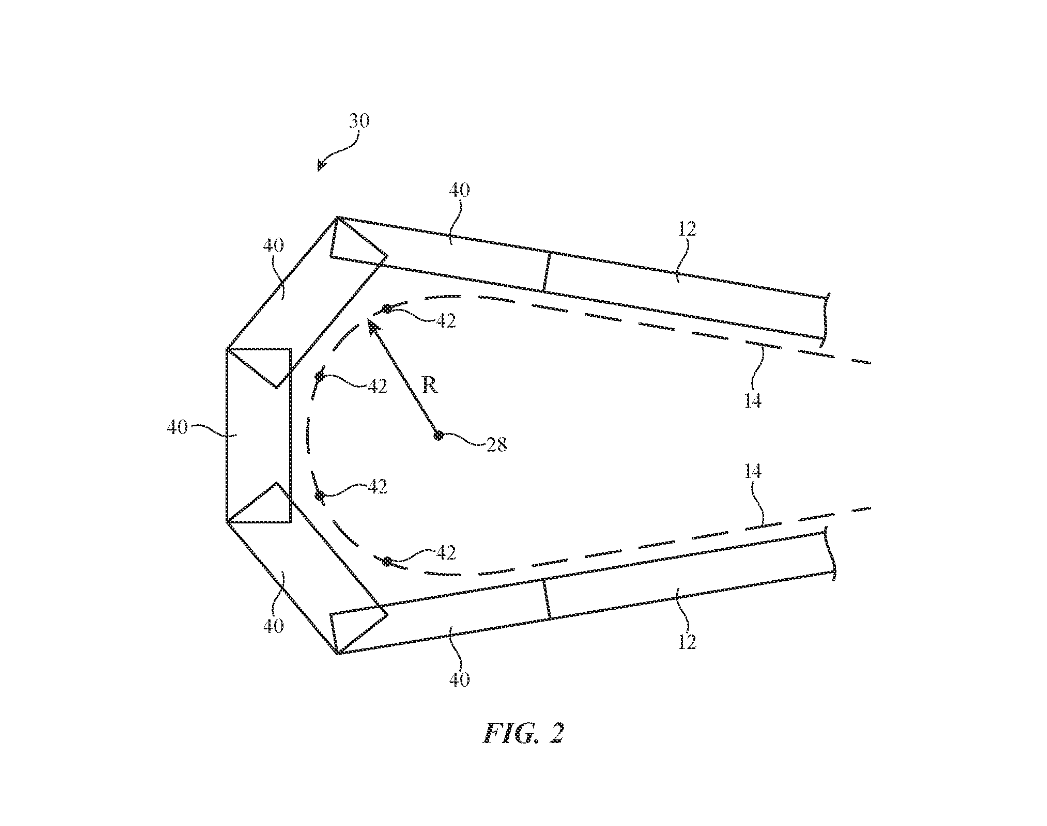
图 2 中使用多个 #40 铰链连接,然后彼此耦合以旋转运动,让外壳#12 的第一部分和第二部分之间串联延伸,不过专利图来看相邻铰链连杆的整体旋转量可能会受到限制。

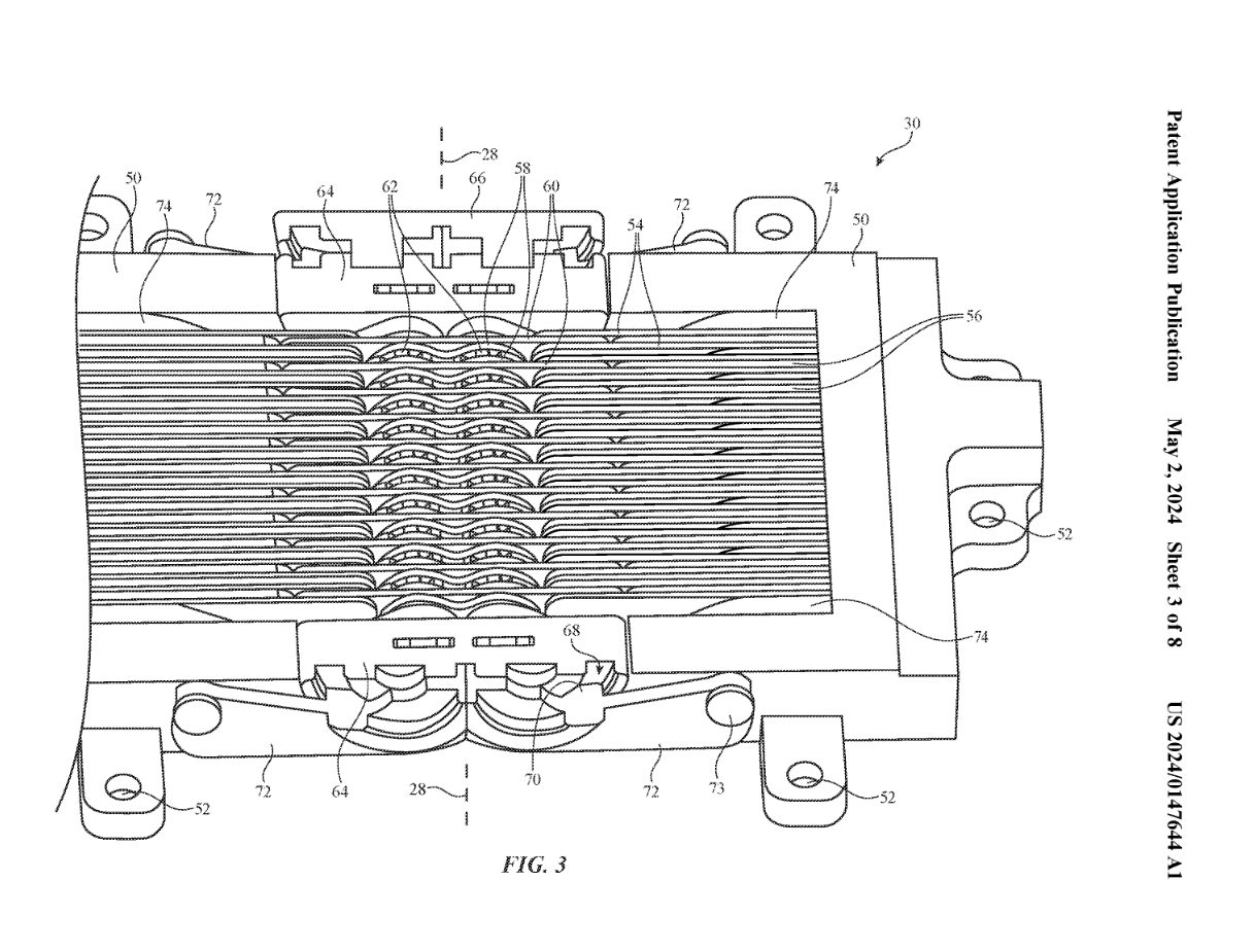
图 5 中展示了齿轮状的铰链设计,齿轮板具有容纳轴 #82 的开口 #84,以便齿轮板可以绕轴旋转。外壳 (#12) 的一半绕轴 #28 旋转时,板的配合齿使外壳的另一半同步旋转。




文章来源于互联网:凤凰网-苹果折叠屏iPhone新专利获批,探索向内/向外双向折叠
相关推荐
-
真我 GT8 Pro 通过 3C 认证:120W 快充 + 超 7000mAh 大电池,三证齐全只待发布
感谢IT之家网友 Autumn_Dream、啊吧啦 的线索投递! IT之家 9 月 26 日消息,昨天有一款型号为 RMX5200 的 realme 新机通过了 3C 质量认证,搭…
-
iPhone 15冲击国产旗舰 同价位苹果还是小米
目前,iPhone 15在京东的官方售价已经降低到了4699元,相比发布时的5999元,已经有了1300元的大幅降价。如果领劵和会员叠加使用的话,入手价甚至只有4553元。 苹果在…
-
7300mAh 巨无霸电池:iQOO Z10 手机安兔兔跑分首曝
IT之家 3 月 26 日消息,科技媒体 smartprix 昨日(3 月 25 日)发布博文,分享了 vivo iQOO Z10 手机的安兔兔跑分,显示分数为 765324 分,…
-
苹果 iPhone 16 Pro 摔落测试:边框更窄,比前代更易受边角撞击影响
IT之家 9 月 21 日消息,YouTube 频道 AppleTrack 主播萨姆・科尔(Sam Kohl)昨日(9 月 20 日)发布视频,在澳大利亚对 iPhone 16 P…
-
三星即将推出Galaxy F35和M35 5G中端手机,或为中国市场定制
科技界又传来重磅消息,继三星在印度发布Galaxy M15 5G和Galaxy M55两款中端手机后,其可能将再次扩充中端产品线,推出两款针对中国市场的定制版手机:Galaxy F…
-
一加 Ace 5 至尊版手机获 ColorOS 15.0.2.211 升级,新增支持远程控制 Mac 电脑
感谢IT之家网友 会唱歌的小警铃、OkayTech 的线索投递! IT之家 6 月 1 日消息,ColorOS 官方本周(5 月 30 日)在一加社区发布《ColorOS 版本升级…
-
消息称三星 Galaxy S25 / S25+ 及 Ultra 机型支持 25/45W 无线充电,但不支持 Qi2 协议
IT之家 12 月 21 日消息,消息源 Jukanlosreve 在 X 平台发布贴文,展示了第三方制造商 Spigen 为三星 Galaxy S25 Ultra 打造的磁力无线…
-
红魔 10 PRO 系列 X Golden Saga 特别版手机预热:搭载蓝宝石、金、银、碳纤维材料
感谢IT之家网友 風見暉一 的线索投递! IT之家 11 月 12 日消息,红魔游戏手机官方今日公布了红魔 10 PRO 系列手机特别版“红魔 X Golden Saga”,Slo…
-
SK海力士宣布开发出新一代移动端NAND闪存解决方案“ZUFS 4.0”,2024年第三季度量产并搭载于端侧AI手机
IT之家 5 月 9 日消息,SK 海力士公司今日宣布,公司开发出用于端侧(On-Device)AI 的移动端 NAND 闪存解决方案产品“ZUFS(Zoned UFS)4.0”。…
-
中国广电:700MHz 为“无网应急通信”提供新方案,华为 Mate 80 系列首发
IT之家 12 月 3 日消息,华为 Mate 80 系列手机于 11 月 25 日发布,业界首发无网应急通信。在城市灾害与户外救援中,如果地面没有网络信号覆盖,华为 Mate 8…
