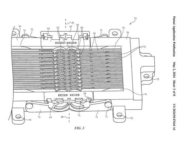
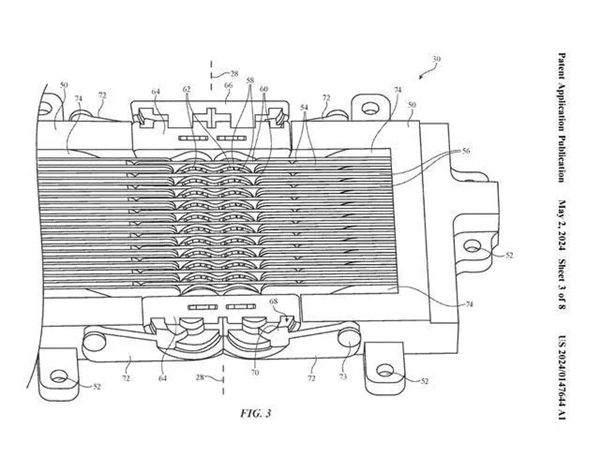
快科技5月8日消息,苹果公司一项折叠屏专利近日曝光,其最大看点在于独特的铰链设计,可以实现向内、向外双向折叠。
众所周知,目前主流折叠屏手机要么是内折,要么是单向外折,苹果公司新专利探索了双向折叠方案。

对此,OPPO周意保指出,手机外折没有意义,代价大于收益,目前外折屏已经在行业慢慢消失,三年内会完全消失。
周意保解释,外折和内折看上去半斤八两,但是内折的厚重问题可以随着技术发展解决,但是外折的品质问题,技术发展也解决不了。

因为折叠屏最脆弱的就是可以弯折的柔性屏幕,把它直接露在外面,随便磕碰一下就会出现亮点亮线,这已经不是一个技术问题了,而是一个物理问题,短时间根本解决不了,就凭这点,足以给外折方案定性。



文章来源于互联网:凤凰网-曝iPhone折叠屏可双向折叠 OPPO周意保:外折没有意义 3年内会消失
相关推荐
-
法国Cdiscount优惠:荣耀HONOR 90 Lite 5G优惠30欧元 仅售229欧元
现在前往法国Cdiscount购买HONOR 90 Lite 5G的8GB+256GB版本,原价259欧元,优惠30欧元,目前仅售229欧元,喜欢的朋友可以去看看。 荣耀90 Li…
-
iPhone 17 Pro Max 1T 京东 13629 元再补货,无需激活月末即可到手
京东自营 iPhone 17 全系每日限时放货(开抢时间根据商品页面为准),Pro 系列可领 300 元立减券:点此查看新品主会场。 京东 11.11 无门槛红包每天可抽 3 次,…
-
中国广电一号通 2.0 发布:一个 192 号码统管手机、电视、宽带等全家业务
IT之家 7 月 1 日消息,据中国广电昨日消息,中国广电新疆公司发布“广电一号通 2.0”版本以及自主研发的数字化全流程服务平台 ——“码上办”。 2024 年 12 月,新疆公…
-
摩托罗拉G85欧洲正式发布 搭载骁龙6s Gen 3处理器
昨日,摩托罗拉在欧洲市场正式发布了其新款智能手机摩托罗拉G85,这款手机与中国市场发布的S50 Neo在配置上存在高度相似性,但面向的市场和定价策略有所不同。 G85搭载了高通骁龙…
-
小米新机通过无线电核准,预计为 Redmi Note 14 系列
感谢IT之家网友 星痕永至 的线索投递! IT之家 8 月 1 日消息,7 月 29 日,工信部有型号为 24115RA8EC、24094RAD4C、24090RA29C 三款小米…
-
Apple Intelligence、iPhone Mirroring to Mac 和 SharePlay Screen Sharing 在欧盟推出时将无法使用
苹果公司周五宣布,当 iOS 18 和 macOS Sequoia 于今年秋季晚些时候发售时,其即将推出的操作系统的三大功能将不会在欧盟提供。 据彭博社报道,Apple Intel…
-
2024年2月中国手机市场:出货量骤降,5G手机持续占比
根据中国信通院的最新数据,2024年2月,中国手机市场出货量急剧下降,令人震惊。总体出货量为1425.7万部,较去年同期减少了32.9%。这个数字显然表明了市场的低迷态势。而尤为引…
-
跟上苹果 Apple Watch,谷歌 Pixel Watch 2 智能手表新增车祸检测功能
6 月 12 日消息,谷歌今天为 Pixel Watch 系列智能手表带来一系列安全功能升级,其中 Pixel Watch 2 加入了车祸检测功能,两代机型的摔倒检测功能均更加精准…
-
首发纯血鸿蒙!华为Mate 70系列有望9月30日左右发布
快科技6月24日消息,华为Mate 70系列和iPhone 16系列,无疑是今年下半年手机圈的重头戏,随着发布时间的临近,两款机型的爆料也逐渐增多。 日前,数码博主“定焦数码”透露…
-
OPPO Reno 12系列手机首发天玑9200+ / 8250星速版,适配王者荣耀、逆水寒手游高帧高画质
IT之家 5 月 22 日消息,OPPO 官方今日公布了旗下 Reno12 系列手机性能配置:首发天玑 8250、天玑 9200+ 星速版处理器,适配王者荣耀等手游高画质高帧率。 …
