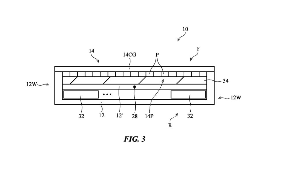
IT之家 4 月 17 日消息,根据美国商标和专利局(USPTO)近日公示的清单,苹果公司获得了一项关于折叠屏幕手机专利,重点介绍了全新的弹簧层概念,以减轻折叠时的压力。

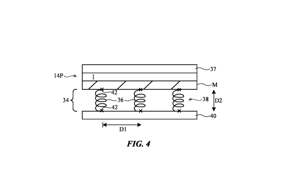
苹果公司表示该弹簧层由金属弹簧阵列组成,然后在弹簧层中内嵌力传感结构(如应变计)等传感器,此外专利中还表示如果有需要,可将泡沫柱和其他可压缩结构与弹簧穿插在一起,以帮助调整弹簧层的性能。
该弹簧层可以采用各种柔性金属,例如弹簧钢、镍铬铝合金、铍铜合金、不锈钢、钴镍合金等弹簧金属。IT之家附上相关图片如下:




苹果公司表示,折叠屏设备中引入弹簧层,一方面可以缓解设备在撞击、挤压等事件中受到的外部压力,而另一方面也可以缓解屏幕在反复折叠和展开过程中受到的应力影响,从而提高折叠屏设备的耐用性。
苹果认为这种弹簧层可以缓解外部压力,并防止过度局部变形。
via:patentlyapple
广告声明:文内含有的对外跳转链接(包括不限于超链接、二维码、口令等形式),用于传递更多信息,节省甄选时间,结果仅供参考,IT之家所有文章均包含本声明。
文章来源于互联网:IT之家-苹果折叠屏 iPhone 新专利获批:内嵌弹簧层,可缓解折叠压力和外部冲力
相关推荐
-
OPPO Find N5 折叠屏手机预装全新文档应用,适配“搜改译问”使用场景
感谢IT之家网友 Autumn_Dream、風見暉一、软媒新友1933769 的线索投递! IT之家 2 月 16 日消息,OPPO 官方今日发文预热 Find N5 折叠屏手机:…
-
三星Samsung Galaxy S24系列预购奖励曝光:内存免费升级及多重好礼
三星即将于1月17日发布备受期待的新旗舰手机Samsung Galaxy S24系列。据最新消息,三星为预购客户提供了一系列丰厚的奖励,以吸引消费者预订新机。 据透露,在一些市场,…
-
小米 REDMI Turbo 5 Max 手机“续航耐力赛”直播战报出炉:以 9000mAh 电池超“10000mAh 友商”43 分钟
感谢IT之家网友 風見暉一 的线索投递! IT之家 1 月 20 日消息,小米于今天上午 9:00 开启 REDMI Turbo 5 Max 续航耐力赛直播,号称是 2026 全网…
-
荣耀 Magic V Flip2 小折叠手机新增“撕拉片”电子模拟水印,同步提供拟真音效
感谢IT之家网友 雨雪载途 的线索投递! IT之家 8 月 27 日消息,据博主 @睿哥玩数码 今日分享,荣耀 Magic V Flip2 小折叠手机在升级至 MagicOS 9….
-
三星Galaxy M55曝光:或将作为Galaxy A55的经济型替代品亮相
近日,三星电子正在积极研发一款新的M系列设备——Galaxy M55,这款设备预计将成为上周推出的Galaxy A55智能手机的经济型替代品。随着多次关于M系列智能手机的泄漏信息出…
-
vivo 韩伯啸预热 X300 Pro:独家深度定制 2 亿像素 HPB,目标是 “长焦新王”
IT之家 9 月 2 日消息,vivo 产品经理韩伯啸刚刚发文,对即将发布的 vivo X300 Pro 进行了预热宣传。 据介绍,X300 Pro 采用了 vivo 独家深度定制…
-
键盘可当触控板,Unihertz Titan 2 Elite 全键盘手机下月 MWC 2026 发布
IT之家 2 月 14 日消息,Unihertz 在近一个月前官宣了 Titan 2 Elite,当时仅公布了极少信息。随后在今天,该公司宣布,Titan 2 Elite 将在 2…
-
WIKO 手机新品通过 3C 认证,支持 40W 快充
IT之家 10 月 26 日消息,昨天有一款型号为 JEY-AN00 的 WIKO 新机通过了国家 3C 质量认证,显示支持 40W 快充,目前暂时无法确认其身份。 IT之家查询发…
-
TCL 首发 AMOLED 版 NxtPaper 护眼屏:偏振率飙升至 90%,蓝光比例压低至 2.9%
IT之家 3 月 7 日消息,科技媒体 GSMArena 昨日(3 月 6 日)发布博文,报道称在巴塞罗那召开的 MWC 2026 展会上,TCL 展示其首款基于 AMOLED 材…
-
荣耀Magic 6 vs 小米14:究竟谁才是旗舰王者?
随着智能手机市场的不断发展,各大品牌纷纷推出高端旗舰机型以满足消费者的多样化需求。荣耀Magic 6和小米14作为两款备受瞩目的产品,在性能、屏幕、影像以及续航等方面各有特色。接下…
