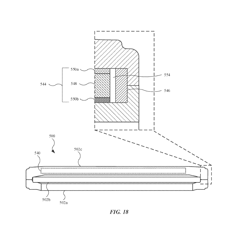
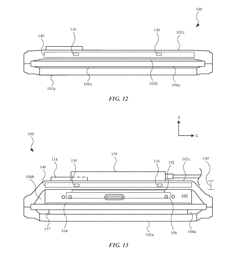
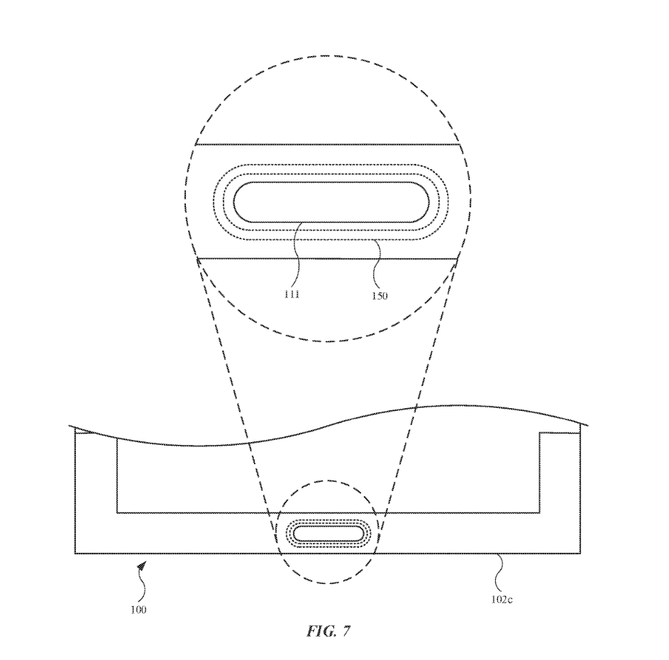
IT之家 4 月 17 日消息,根据美国商标和专利局(USPTO)近日公示的清单,苹果公司获得了一项关于 iPhone 配件的全新专利,内部可以塞入各种银行卡,可以通过 MagSafe 为 iPhone 充电,并可佩戴在手腕或脖子上。

该配件可以充当 iPhone 支架使用,配有一条带子,可以将其固定在行李上。不过用户也可以搭配挂绳,套在手腕或者脖子上。
苹果官方描述为“用于收纳便携式电子设备 [指 iPhone] 的口袋”,这款配件还可以通过 MagSafe 给 iPhone 充电。
此外 iPhone 在放入该配件之后,该配件还可以预留相应的开口,显示时间、天气、通知等关键信息。


IT之家附上其它图片内容如下:







广告声明:文内含有的对外跳转链接(包括不限于超链接、二维码、口令等形式),用于传递更多信息,节省甄选时间,结果仅供参考,IT之家所有文章均包含本声明。
文章来源于互联网:IT之家-iPhone 新配件专利获批:苹果欲打造终极 MagSafe 钱包
相关推荐
-
Siri 最强外援:消息称苹果拟每年支付 10 亿美元集成谷歌 Gemini,AI 参数量暴增 8 倍
感谢IT之家网友 風見暉一、补药吖、神藏blue 的线索投递! IT之家 11 月 6 日消息,彭博社的马克・古尔曼昨日(11 月 5 日)发布博文,透露苹果正考虑每年向谷歌支付约…
-
24GB+1TB 售 3999 元,联名兰博基尼:小米 Redmi K70 至尊冠军版手机发布
IT之家 7 月 19 日消息,小米在发布 Redmi K70 手机之后,公布了 Redmi 与兰博基尼汽车 SQUADRA CORSE 联名的全新机型 K70 至尊冠军版手机,该…
-
消息称三星 Galaxy S26 系列手机改用 Exynos 2600,单颗成本较骁龙版直降 20~30 美元
IT之家 11 月 18 日消息,韩媒 Biz Chosun 昨日(11 月 17 日)发布博文,报道称三星为应对高通旗舰芯片价格的急剧上涨,以及缓解财务压力,计划在 Galaxy…
-
2月25日推出 三星Galaxy S26系列发布时间确认
爆料者Evan Blass曾透露,三星Galaxy S26系列新品Unpacked活动,将会在2026年2月25日举行。 爆料者Evan Blass曾透露,三星Galaxy S26…
-
消息称 vivo S50 系列手机定档 12 月:首次全系越级升配,骁龙 8 Gen5 旗舰芯 +IMX882 主摄级潜望镜 +3D 超声波指纹 2.0
感谢IT之家网友 Roronoa_、偏科骚黄4100只眼、顺势而为、Autumn_Dream、软媒新友2543710、太二真人 的线索投递! IT之家 11 月 14 日消息,博主…
-
苹果警告用户:iPhone 充电时切勿放在枕头或毯子下面
IT之家 4 月 28 日消息,许多人在睡前最后一个动作就是给手机充电,以确保第二天有充足电量。苹果公司最近在其支持页面“iPhone 的重要安全性信息”中发布了警告,提醒用户切勿…
-
华为Pocket 2怎么样? 折叠屏手机的新里程碑
随着科技的不断进步和创新,智能手机市场呈现出多元化和个性化的趋势。华为,作为全球知名的科技巨头,一直致力于为消费者带来高品质、创新性的产品。近期,华为推出的Pocket 2折叠屏手…
-
三星 Galaxy Z Fold7 / Flip7 折叠手机预热视频炮轰苹果生态 9 大宣传噱头
IT之家 7 月 1 日消息,三星公司通过其官方 X 账号,发布了 38 秒的 Galaxy Unpacked 发布会(7 月 9 日召开,将发布 Galaxy Z Fold7 折…
-
荣耀 Magic V5 折叠屏手机厚度揭晓:8.8mm“刷新轻薄新纪录”
感谢IT之家网友 風見暉一、Autumn_Dream 的线索投递! IT之家 6 月 23 日消息,荣耀手机官微刚刚揭晓了新机 Magic V5 的厚度:8.8mm,继续刷新轻薄新…
-
今天是小米手机诞生 14 周年,雷军宣布送出 2000 份玄戒 O1 旗舰处理器纪念版
感谢IT之家网友 風見暉一、雨雪载途、Autumn_Dream 的线索投递! IT之家 8 月 16 日消息,小米创办人、董事长兼 CEO 雷军在微博发文称,14 年前的今天,小米…
