近日,美国商标和专利局(USPTO)公示了一项苹果公司获得的新专利,这项专利涉及折叠屏iPhone的创新设计,其中最引人注目的亮点是内嵌的全新弹簧层技术,这意味着折叠屏iPhone的耐用性有望提升,解决此前折叠屏设备在耐摔和折痕方面存在的痛点问题。
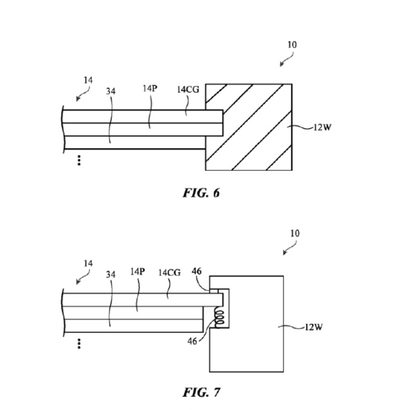
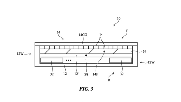
据了解,这项专利的弹簧层由金属弹簧阵列组成,设计和布局可以在折叠屏展开和折叠时更有效地吸收和分散外部压力。
弹簧层中还嵌入了力传感结构,如应变计等传感器,这些传感器能够实时监测屏幕受到的应力和压力变化,为系统提供精确的数据反馈,以便进行及时的调整和优化。



苹果在专利中还提到了弹簧层的性能可以通过在弹簧中穿插泡沫柱和其他可压缩结构进行调整,这一设计不仅增强了弹簧层的弹性和缓冲能力,还使得整个结构更加灵活和耐用。

苹果方面表示,折叠屏iPhone内嵌弹簧层技术的引入将极大地改善折叠屏设备的耐用性。在遭遇撞击或挤压等外部力量时弹簧层能够迅速吸收冲击,减少对屏幕和其他内部组件的损害,这将大大降低用户在使用过程中因意外情况导致的设备损坏风险。
同时,在屏幕反复折叠和展开的过程中弹簧层也能有效缓解应力,降低折痕产生的可能性,这将使得折叠屏iPhone在展开时更加平整、顺滑,提升用户的视觉体验。

业内专家表示苹果这项新专利的获批,不仅标志着折叠屏技术的一大进步,也为整个智能手机行业树立了新的标杆。
随着折叠屏技术的不断发展和完善,未来智能手机的形态和功能将更加多样化和个性化,满足用户日益增长的需求。在应用场景方面iPhone折叠屏还将与其他苹果设备实现无缝连接和协同工作,为用户带来更加便捷和高效的使用体验。
除了内嵌弹簧层技术外,苹果在折叠屏iPhone的研发上还可能采用了其他创新设计。例如,苹果可能采用了一种特殊的玻璃处理技术,使得显示盖板层在设备展开和折叠时能够更容易地弯曲,同时保持足够的强度,防止玻璃破裂。这种技术不仅提高了折叠屏的耐用性,也保证了用户在使用过程中的舒适度和便捷性。
但是在折叠屏iPhone的研发过程中苹果可能还面临着一些难题。例如如何确保在折叠和展开过程中屏幕的显示效果不受影响;如何优化内部结构,使得折叠屏设备在保持轻薄的同时又能保证足够的强度;如何降低生产成本,使得折叠屏iPhone能够普及到更广泛的消费者群体等等。

虽然iPhone折叠屏爆料看似具有诸多优势,但其实际表现仍需在市场中进行验证。对于消费者而言,最关心的问题无疑是价格、性能和耐用性等方面,因此苹果在推出折叠屏iPhone时需要充分考虑这些因素,确保产品能够满足用户的期望和需求。
不过苹果折叠屏iPhone新专利的获批,无疑为折叠屏技术的发展注入了新的活力,虽然尚不知折叠屏iPhone到底什么时候能和大家见面,但也不妨碍大家对这一技术的期待,希望能够早日应用于实际产品中,带来耐用和便捷的折叠屏iPhone。
