IT之家 5 月 7 日消息,根据美国商标和专利局(USPTO)近日公示的清单,苹果公司获得了一项关于折叠屏 iPhone 的新专利,最大的亮点在于独特的铰链设计,可以实现向内、向外双向折叠。

目前主流折叠屏手机只能实现向内或者向外单向折叠方式,而苹果公司在这项专利中探索了双向折叠方式,IT之家附上相关图片中如下:

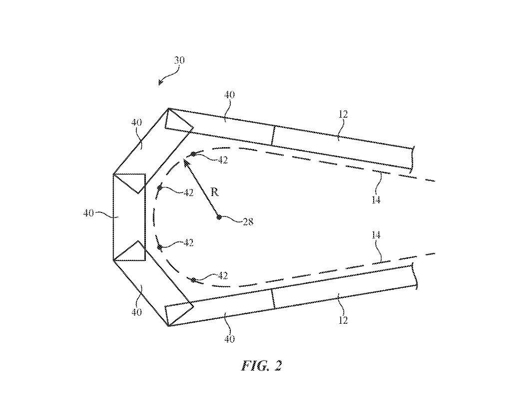
图 2 中使用多个 #40 铰链连接,然后彼此耦合以旋转运动,让外壳#12 的第一部分和第二部分之间串联延伸,不过专利图来看相邻铰链连杆的整体旋转量可能会受到限制。

图 5 中展示了齿轮状的铰链设计,齿轮板具有容纳轴 #82 的开口 #84,以便齿轮板可以绕轴旋转。外壳 (#12) 的一半绕轴 #28 旋转时,板的配合齿使外壳的另一半同步旋转。




VIA:patentlyapple
广告声明:文内含有的对外跳转链接(包括不限于超链接、二维码、口令等形式),用于传递更多信息,节省甄选时间,结果仅供参考,IT之家所有文章均包含本声明。
文章来源于互联网:IT之家-苹果折叠屏 iPhone 新专利获批,探索向内 / 向外双向折叠
相关推荐
-
小米 15 系列新机通过无线电核准,距离发布更进一步
感谢IT之家网友 星痕永至 的线索投递! IT之家 9 月 2 日消息,今日,有 24129PN74C、2410DPN6CC 两款新机通过了国内无线电核准,据博主 @数码闲聊站 透…
-
曝三星S25 Ultra将配备全新传感器 但尺寸小于前代机型
【CNMO科技消息】近日,CNMO注意到,三星全新一代旗舰级安卓手机S25 Ultra再度曝光。据爆料人士i冰宇宙透露,Galaxy S25 Ultra将配备全新传感器,其中超广角…
-
Samsung Galaxy S24 Ultra vs Samsung S23 Ultra vs Apple iPhone 15 Pro Max
三星电子最近发布了其最新的旗舰手机——Galaxy S24 Ultra。这款新机型与去年的S23 Ultra相比,在多个方面都有所提升。与此同时,苹果的iPhone 15 Pro …
-
OPPO Find X8系列将在全球发售:首批搭载天玑9400
快科技6月7日消息,本周OPPO在伦敦举行了一场活动,在活动上,OPPO承诺将会在2024年底之前将生成式AI带给全球5000万用户。 与此同时,OPPO确认,下一代Find X系…
-
华为李小龙:Mate 80 RS 手机不只支持显示 BT.2020 色域,高饱和场景拍照也可自动切换
感谢IT之家网友 蛋炒鱼、雨雪载途 的线索投递! IT之家 12 月 5 日消息,华为终端 BG CTO 李小龙昨天在微博透露,华为 Mate 80 RS 非凡大师手机拥有一项全系…
-
【IT之家评测室】机械手第一次走进家庭:石头自清洁扫拖机器人 G30 Space 探索版深度体验
今年初 CES 展会上,石头科技发布了首款自带机械手的扫拖机器人产品。当时,笔者看到这一新闻时,内心并未泛起太大波澜。主要原因在于,笔者此时潜意识里仍觉得,这样的产品属于实验室阶段…
-
小米 15S Pro 手机“意外曝光”:有望搭载超宽带 UWB 技术、支持 90W 快充
感谢IT之家网友 X42 的线索投递! IT之家 4 月 6 日消息,博主 @数码闲聊站 发文援引小米林斌(小米联合创始人,副董事长)的微博,透露了小米 15S Pro 手机的存在…
-
动摇索尼独供地位,消息称三星为苹果 iPhone 18 系列在美国建相机新厂
IT之家 10 月 16 日消息,韩媒 The Elec 昨日(10 月 15 日)发布博文,报道称苹果已开始为 iPhone 18 系列相机深度布局供应链,三星电子时隔近十年将重…
-
Counterpoint 报告 2025Q2 印度手机市场:vivo 20% 出货量第一、三星 23% 出货额居首,iPhone 16 机型出货量最高
IT之家 7 月 31 日消息,市场调查机构 Counterpoint Research 昨日(7 月 30 日)发布博文,报告称 2025 年第 2 季度印度智能手机出货量同比增…
-
定心丸:索尼 Xperia 1 VII 被曝今年会登场,Exmor T 加持提升影像实力
IT之家 3 月 1 日消息,消息源 @Ricciolo1 于 2 月 26 日在 X 平台发布推文,曝料称“Xperia 1 VII 即将到来”,表明索尼会继续其智能手机产品线,…
