IT之家 5 月 9 日消息,OPPO Find 系列产品负责人周意保昨日发表了自己关于折叠屏手机发展方向的观点,他认为“外折没有意义,代价大于收益。外折,已经在行业慢慢消失,三年内会完全消失。”此外,他还表示,可同时内外折的,360 度折叠的模型,他桌子里有很多,没有意义。

周意保今日再次对自己发表的观点进行了确认,同时配图苹果 iPhone 折叠屏专利新闻。

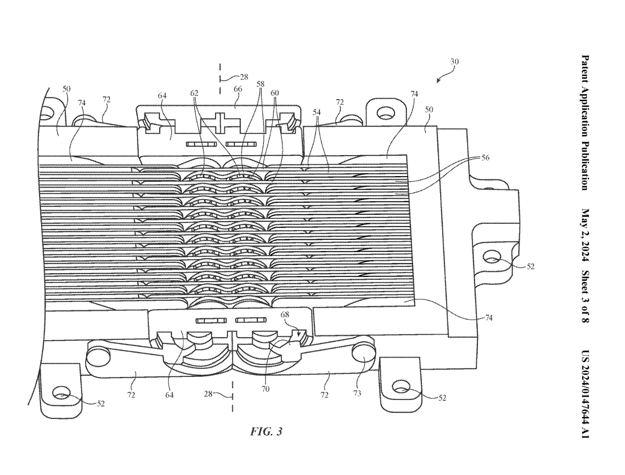
苹果公司近期获得了一项关于折叠屏 iPhone 的新专利。目前市面上的折叠屏手机都以向内或者向外单向折叠方式为主,IT之家注意到苹果公司在这项专利中探索了双向折叠方式。

广告声明:文内含有的对外跳转链接(包括不限于超链接、二维码、口令等形式),用于传递更多信息,节省甄选时间,结果仅供参考,IT之家所有文章均包含本声明。
文章来源于互联网:IT之家-OPPO 周意保:折叠屏手机外折方案三年内完全消失
相关推荐
-
iQOO Neo11 手机核心配置公布:骁龙 8 至尊 + 电竞芯片 Q2、升级金属中框,10 月 30 日发布
感谢IT之家网友 風見暉一 的线索投递! IT之家 10 月 23 日消息,号称“史上最强 iQOO Neo”的 iQOO Neo11 手机已定档 10 月 30 日 19 时发布…
-
字节跳动:研发AI手机信息不实,目前没有自己做手机并销售的计划
6月12日,有消息称字节跳动已于两个月前秘密启动AI手机研发项目。该项目核心团队主要由两部分人员构成:一部分来自2019年字节收购的锤子手机研发团队,另一部分则来自2021年收购的…
-
魅族 Flyme AIOS 2 年末版本官宣,新增 Aicy 识屏全能提取、图库动态景深拼图两大功能
感谢IT之家网友 風見暉一 的线索投递! IT之家 12 月 31 日消息,魅族 Flyme 产品经理陈家沂昨日官宣,岁末将至,Flyme AIOS 2 将带来两大重磅功能升级: …
-
5月15日见!华为官宣夏季全场景新品发布会:手表、平板、电脑全都有
快科技5月8日消息,今日,华为宣布将于5月15日14:30举行夏季全场景新品发布会,届时将有多款新品发布。 据了解,当地时间5月7日,华为在迪拜召举办了全球创新产品发布会。 文章来…
-
Epic Games 硬刚苹果:Webshops 打破 iOS 支付壁垒,绕开 27% 抽佣
感谢IT之家网友 手写的从前 的线索投递! IT之家 5 月 2 日消息,Epic Games 趁苹果因违反禁令受罚之际,推出全新 Webshops 服务,旨在帮助第三方开发者更便…
-
SK海力士宣布开发出新一代移动端NAND闪存解决方案“ZUFS 4.0”,2024年第三季度量产并搭载于端侧AI手机
IT之家 5 月 9 日消息,SK 海力士公司今日宣布,公司开发出用于端侧(On-Device)AI 的移动端 NAND 闪存解决方案产品“ZUFS(Zoned UFS)4.0”。…
-
行业唯一!vivo Pad3 Pro跑分超213万:全球首款天玑9300平板
快科技3月26日消息,今日晚间,vivo举行新品发布会,vivo Pad3 Pro率先登场。 据了解,vivo Pad3 Pro是首款天玑9300平板,跑分高达213万+,是行业第…
-
realme 真我 GT7 Pro 手机支持 IP68 & IP69 防尘防水,拥有水下摄影模式
感谢IT之家网友 朱丶工作室、大学生、偏科骚黄4100只眼、風見暉一 的线索投递! IT之家 11 月 3 日消息,真我手机今日发文宣布,realme 真我 GT7 Pro 将支持…
-
荣耀 Magic Vs3 折叠屏手机上架京东:矩形相机模组 + 绿、黑、白三款配色,7 月 12 日发布
感谢IT之家网友 什么东西 的线索投递! IT之家 7 月 8 日消息,荣耀 Magic 旗舰新品发布会将于 7 月 12 日举行,届时将带来 Magic V3 折叠屏手机、Mag…
-
HMD Crest 5G 手机上架京东:紫光展锐 T760 + 8G + 256G 售 1199 元
IT之家 1 月 30 日消息,HMD Global 在 2024 年 7 月推出了 HMD Crest 入门低端手机,上月官方预热该机将推出全球版本。 IT之家注意到,目前这款手…
