在研究可折叠或弯曲的显示屏类型的同时,苹果公司还在继续研发技术,使iPhone显示屏本身能够”治愈”不可避免的磨损。苹果公司研发可折叠 iPhone至少已有 9 年时间,它还研究过屏幕可以卷起来的iPhone。在每种情况下,问题都在于如何使这些屏幕正常工作,并且不会因折叠或滚动而损坏。
现在,一项新获得的专利提出了一种方法,既能最大限度地减少损坏,又能在损坏发生时采取措施。”具有柔性显示屏覆盖层的电子设备”建议将显示屏的刚性区域和柔性区域混合使用,然后利用苹果公司所谓的”自我修复”技术。
该专利中最有趣的部分正是自愈功能。遗憾的是,在长达 11000 多字的专利中,虽然有 147 处提到了自愈,但关于自愈能做什么的细节却很多,而关于如何实现自愈的细节却很少。
苹果公司的专利称:”电子设备可以有一个铰链,允许设备围绕弯曲轴弯曲。显示屏可以跨越弯曲轴。为了便于围绕弯曲轴弯曲而不造成损坏,显示屏可以包括一个带有柔性部分的显示屏覆盖层”。
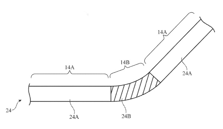
苹果公司提出,虽然显示屏可以延伸到整个设备,但它可能由三个元件组成。其中两个是常规的固定屏幕,而第三个则是将它们连接在一起的柔性部件。

专利细节显示铰链的位置
苹果公司提出,这种柔性层本身可能”包括一层弹性体”,这就是自我修复元件。弹性体具有伸缩性,但可以恢复到原来的形状–可以类比某些床垫中的记忆泡沫。通常情况下,这种恢复原状的能力是由热量激发的,例如人睡在床垫上产生的体温。
“自愈合可在自愈合材料层中发生,无需提示(例如,当自愈合涂层出现凹痕时,即使没有外部干预,涂层材料也可填补凹痕),”文档介绍说。”另外,也可以通过外部施加热、光、电流或其他类型的外部刺激来启动或加速自愈合”。
苹果公司建议,”显示屏覆盖层……包括形成加热层的透明导体,以启动愈合过程。加热层可用于根据用户输入、预定时间表或在电子设备充电时产生热量。”
该专利还试图涵盖所有可能的情况,例如,它谨慎地明确指出,这项技术可用于从”笔记本电脑等计算设备”到电话,甚至”腕式手表设备、吊坠设备、其他类型的可穿戴设备或微型设备等小型设备”。
报告还说,显示屏可以是由两个刚性元件和一个柔性元件组成,但也可以是单个显示屏。不过,在所有描述中,显示屏都是由多层组成的。
苹果公司表示:”[它]的最外层可能由透明玻璃、透明塑料、蓝宝石或其他透明材料形成,作为薄膜晶体管电路和其他显示结构的保护层。显示屏外层有时可称为显示屏覆盖层”。

一种可能是由两个刚性部件和两个部件之间的一个柔性元件组成的显示屏
有些层将充当实际的显示屏,而其他层则用于保护屏幕,尤其是在屏幕被弯曲时。”[一个]设备可以围绕弯曲轴进行折叠(弯曲 180 度或其他适当的幅度),这样,在折叠状态下,从设备的外部就可以看到显示屏”。
苹果公司每年都会申请至少数百项专利,但即使获得了专利,也并不意味着产品会随之面世。专利所代表的是苹果公司至少正在研究的课题。
就这项专利而言,这项研究似乎并不只是偶然的兴趣。因为虽然这是一项新授予的专利,但它以前也曾被授予过。
这通常意味着,苹果公司在研究该课题时希望对专利进行修改。这种改动可能很小,很难被发现,就像这次一样,但这意味着苹果公司必须重新进行专利申请。
这项专利归属于七位发明者。他们包括 Hoon Sik Kim 和 Paul S. Drzaic,两人之前都获得过一项相关专利,涉及折叠 iPhone 如何在关闭状态下显示通知。
