IT之家 5 月 25 日消息,根据美国商标和专利局昨日公示的清单,苹果公司获得了一项关于“数字石头”的专利,配备了屏幕,且支持语音识别功能,可以配合 Vision Pro 头显使用。
IT之家翻译专利中部分内容如下:
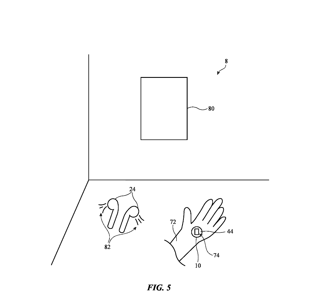
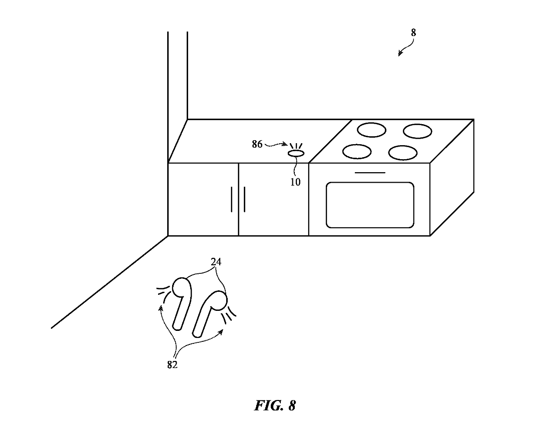
例如,一个 [鹅卵石或硬币大小] 的手持电子设备可以有以下内容:
一个用于收集触摸输入和提供视觉输出的小型触摸感应显示屏
一个或多个用于收集语音输入的麦克风
一个或多个用于提供音频输出的扬声器
用于跟踪手持电子设备位置
跟踪外部电子设备位置的位置跟踪电路
还可以包括触觉输出设备,用于向用户提供触觉输出。


该手持电子设备具备多种用途:
可用作语音控制助手
可用作运行一个或多个软件应用程序(如天气应用程序、音乐流应用程序、计算器应用程序、日历应用程序、支付应用程序等)的独立电子设备
可用作扬声器、电灯、厨房电器等家用物品的遥控器
可用作增强现实或虚拟现实系统中的锚点或视觉标记
可用作收集输入和 / 或提供与外部电子设备(如耳机、扬声器)相关输出的附属设备
可用作增强现实或虚拟现实系统中的锚点或视觉标记
可用作收集输入和 / 或提供与外部电子设备(如耳机、扬声器、移动电话、平板电脑、笔记本电脑、头戴式设备等)相关输出的附属设备
其它功能







相关推荐
-
水月雨发布洛天依联名款Blessing3L耳机,限量712套
IT之家 9 月 17 日消息,水月雨今天发布了洛天依联名款 Blessing3L 监听入耳式耳机,主打洛天依风格联名设计、两圈四铁三分频混合式设计,建议零售价 2199 元 / …
-
曝华为MatePad Pro 12.2平板8月登场:支持星闪、卫星通信
快科技7月8日消息,据博主“体验more”爆料,预计华为8月会有两款平板登场,分别是MatePad Pro 12.2、MatePad 11.95。 其中,MatePad Pro 1…
-
CES 2025新品最全前瞻:可穿戴与PC爆发,芯片厂商疯狂炫技
一年一度的全球消费电子盛会,很快又将拉开帷幕,雷科技报道团已经启程前往拉斯维加斯,为1 月 7 日起举行的 CES 2025 消费电子展报道做整备。 作为全球科技盛宴,CES 一向…
-
联想拯救者R9000P 2025游戏本9955HX版发布,至高RTX 5070
IT之家 9 月 14 日消息,联想今日在武汉 AMD 帧香电竞节上正式发布了搭载 AMD 锐龙 9000HX 平台的新版拯救者 R9000P 2025 AI 元启游戏笔记本电脑,…
-
CounterPoint报告6月中国最畅销手机榜单:iPhone 16 Pro/Max居首
IT之家 9 月 11 日消息,市场调查机构 CounterPoint Research 昨日(9 月 10 日)发布博文,报告了 2025 年 6 月中国市场最畅销 5 款智能手…
-
小米REDMI游戏手柄官方首发,支持映射模式切换、组合/分体使用
IT之家 6 月 22 日消息,小米相机部的产品经理 @Bao_小李 昨日“全网首发”REDMI 游戏手柄上手视频,并用该手柄搭配 K Pad 平板玩了《黑神话:悟空》云游戏。 视…
-
HAPPRUN投影仪:亚马逊美国特惠,限时折扣40美元,仅需149.99美元!
随着家庭娱乐的不断升级,HAPPRUN投影仪以其卓越的性能和便携性,在市场上脱颖而出。这款具有WiFi和蓝牙功能的投影仪,现在在亚马逊美国以149.99美元的优惠价格出售,比原价1…
-
苹果iMac 24英寸多功能一体机特惠来袭,美国Best Buy限时折扣价799.99美元,节省高达450美元
近日,美国知名电子产品零售商Best Buy推出了一项令人瞩目的优惠活动,苹果Apple的iMac 24英寸多功能一体机以特惠价799.99美元亮相,相较于原价1,249.99,节…
-
兮客推出USB 3.2 Gen 2万兆网卡,基于瑞昱RTL8159芯片
IT之家 10 月 17 日消息,瑞昱 Realtek 在今年推出了多款 10GbE 有线网络解决方案,丰富了万兆生态的芯片选项。下游厂商兮客 XikeStor 便在今日推出了基于…
-
真正的全球首款骁龙X Elite迷你机来了!绝对不便宜
快科技12月4日消息,为什么要说真正呢?因为高通之前发布过一套“Windows版骁龙开发套件”,本质上就是个迷你机,只是仅面向开发者,也太贵了,不到半年就把它给废了。 现在,积核(…
