【CNMO科技】关于苹果可折叠手机的传言似乎已经存在了很长时间。如今,三星的折叠屏手机都已经进入第五代了,还即将发布最新的Z Fold6和Z Flip6了,而苹果的折叠屏手机依旧没看到任何产品。
然而,苹果似乎很少有兴趣成为第一家推出新产品的公司,它更愿意稍后推出产品,但希望做得更好,这也是苹果在许多产品上的一贯策略。

但考虑到可折叠手机如今已经开始大规模出货,除了三星外,像华为、谷歌、一加、小米等都带来了旗下的折叠屏手机,给三星带来了更大的竞争,而在全球销量排名靠前的厂商中,只有苹果没有一款折叠屏手机,这是难以想象的。因此,有不少人认为,苹果也将和大家一样,带来可折叠iPhone。
指望新的折叠屏iPhone与iPhone 16一起发布应该是不可能了,但有一些明确的迹象表明,苹果正在开发自己的可折叠手机。如果有的话,它可能会更晚一些,2018年10月的一份报告暗示,苹果可能会在2024年底或2025年初首先推出一款可折叠iPad进行试水,然后再推出可折叠iPhone。

然而,最近的一个传言声称,三星显示——这家为iPhone提供了大量屏幕的公司,正在加强现有团队的力量,以便为可折叠iPhone制造所需的可折叠屏幕。这可能表明,可折叠iPhone可能比预期的要早到来。目前,苹果似乎还没有一个“具体的时间表”来发布可折叠设备。这表明相关设备的出现,还有很长的路要走。
话虽如此,2024年2月的一份报告称,可折叠iPhone在2026年或2027年发布的可能性很大,三星显示和LG显示显然都已经向苹果发送了屏幕样品。不过奇怪的是,报道称,苹果还没有首款可折叠设备究竟是iPad还是iPhone。
2月之后的一份报道则显示,可折叠iPhone计划在2026年9月发布,这可能意味着它会与iPhone 18一起发布。这份报告还补充说,苹果已经将Vision Pro团队的大部分人员调入到了这款手机的开发上,该公司的目标是销售5000万部。2026年推出的说法,后来也得到了泄露的苹果产品路线图的支持。
最近,我们还听说可折叠iPhone可能会从2026年底推迟到2027年初,最新的TrendForce报告称,由于公司对折痕和可靠性的严格要求,苹果不太可能在2027年之前发布可折叠手机。

然而,还有消息源对可折叠iPhone的出现表达了悲观情绪。有消息称,由于苹果找不到它满意的屏幕,可折叠iPhone的开发已经暂停。所以实际的时间线有些不清楚。并且一些分析师现在认为可折叠iPhone项目可能最终会被取消,所以我们可能根本看不到它。
当然,我们也不知道如果可折叠iPhone真的发布,它的售价会是多少,但考虑到许多可折叠手机的价格远远超过1000美元,可以预想苹果的价格会更高。我们迄今为止看到的唯一价格泄露指出价格为2500美元,所以如果你真的想要的话,建议你现在就开始存钱。
至于名称,我们听说它可能被称为iPhone Flip,这可能是指我们看到的类似三星Galaxy Z Flip的样子,这些专利暗示了一种翻盖式折叠模式。不过,实际上,它叫任何名字都有可能。
目前,关于可折叠iPhone的传言主要分为两大阵营:一方面是设备将拥有真正的可折叠屏幕,另一方面则表明,新折叠屏将拥有由铰链分隔的两个独立屏幕。
2019年2月的一次专利公布中揭示了几种设计,有些设计在单个铰链连接的折叠部分内部有一个大显示屏,而另一种设计则有两个铰链,用于假设性的三个显示屏,它们可以像Z字形那样折叠在一起。

其他专利,如2020年3月发现的专利,揭示了苹果可能正在研发一个由铰链分隔的两个独立显示屏的可折叠设备。虽然专利设计表明,苹果会尽可能地减少屏幕之间的折痕,但它仍然会比真正的长折叠屏幕更明显。
此前,曾有爆料者表示,苹果当时的可折叠iPhone设计有两个独立的显示面板和一个铰链。虽然它只是一个“当前原型”而不是最终设计,但它被描述为拥有类似iPhone 11的圆润边缘,与iPhone 12和iPhone 13系列的直角边缘并不相同。此外,新机的前置摄像头也没有凹槽,用于检测Face ID的传感器将被安置在外部显示屏的一个“小额头”上。
这与Prosser后来的泄露信息相匹配,他暗示iPhone Flip可能会采用翻盖式设计——类似于2020年的摩托罗拉Razr或三星Galaxy Z Flip。同一消息源还表示,它将以“有趣的颜色”出售,这意味着iPhone Flip上市时,你可以期待一些独特且大胆的配色出现。
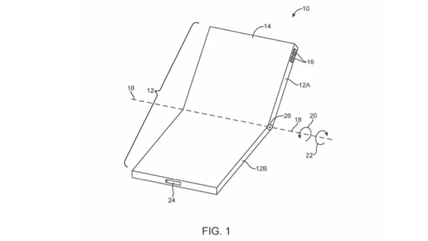
我们还看到了另一个专利中可折叠iPhone可能的外观图像,这个专利展示了一个像三星Galaxy Z Fold 2那样展开成更大设备的手机,可以称之为iPhone Fold。它有一个较大的屏幕,所以当它折叠关闭时,你可以在一边看到你的通知。

另一个泄露信息表明,这款折叠iPhone可能会支持Apple Pencil,并且拥有7.3英寸或7.6英寸的显示屏。实际上,我们最近听说苹果的第一款可折叠设备可能有一个大约7-8英寸的屏幕,这很可能意味着它将是一款大折叠屏设备。
我们还从分析师那里听说,苹果正在测试E Ink的电子纸显示屏(EPD)作为可折叠手机的外屏。这将是一个彩色的类似电子阅读器的屏幕,可以长时间开启而不会消耗太多电池。
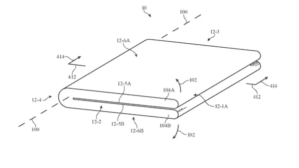
苹果的可折叠手机还可能在屏幕上方有一个保护层,可以防止裂纹并填补已有的微裂纹,以帮助避免断裂。苹果已经为这项技术申请了专利。此外,苹果的一项专利详细描述了一个既细又强的铰链,可以用于配备柔性屏的手机上。不过苹果并未透露更多消息,但它是iPhone Fold或iPhone Flip可能正在研发中的更多证据。
此外,一份报告还表明,苹果已经有两款可折叠iPhone设计通过了耐久性测试。这并不意味着这将更快发生,但这是一个好迹象,表明苹果正走在正确的道路上。

我们最近看到的苹果专利详细介绍了配备触摸感知的固态按钮,这将允许用户使用其边缘而不仅仅是显示屏来控制可折叠iPhone。苹果解释称,触摸传感器将位于由“足够小以至于肉眼看不见的薄金属线”组成的“侧壁”而不是常规壁内。
除了所有的泄露信息,我们还看到了一个由国内团队制作的非官方版iPhone Flip。不过该版本渲染图在制作过程中涉及了很多妥协,但如果苹果的可折叠设备在设计上类似于三星Galaxy Z Flip系列,那么它可能看起来像是这个的一个更加精致的版本。
文章来源于互联网:凤凰网-折叠屏iPhone爆料汇总 有多种屏幕形态
