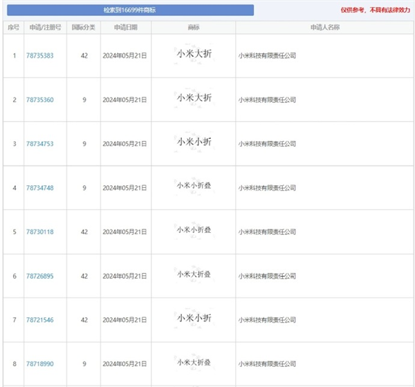
快科技6月11日消息,来自中国商标网的信息显示,小米已提交“小米小折叠”、“小米大折叠”等8个折叠屏相关商标的申请。

相关页面显示,上述商标申请日期均为2024年5月21日,申请人为小米科技有限责任公司,包括“小米大折”“小米小折”“小米小折叠”“小米大折叠”等。
据此前消息,小米全新一代折叠屏旗舰MIX Fold 4已经入网,认证显示该机将支持天通卫星通信。

据爆料,MIX Fold 4预计会在7-8月份登场,搭载高通骁龙8 Gen3处理器。
至于小折叠,小米第一款小折叠MIX Flip已经现身IMEI数据库,这款设备将在全球上市发售。

从曝光的谍照来看,小米MIX Flip的A面分为两部分,上层为双摄模块,搭配双闪光灯,印有徕卡标识。
下方为一块大尺寸的外屏,预计在功能、交互上带来更多新玩法,同时适配的第三方软件也会更加丰富。

此前,小米MIX Flip已经正式入网,支持67W快充,预计将搭载骁龙8 Gen处理器。
预计,该机将于近期发布。
文章来源于互联网:凤凰网-小米提交8个折叠屏相关商标申请:小米大折、小米小折都来了
相关推荐
-
刘作虎:OPPO 目前在折叠屏累计投入研发资金超 30 亿元,专利数量跻身全球 TOP3
IT之家 3 月 11 日消息,OPPO 今天下午举行了“无感折痕技术沟通会”,介绍了 Find N6 折叠屏手机在屏幕方面的技术。 IT之家注意到,OPPO 首席产品官、一加创始…
-
荣耀 MagicOS 下个 OTA 版本将支持控制中心实时模糊,已在最后测试阶段
感谢IT之家网友 有鲫雪狐 的线索投递! IT之家 11 月 16 日消息,荣耀研发工程师 @荣耀曹工 今日分享称,MagicOS 10 下个 OTA 版本已在最后测试阶段。 有用…
-
iPhone 13 Pro Max用户这样买OnePlus 11 5G优惠520美元,仅需179.99美元
美国OnePlus Store特别推出OnePlus 11 5G以旧换新活动,为您带来前所未有的优惠! 现在购买OnePlus 11 5G,即可享受高达9折的优惠,优惠70美元!同…
-
摩托罗拉 Moto G Power 2025 / Moto G 2025 手机发布,199.99 美元起
IT之家 1 月 14 日消息,2025 年刚刚过去两周,摩托罗拉便推出了其今年的首批两款智能手机 ——Moto G Power 2025 和 Moto G 2025。这两款新机延…
-
注销手机号等于出卖自己?信息安全保护可以这样做
集微网消息,近日,“注销手机号等于出卖自己”的话题引发热议。这个话题来源于安徽铜陵公安局民警发布的一条安全防范视频。视频中提到,手机号注销后,运营商会重新将其投入市场销售。如果不对…
-
OPPO ColorOS“新春限定水印”功能 1 月 18 日起陆续推送
IT之家 1 月 16 日消息,OPPO 官方今日发文宣布,ColorOS“新春限定水印”功能将于 1 月 18 日开始陆续推送。预热海报显示,水印内容包括机型信息、字符“金蛇献祥…
-
realme 真我 GT8 系列手机官宣支持《王者荣耀》原生 144 帧 + 极致画质
IT之家 12 月 3 日消息,真我 realme 副总裁、全球营销总裁、中国区总裁徐起今日宣布:真我 GT8 系列手机现已支持《王者荣耀》原生 144 帧 + 极致画质。 据介绍…
-
vivo X100s / Pro 手机开售:天玑 9300 + 处理器、蔡司超级长焦,3999 元起
IT之家 5 月 17 日消息,vivo X100s / Pro 手机今日开售,首发搭载天玑 9300 +,蓝海电池、蔡司超级长焦加持,标准版售价 3999 元起,Pro 版售价 …
-
Nothing CEO 裴宇透露收购“安卓之父”公司原因:曾考虑沿用 Essential 品牌名
IT之家 6 月 12 日消息,Nothing 曾于 2021 年 2 月收购了“安卓之父”Andy Rubin 创立的 Essential 公司,Nothing 联合创始人兼首席…
-
OPPO Find X7 Ultra 手机获推 501 版本更新:新增 RAW MAX 格式拍照、四摄全焦段 4K 60 帧杜比视界视频录像
感谢IT之家网友 灯笼Light 的线索投递! IT之家 3 月 28 日消息,OPPO Find X7 Ultra 手机今天下午获推 14.0.1.501 版本更新,新增诸多相机…
