快科技5月9日消息,据公开资料显示,华为技术有限公司日前申请注册多个Pura系列商标。
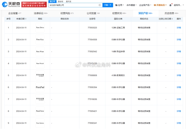
其中包括PuraPad、Pura Drive、Pura Key、Pura Watch、PuraView、Pura Ultra、Pura Wear等,国际分类包括运输工具、科学仪器、珠宝钟表。
值得注意的是,前不久华为还被发现注册了“PuraOS”商标,当前状态为等待实质审查。
从这一系列动作来看,华为或许会将Pura打造成一个完善的体系,类似子品牌,拥有全套的独立产品体系。
甚至还会打造独立系统,基于鸿蒙改版,与Mate系列等其他机型做出区分。

当然,华为此举也可能仅仅是商标保护,具体还要等待官方揭晓。
华为此前在4月15日正式宣布P系列正式升级为Pura系列,P系列在上市12周年的日子正式落幕,开启新生。
文章来源于互联网:快科技-Pura全家桶来了!华为注册Pura Pad、Pura Watch等多个商标
相关推荐
-
男子捡17岁女生苹果手机归还反被讹200元引热议:最终获道歉
快科技3月24日消息,今日一则#男子捡17岁女生手机归还反被讹200#的话题登上微博热搜,引发网友热议。 据报道,3月23日,山西长治。郭女士父亲捡到一台苹果手机,归还时机主反称手…
-
【IT之家评测室】影驰 GeForce RTX 4070Ti SUPER 金属大师 Plus OC 评测:好散热榨干每一丝性能
11 月 8 日,影驰上架了 GeForce RTX 4070Ti SUPER 金属大师 Plus OC 显卡,与之前 RTX 4070Ti SUPER 金属大师不同,这是一块 O…
-
iPhone 16 Pro 被曝支持 4K 120 FPS 视频录制,且苹果已测试 8K 录像功能
IT之家 9 月 6 日消息,根据 9to5Mac 援引“可靠消息来源”称苹果 iPhone 16 Pro 将能够以高达 120 FPS 的速度录制 4K 视频。相比之下现有 iP…
-
【IT之家评测室】影驰 GeForce RTX 5070 Ti 金属大师白金版 OC 显卡评测:新一代 4K 游戏甜品卡
自从英伟达推出 GeForce RTX 4070 Ti 显卡以来,70 Ti / Ti SUPER 就成了最适合主流玩家体验 4K 游戏的“甜品卡”,借助 DLSS 技术和架构优势…
-
“夜神”登场:小米 15 Ultra 手机首发徕卡超纯光学系统,1 英寸主摄 + 2 亿超级长焦
感谢IT之家网友 Autumn_Dream、風見暉一、朱丶工作室 的线索投递! IT之家 2 月 25 日消息,小米手机官微今日披露了小米 15 Ultra 的影像有关信息。官方称…
-
酷派 COOL50 手机公布:AG 玻璃后盖、256GB 存储、4700mAh 电池
IT之家 7 月 8 日消息,酷派今日发文官宣上市一款新机型 COOL50,该手机支持 256GB 存储、配备 4700mAh 电池,后盖采用 AG 玻璃材质,具体售价暂未公布。该…
-
iQOO Neo9S Pro 手机发布:搭载天玑 9300+,限时优惠价 2699 元起
IT之家 5 月 20 日消息,今晚 iQOO 发布了 iQOO Neo9S Pro 新机,搭载天玑 9300 + 处理器、自研电竞芯片 Q1,618 限时优惠价 2699 元起。…
-
全球首发高通骁龙 4s Gen 2,小米 Redmi A4 5G 手机将于 11 月 20 日海外上市
IT之家 11 月 18 日消息,小米宣布旗下 Redmi A4 5G 手机将于 11 月 20 日在海外上市,该机全球首发高通骁龙 4s Gen 2 处理器,外媒 GSMAren…
-
卢伟冰透露小米 17 系列目标在 6K+ 超高端起量,称有信心销量会比上代小米 15 系列更多
感谢IT之家网友 顺势而为、简介官 的线索投递! IT之家 9 月 29 日消息,小米集团合伙人、总裁,手机部总裁,小米品牌总经理卢伟冰今日发文透露了小米 17 系列立项之初的几个…
-
苹果二手iPhone价格概览,看看有没有适合你的
随着智能手机技术的不断进步和消费者需求的日益多样化,苹果二手iPhone市场逐渐崭露头角,成为许多消费者购买高性价比手机的重要选择。本文将针对iPhone 12系列、iPhone …
