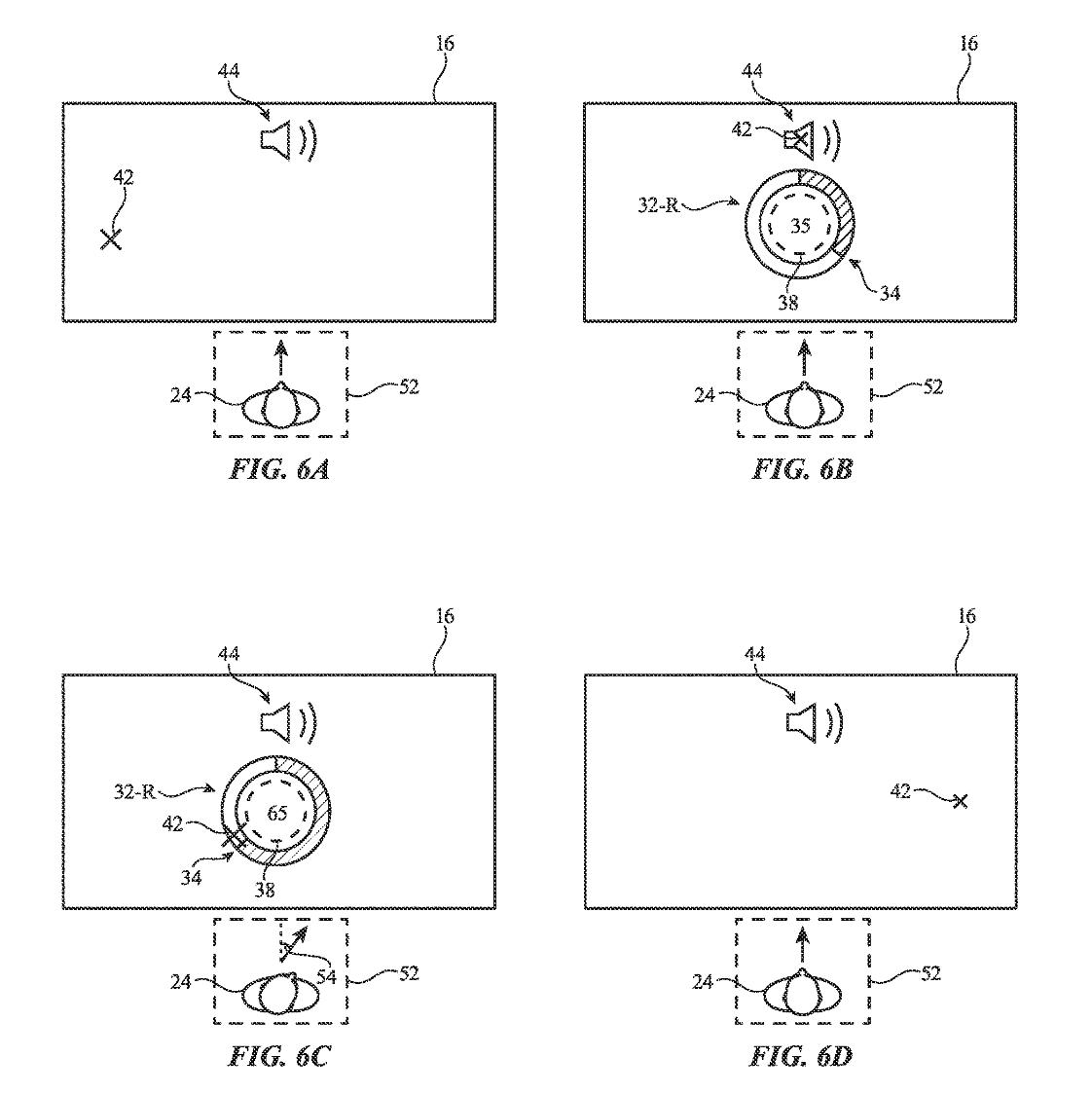
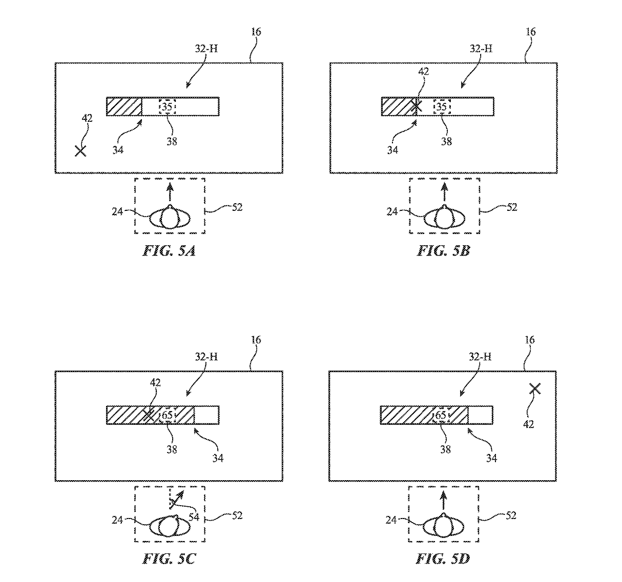
IT之家 7 月 3 日消息,根据美国商标和专利局最新公示的清单,苹果公司获得了一项关于 Vision Pro 头显的新专利,在手势、眼球追踪之外探索头部控制方案。

根据专利描述,Vision Pro 头显佩戴者可以通过倾斜或转动头部,来移动屏幕上的滑块,未来可能用于调整音量和亮度等等。
对于双手不便的 Vision Pro 头显用户来说,苹果的这项专利探索提供了新的解决方案,佩戴者只需要移动头部和观察事物,就能控制苹果 Vision Pro 头显上的一切。IT之家附上相关图片如下:


这种“头部控制”方式必然会加剧佩戴者的晕动症,因此尚不清楚苹果未来是否会部署该专利方案,装备到 Vision Pro 后续产品中。
文章来源于互联网:凤凰网-苹果Vision Pro头显新专利探索“头控”方案:可调音量、亮度等
相关推荐
-
苹果watchOS 11自动追踪睡眠情况,无需设置专注模式
原标题:无需设置睡眠专注模式,苹果watchOS 11可自动追踪Apple Watch佩戴者睡眠情况 IT之家 6 月 13 日消息,开发者 Max Weinbach 于 6 月 …
-
苹果Vision Pro上市,你心动了吗?超五成网友表示对此毫无兴趣
凤凰网科技讯(作者/张雪雍)2月4日,近期苹果Vision Pro在美国正式交付,这款售价超2万元的科技产品,在短时间内被代购炒到了将近9万元,更有网友直接打飞的赴美采购,并在现场…
-
100英寸纳米透明屏幕面世,价格仅为传统OLED十分之一
科技日报记者 刘霞 据美国趣味科学网站17日报道,韩国机械与材料研究所(KIMM)科学家使用一种新型薄膜材料,成功研制出100英寸纳米透明屏幕(NTS)。该屏幕纤薄如人的头发丝,能…
-
苹果官网上架午夜色HomePod mini:749元
快科技7月15日消息,今日晚间,苹果官网突然上架了午夜色HomePod mini,售价749元,7月17日开始送货。 苹果官方介绍,午夜色HomePod mini由100%再生织物…
-
11/13英寸可选 苹果全新iPad Air 6今日开售:4799元起
快科技5月15日消息,据苹果官方消息,全新一代主打轻薄的iPad Air 6今天正式发售,价格是4799元起。 值得注意的是,这代产品是Air系列首次推出双尺寸,分别提供了11英寸…
-
OPPO A6 Max手机发布:骁龙7Gen3+8G+256G售1599元
IT之家 8 月 30 日消息,OPPO 现已在其快手旗舰店悄悄上架一款 OPPO A6 Max 手机(暂未上架其他电商平台),该机搭载骁龙 7 Gen 3 处理器,匹配 8GB …
-
三星Samsung Unpacked盛会前瞻:Samsung Galaxy S24领衔
随着三星Samsung Unpacked活动的临近,全球粉丝们都在翘首期待下一代Samsung Galaxy设备的发布。据传,此次发布会的主角将是Galaxy S24系列,而除此之…
-
苹果Apple上架近500元龙年手机壳 专为iPhone 15系列设计
据报道,苹果Apple官网近日上架了一款特别的龙年手机壳,这款手机壳由知名插画师Yulong Lli精心绘制,旨在庆祝中国龙年的到来。这款手机壳来自OtterBox Lumen系列…
-
HMD出品第二代诺基亚800功能机曝光:升级2.75W USB-C接口
IT之家 10 月 14 日消息,据外媒 Nokiamob 现已公布 HMD Global 正在研发的第二代诺基亚 800 Tough 功能机完整规格,该机主要升级 USB-C 2…
-
美国Samsung Store限时优惠:32″ M80C Smart Monitor 4K UHD优惠200美元,仅售499.99美元!
美国三星商店Samsung Store正在进行限时优惠活动,32″ M80C Smart Monitor 4K UHD限时优惠200美元,售价仅为499.99美元!这款显示器以其出…
