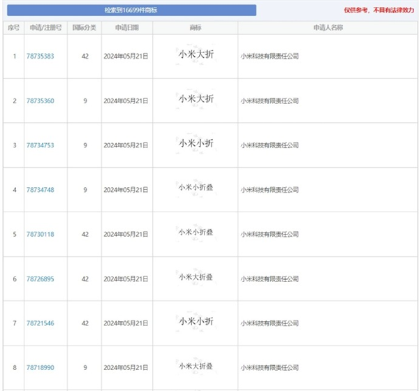
快科技6月11日消息,来自中国商标网的信息显示,小米已提交“小米小折叠”、“小米大折叠”等8个折叠屏相关商标的申请。
相关页面显示,上述商标申请日期均为2024年5月21日,申请人为小米科技有限责任公司,包括“小米大折”“小米小折”“小米小折叠”“小米大折叠”等。
据此前消息,小米全新一代折叠屏旗舰MIX Fold 4已经入网,认证显示该机将支持天通卫星通信。

据爆料,MIX Fold 4预计会在7-8月份登场,搭载高通骁龙8 Gen3处理器。
至于小折叠,小米第一款小折叠MIX Flip已经现身IMEI数据库,这款设备将在全球上市发售。

从曝光的谍照来看,小米MIX Flip的A面分为两部分,上层为双摄模块,搭配双闪光灯,印有徕卡标识。
下方为一块大尺寸的外屏,预计在功能、交互上带来更多新玩法,同时适配的第三方软件也会更加丰富。

此前,小米MIX Flip已经正式入网,支持67W快充,预计将搭载骁龙8 Gen处理器。
预计,该机将于近期发布。
文章来源于互联网:快科技-小米提交8个折叠屏相关商标申请:小米大折、小米小折都来了
相关推荐
-
荣耀 YOYO 助理接入智能检测,支持自动定位、排查设备问题等
IT之家 2 月 24 日消息,荣耀客服官方微博今日发文宣布,YOYO 助理已接入智能检测。据介绍,用户可通过 YOYO 助理一句话直达、自动定位,排查各种设备问题等。 IT之家从…
-
华为HUAWEI Pura 70 Ultra登顶DXOMARK影像测试,总分163分位列全球第一
今日,知名影像测试机构DXOMARK公布了华为Pura 70 Ultra的影像测试得分,结果显示该手机以总分163分的优异成绩,成功登顶DXOMARK全球影像排行榜,位列第一。这一…
-
备战 iPhone 18 系列,苹果被曝已向三星下单 1300 万颗 10nm LPDDR5X 内存芯片
IT之家 10 月 24 日消息,据 The Bell 昨日报道,苹果正为 2026 年发布的 iPhone 18 系列提前布局供应链,三星电子已经收到了苹果对于 DRAM 扩大供…
-
OPPO 周意保:未来只要是 Find 系列机型,一定会支持无线充电
IT之家 10 月 18 日消息,在昨日上午举行的 2024 OPPO 开发者大会上,ColorOS 15 系统大版本正式发布。OPPO Find 系列产品负责人周意保昨日也发布视…
-
Samsung Galaxy S24 5G在意大利ePRICE优惠,可省185.21欧元,仅售844.62欧元
在意大利的ePRICE商店购买Samsung Galaxy S24 5G(256GB)版本,原价1029.83欧元,优惠185.21欧元,优惠完仅售844.62欧元,包括增值税,需…
-
荣耀 GT Pro 手机预热:骁龙 8 至尊领先版处理器、屏幕瞬时触控采样率 2700Hz,4 月 23 日发布
感谢IT之家网友 風見暉一、Autumn_Dream 的线索投递! IT之家 4 月 21 日消息,荣耀 GT Pro 手机将于 4 月 23 日 14:30 发布,新机定位“电竞…
-
Apple iPhone 17传闻:将引入超硬抗反射层技术,或超越三星Galaxy S24 Ultra?
随着智能手机技术的飞速发展,各大厂商都在积极寻求创新,以在激烈的市场竞争中脱颖而出。近日,有关苹果Apple即将发布的iPhone 17系列的传闻引起了广泛关注。据业内消息人士透露…
-
379元诺基亚复刻版手机卖断货:官微推荐更便宜的220
快科技5月13日消息,上周诺基亚发布了全新的复刻机型“诺基亚3210 4G”。 这是为了庆祝3210功能机发布25周年,外观完美复刻了当年的造型,但功能上更多,甚至支持支付宝移动支…
-
realme 新机通过无线电核准,预计为真我 13 Pro 国行版
IT之家 6 月 30 日消息,6 月 28 日,一款型号为 RMX3989 的 realme 新机通过无线电核准,预计为真我 13 Pro 国行版。 目前,关于真我 13 Pro…
-
三星公布 One UI 6.1.1 适配设备清单:9 月 5 日起推送,扩充 Galaxy AI 功能
IT之家 9 月 6 日消息,三星昨日(9 月 5 日)发布博文,公布了 One UI 6.1.1 适配设备名单,并承诺为全球更多用户带来最新的 Galaxy AI 功能。 IT之…
