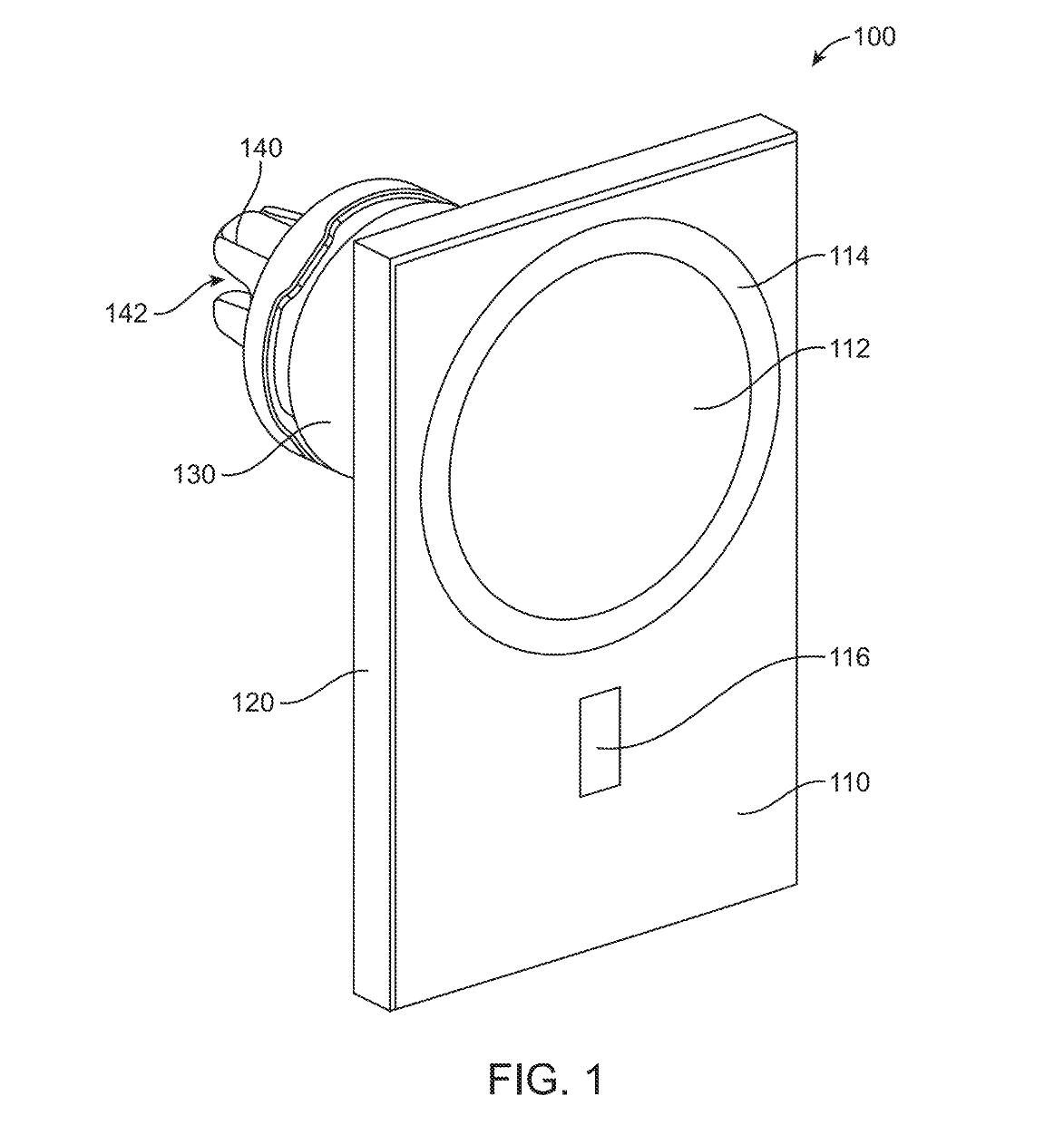
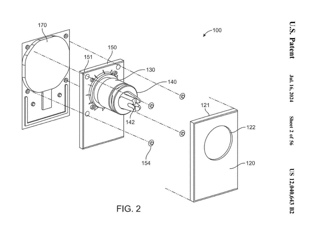
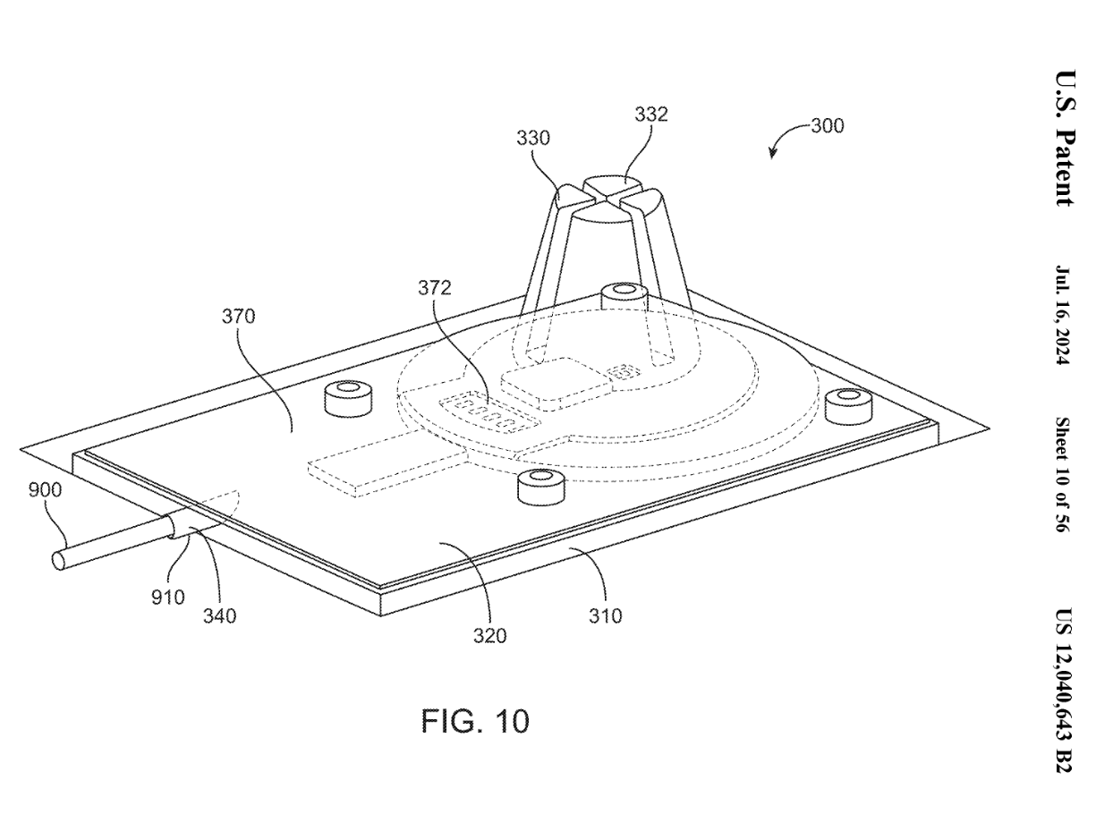
IT之家 7 月 20 日消息,美国商标和专利局(USPTO)于 7 月 16 日发布公示,苹果公司获批一项新的设计专利,暗示该公司未来将会推出支持无线充电的车用 MagSafe 支架。

苹果公司在专利中表示,iPhone 等电子设备已成为用户的日常携带物品,针对汽车驾驶场景,开发专门的支架,避免因急转弯或急刹车等情况下,导致 iPhone 移动、脱落等。
苹果在专利中探索了固定 iPhone 的车用支架,可以固定在通风口盖、仪表板、中控台、杯座等汽车内饰上,并且支持 MagSafe 无线充电,可以给 iPhone 或者其它支持 Qi 标准的设备充电。IT之家附上相关图片如下:



广告声明:文内含有的对外跳转链接(包括不限于超链接、二维码、口令等形式),用于传递更多信息,节省甄选时间,结果仅供参考,IT之家所有文章均包含本声明。
相关推荐
-
消息称 iQOO Z10 Turbo+ 手机搭载满血天玑 9400+ 处理器,机身厚度 8mm±
感谢IT之家网友 偏科骚黄4100只眼、顺势而为 的线索投递! IT之家 7 月 28 日消息,iQOO 今日宣布 Z10 Turbo+ 手机新品发布 8 月见,并开启福袋预约。 …
-
消息称华为将发布HUAWEI P70 Pro Art手机 配备最先进XMAGE相机
有消息称,华为即将发布一款名为HUAWEI P70 Pro Art的顶级智能手机,据传这款手机将配备迄今为止最先进的XMAGE相机。华为一直致力于提升其手机摄影性能,而P70 Pr…
-
巅峰旗舰手机对决:三星 Galaxy S25 Ultra 多核跑分比 iPhone 16 Pro Max 高 19.5%
IT之家 1 月 25 日消息,消息源 @TECHINFOSOCIALS 昨日(1 月 24 日)在 X 平台发布推文,曝料对比了三星 Galaxy S25 Ultra(运行 On…
-
中框类似诺基亚 Lumia 830,HMD Skyline 手机新版渲染图曝光
IT之家 7 月 14 日消息,消息源 @ Nloop 曝光了 HMD Global 旗下“Lumia 复刻手机”HMD Skyline 的最新渲染图,相比先前版本,HMD Glo…
-
3499 元起,联想 moto razr 60 / Pro / Ultra 系列小折叠屏手机发布
IT之家 5 月 8 日消息,在今日晚间的联想天禧 AI 生态春季新品超能之夜活动中,联想 moto razr 60 系列折叠屏手机正式在国内发布,定价 3499 元起,国补后 2…
-
三星 One UI 8.5 再曝:升级内核提升流畅度,引入 6 种解锁特效
IT之家 1 月 15 日消息,消息源 @UniverseIce 昨日(1 月 14 日)在 X 平台发布推文,爆料称在 One UI 8.5 测试版系统中,三星为 Galaxy …
-
真我七周年将至,realme 中国区总裁徐起宣布明日将分享重磅好消息
IT之家 8 月 4 日消息,真我 realme 副总裁、全球营销总裁、中国区总裁徐起今日发文称,回看 realme 刚创立时的豪言壮志,更坚定 realme 就是为年轻人而生,坚…
-
iPhone 13 Pro Max用户这样买OnePlus 11 5G优惠520美元,仅需179.99美元
美国OnePlus Store特别推出OnePlus 11 5G以旧换新活动,为您带来前所未有的优惠! 现在购买OnePlus 11 5G,即可享受高达9折的优惠,优惠70美元!同…
-
荣耀陈立庚透露 Magic8 RSR 是保时捷系列的最后一代巅峰之作
IT之家 1 月 20 日消息,在昨晚的荣耀 Magic8 Pro Air 及荣耀联名设计系列新品发布会上,荣耀 Magic8 RSR 保时捷设计手机正式发布,该机搭载第五代骁龙 …
-
中国电信:6 月移动用户数超 4.16 亿户,5G 套餐用户数超 3.36 亿户
IT之家 7 月 19 日消息,中国电信今日公告,2024 年 6 月,公司移动用户数达到 41685 万户(4.1685 亿户),当月净增 147 万户,当年累计净增 908 万…
