IT之家 7 月 26 日消息,根据美国商标和专利局(USPTO)于 7 月 25 日公示的清单,苹果公司获得了一项折叠屏相关的专利,未来可用于折叠 iPhone、iPad 和 Mac 产品。

苹果的这项专利名为《带有光学角度传感器的电动设备》,重点改善折叠设备中的角度传感器,从而让系统灵活根据设备状态调整 UI。
苹果公司表示,为可折叠电子设备设计角度传感器存在诸多挑战。传统的角度传感器通常采用磁性角度传感器,然而磁性角度传感器容易受到静态磁铁磁场的影响,而苹果在专利中探索了更优秀的解决方案。


IT之家翻译苹果专利摘要部分内容如下:
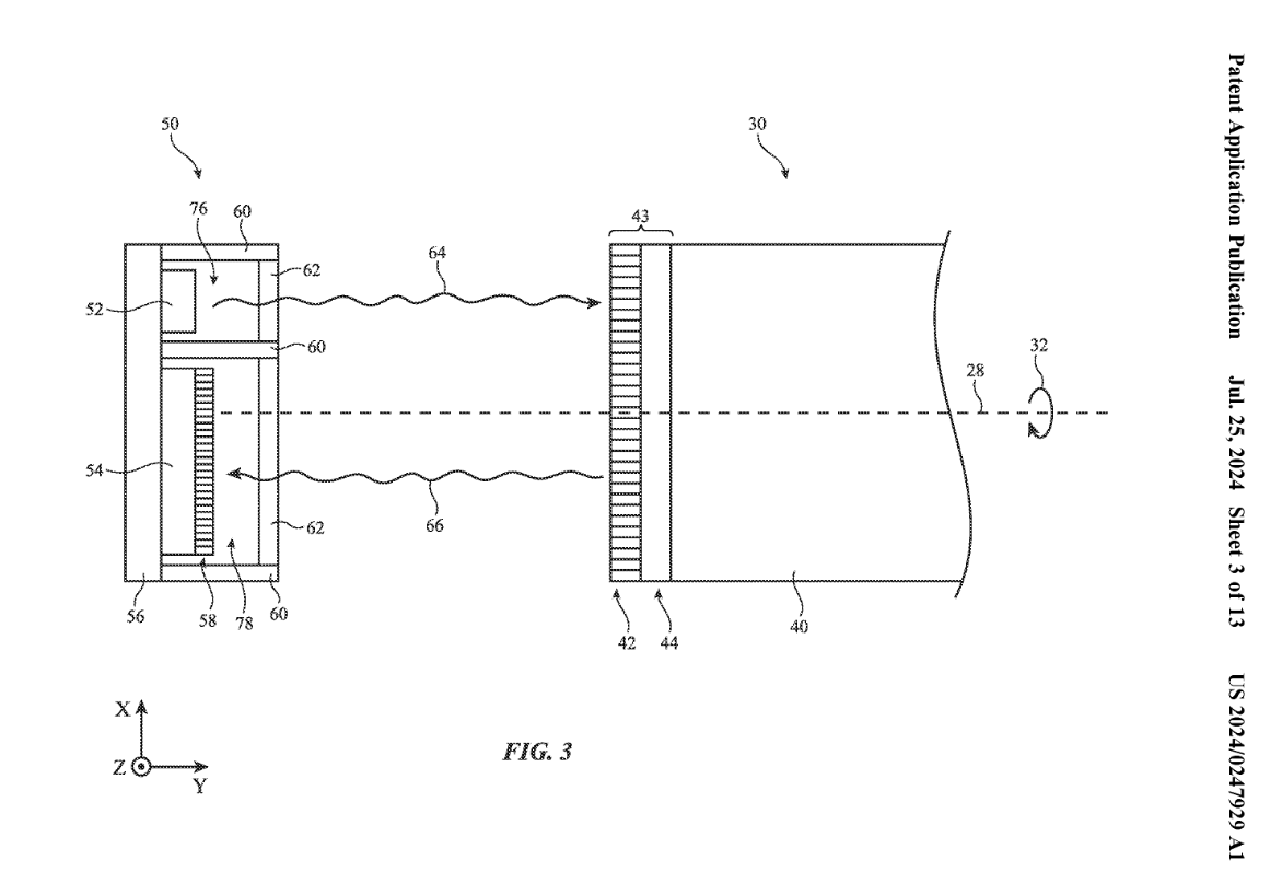
本专利涉及的电子设备包括第一屏幕部分、第二屏幕部分,可围绕铰链相对旋转。
角度传感器:会检测当前铰链的旋转角度;
发射器:可向铰链角度编码器发射光线;
传感器芯片:可接收从铰链角度编码器反射回来的光线。
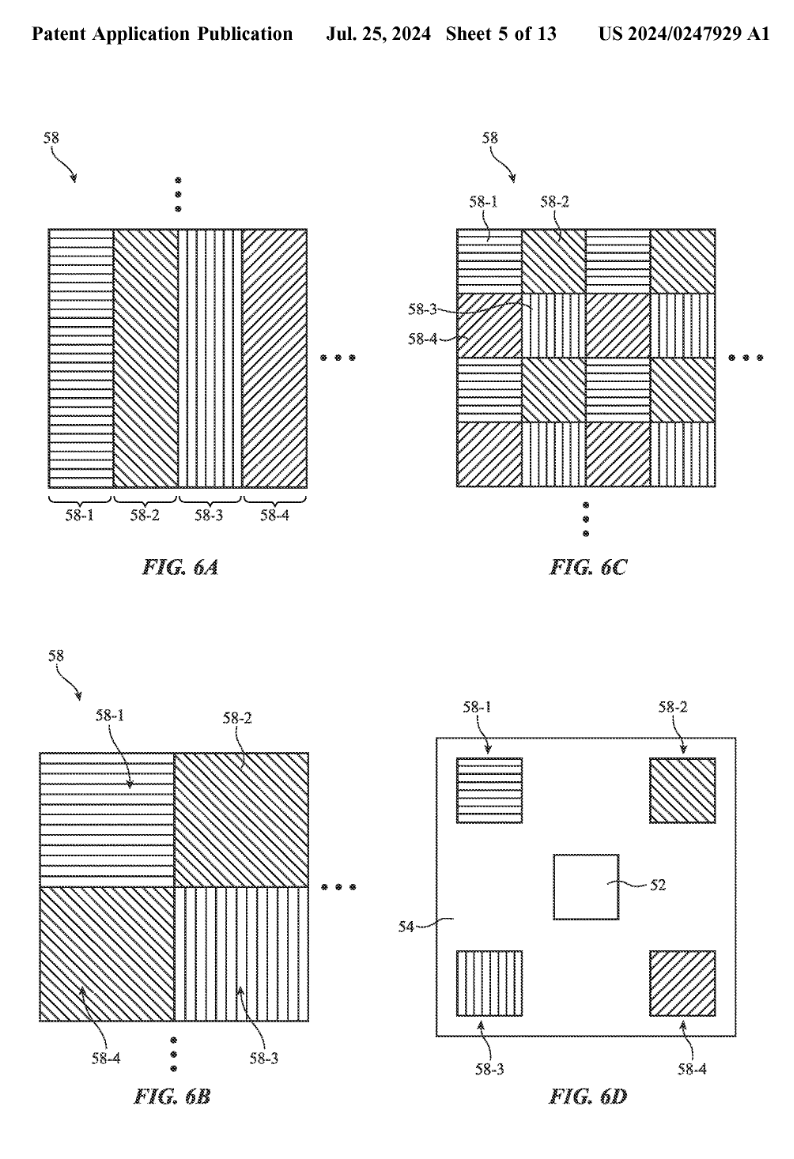
铰链角度编码器可包括一个吸收偏振滤光层和一个反射扩散层。可在传感器芯片中的光电探测器阵列上重叠形成像素化偏振片。
电子设备可包括处理电路,该电路配置为根据使用光电探测器阵列获取的一个或多个强度值计算第一和第二外壳部分旋转的铰链角度。
广告声明:文内含有的对外跳转链接(包括不限于超链接、二维码、口令等形式),用于传递更多信息,节省甄选时间,结果仅供参考,IT之家所有文章均包含本声明。
文章来源于互联网:IT之家-苹果专利探索折叠屏角度传感器设计,未来可用于 iPhone / iPad / Mac
