IT之家 7 月 31 日消息,继 Touch ID 指纹解锁和 Face ID 面部解锁之后,苹果最新专利探索 Heart ID,通过检测和验证用户心跳数据,实现 iPhone 等设备解锁。
苹果公司在专利中表示,电子设备通常存储了个人和机密信息,涵盖联系人、电子邮件、通话记录等等,而且可能存在多位用户共用 1 台设备的情况。
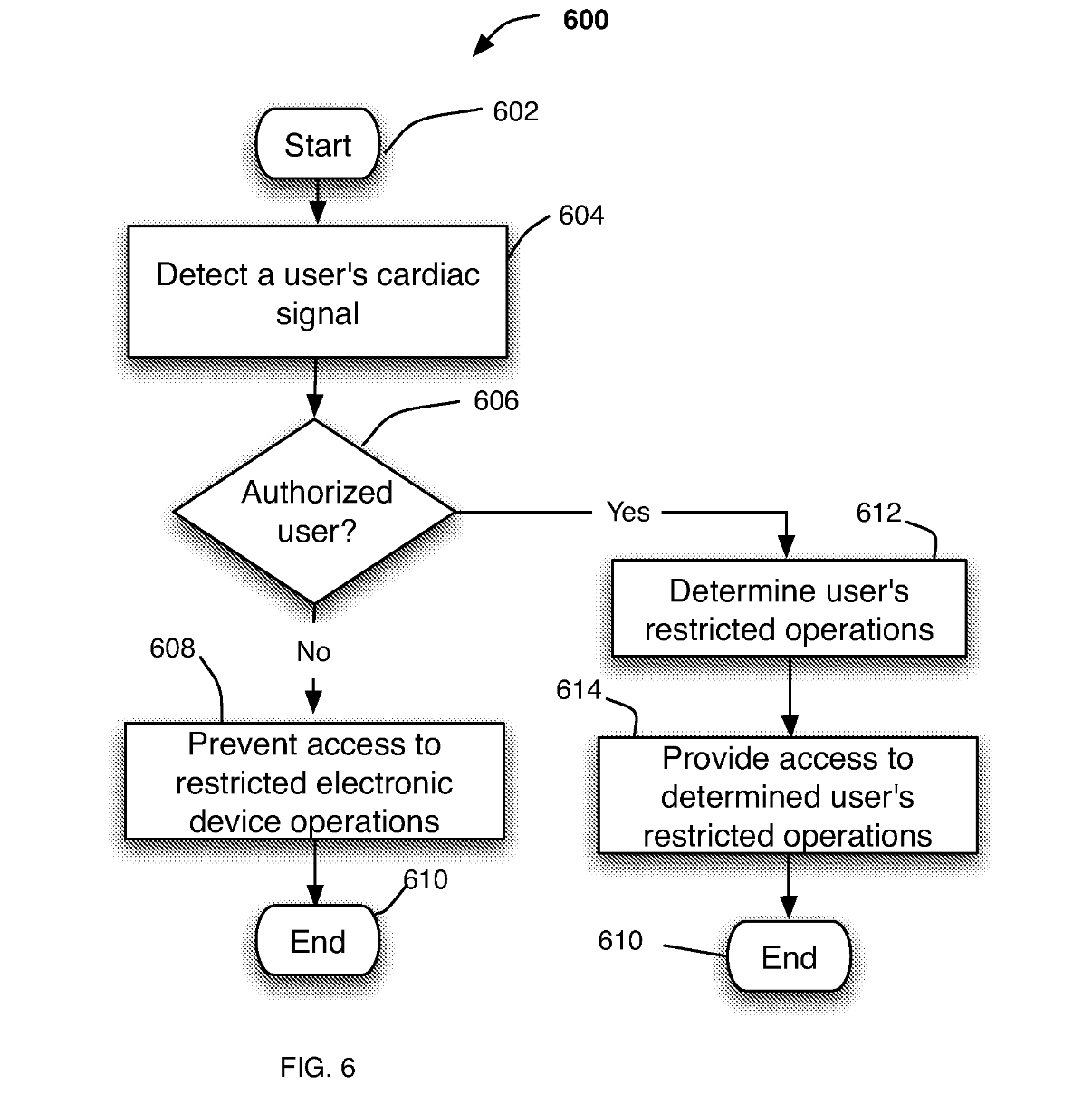
苹果在专利中认为除了常规生物认证方式之外,还可以根据用户的心跳属性来验证用户身份。例如,设备可以处理用户心律特定部分的持续时间或用户心电图(EKG)峰值的相对大小,并与存储的配置文件进行比较,以验证设备用户的身份。

IT之家附上苹果专利摘要部分内容如下:
专利涉及一种电子设备,该设备具有一个用于检测用户心脏活动和心电信号的集成传感器。
该电子设备可包括一个心脏传感器,该传感器具有多条导线,用于检测用户的心脏信号。
导线可连接到电子设备外壳的内表面,以隐藏传感器,使用户产生的电信号可从用户皮肤通过电子设备外壳传输到导线。
在某些实施例中,导线可以连接到放置在外壳外部的衬垫上。可以对衬垫和外壳进行加工,以确保衬垫在设备上无法从视觉或触觉上分辨出来,从而提高设备的美观度。
利用检测到的信号,电子设备可以识别或验证用户身份,并根据用户身份执行操作。
广告声明:文内含有的对外跳转链接(包括不限于超链接、二维码、口令等形式),用于传递更多信息,节省甄选时间,结果仅供参考,IT之家所有文章均包含本声明。
文章来源于互联网:IT之家-苹果专利探索 Heart ID:用心跳数据验证身份解锁 iPhone
