IT之家 8 月 2 日消息,科技媒体 AppleInsider 昨日(8 月 1 日)报道,苹果公司获得了一项新的专利,意味着 Vision Pro 头显上的交互手势,可以扩展到 iPhone、iPad 和 Mac 等设备上。
在美国商标和专利局昨日公示的专利中,苹果探索使用 iPhone、iPad 和 Mac 等设备上前置摄像头,实现 Vision Pro 头显上的交互手势。
苹果公司在专利摘要中表示:“该专利主要提供计算生成(computer-generated)体验,包括但不限于通过显示屏提供虚拟现实和混合现实体验的电子设备。”
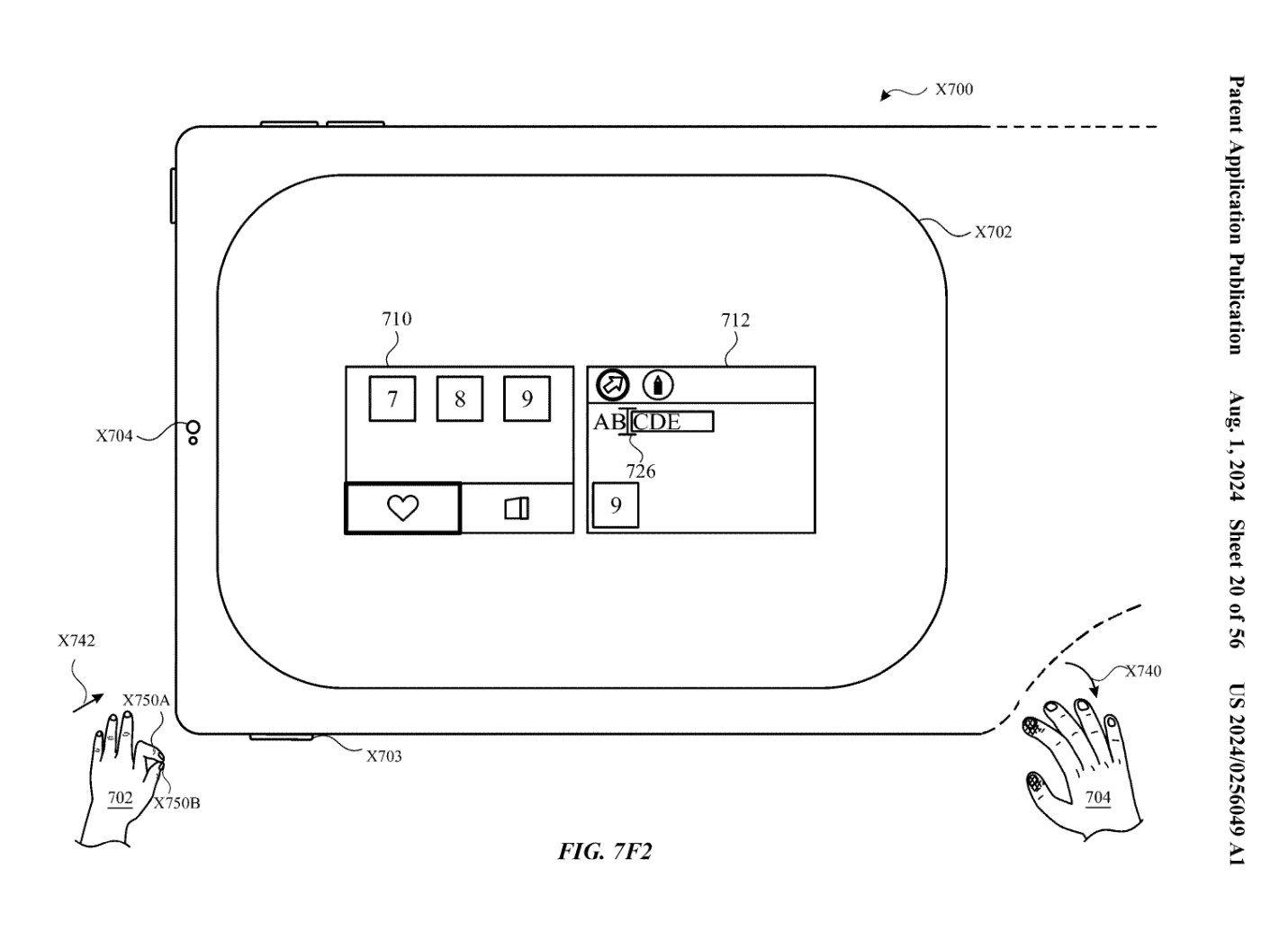
IT之家附上部分专利草图如下,其中 36 幅与 Apple Vision Pro 有关,而且头显的组件分解图,表明苹果正考虑将 Vision Pro 头显上的手势,扩展到 iPhone、iPad 和 Mac 等设备上。
其中一张草图中,用户可以通过手势移动 Mac 设备光标位置;在另一张草图中用户可以通过手势,控制 iPhone 来关灯等操作。




广告声明:文内含有的对外跳转链接(包括不限于超链接、二维码、口令等形式),用于传递更多信息,节省甄选时间,结果仅供参考,IT之家所有文章均包含本声明。
文章来源于互联网:IT之家-苹果专利探索交互未来:用剪刀、OK 等 Vision Pro 头显手势操控 iPhone、iPad 和 Mac
