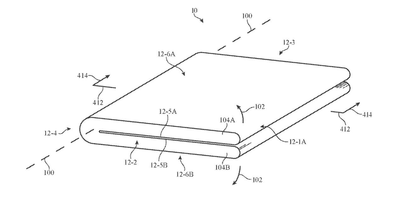
IT之家 9 月 20 日消息,根据美国商标和专利局(USPTO)最新公示的清单,苹果公司获得了一项新的专利,构想了未来折叠 iPhone 的设计方案,包括固态按钮在内在所有表面实现触敏控制。
这项专利名为《带有显示屏和触摸传感器结构的电子设备》,用户可以通过轻触、滑动或其他方式来方便地控制 iPhone,其专利设计草图显示采用折叠式设计。
苹果表示:“从用户那里收集触摸输入并高效地向用户展示图像可能颇具挑战性。例如,当用户向触摸屏显示器提供触摸输入时,用户的手可能会遮挡显示器上正在显示的图像。”

因此苹果公司构想在设备所有表面实现具备触敏控制,内置控制电路、电池及其他组件,表面可以包含不透明部分与透明部分,材质包括不透明塑料、金属、纤维复合材料以及含有纤维、陶瓷和其他不透明材料的多层结构。

苹果公司在设备表面铺设细小的金属线(例如纳米结构,肉眼可能无法看到),从而在任意表面实现触敏控制。
苹果在专利中还提供了一些例子,说明这种触控功能将有哪些实际用途。
IT之家附上专利中描述的用途之一如下:在游戏应用及其他应用中,用户可以在背面使用触摸传感器,在设备的正面显示屏上显示相关视觉信息的同时,收集触摸输入。
广告声明:文内含有的对外跳转链接(包括不限于超链接、二维码、口令等形式),用于传递更多信息,节省甄选时间,结果仅供参考,IT之家所有文章均包含本声明。
相关推荐
-
Red Magic Nova 開箱初體驗:遊戲平板新紀元
當提到平板電腦時,大家首先想到的可能是 iPad,但當我們提到「遊戲平板」時,或許很多人會感到茫然。而 Red Magic 想改變這個情況,推出全新的 Red Magic Nova…
-
库克晒苹果第 3 财季在中国市场成绩:iPhone 用户规模创新高、MacBook Air 是最畅销笔记本、Mac mini 是台式机销冠
感谢IT之家网友 Nuc_F 的线索投递! IT之家 8 月 1 日消息,科技媒体 9to5Mac 今天(8 月 1 日)发布博文,报道称在 2025 财年第 3 财季财报电话会议…
-
Samsung Galaxy S24 Ultra vs Samsung S23 Ultra vs Apple iPhone 15 Pro Max
三星电子最近发布了其最新的旗舰手机——Galaxy S24 Ultra。这款新机型与去年的S23 Ultra相比,在多个方面都有所提升。与此同时,苹果的iPhone 15 Pro …
-
Nothing Phone官方暗示新机即将发布 有独特设计
【CNMO科技消息】Nothing Phone是一加联合创始人裴宇于2020年在海外创办的智能手机品牌,其首款产品于伦敦发布,数天内就收获了超过10万份订单,引起过海外手机圈的广泛…
-
【IT之家评测室】绿联 NAS 私有云 DXP4800 Plus 评测:易上手,高上限,全家人的数据存储中心
最近这几年随着移动设备性能增强,每个人的私人数据量都在迅速膨胀,早些年 32GB 的手机就够用了,现在可能 512GB 的还觉得有些捉襟见肘。因此越来越多的朋友开始把目光投向“NA…
-
努比亚宣布将于4月9日发布AI手机新品,引领全新时代
努比亚今日在社交媒体上宣布,将于4月9日“开启一个全新的时代”,预示着其即将发布的AI产品将带来颠覆性的变革。从官方发布的文案来看,此次发布的新品似乎与AI技术密切相关,引发了业界…
-
Google Pixel 8a在虾皮购物享超值优惠,7.2折仅售14,380台币
在虾皮购物平台上,一款备受瞩目的智能手机正在以惊人的优惠价格进行销售——Google Pixel 8a 8G/128G 5G智慧型手机。原价高达20,000台币的它,现在仅需14,…
-
索尼Xperia 1 VI vs 谷歌Pixel 8a:旗舰之争,谁将引领潮流?
在手机市场上,索尼和谷歌都是备受瞩目的品牌。它们不仅拥有各自独特的设计理念和技术优势,还致力于为用户带来卓越的使用体验。近日,索尼推出了全新的旗舰手机Xperia 1 VI,而谷歌…
-
代号灭霸!vivo X100 Ultra正式揭晓:2亿像素长焦猛兽
快科技5月5日消息,五一假期的最后一天,vivo贾净东发文为新机vivo X100 Ultra预热,这款产品内部研发的代号为“Thanos(灭霸)”。 他透露,黄韬介绍vivo X…
-
三星发布美国版Galaxy Z Fold 5的2024年5月安全补丁
三星电子近日宣布,针对其旗舰折叠屏手机Galaxy Z Fold 5的2024年5月安全补丁已经扩展至美国市场,特别针对运营商解锁版本进行更新。此次更新是对先前仅针对印度市场国际版…
