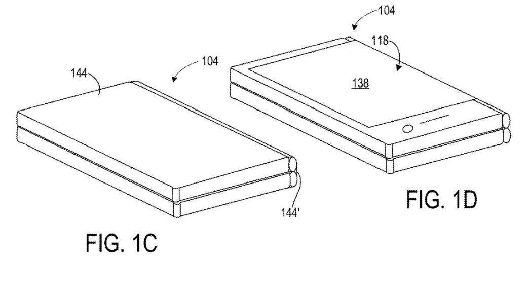
IT之家 10 月 12 日消息,虽然微软 Surface Duo 系列双屏手机产品线已经从人们视线消失,不过微软最近接连有折叠屏手机“Surface Phone”专利通过美国专利商标局(USPTO)申请,目前微软公布的一项新专利变展示了这款手机的铰链折叠形态细节。

微软在专利中重点介绍了这款手机的 360 度铰链,其整体风格有点类似当年的 Surface Duo,考虑到该机采用柔性面板,这对于工程学来说挑战较大。
该机支持检测 0 度、180 度、300 度、360 度四种折叠角度,在配合系统的情况下,能够根据用户的不同需求切换成传统手机、平板电脑、笔记本电脑等生产力形态。
如今微软很有可能专为开发折叠屏设备“Surface Phone”,但至于这款全新的“Surface Phone”是否能够发布,何时发布,IT之家将持续关注相关铺路进展。
相关阅读:
-
《微软新专利暗示折叠屏新机配后置三摄 + 可折叠支架》
-
《微软新专利暗示折叠屏新机铰链支持 360 度旋转》
-
《微软为折叠屏手机开发“脊椎盖板”铰链新专利》
广告声明:文内含有的对外跳转链接(包括不限于超链接、二维码、口令等形式),用于传递更多信息,节省甄选时间,结果仅供参考,IT之家所有文章均包含本声明。
文章来源于互联网:IT之家-为 Surface Phone 铺路:微软折叠屏新机专利展示铰链折叠形态
相关推荐
-
荣耀 Magic 6 系列手机获推 MagicOS 8.0.0.155:相机水印可编辑、平行空间防追踪
IT之家 7 月 28 日消息,荣耀 Magic 6 系列手机今日获推 MagicOS 8.0.0.155 版本更新,状态栏、通知中心得到设计优化,新增相机水印可编辑、平行空间防追…
-
小米 17 Pro 手机 3.0.9.0 版本部分场景自动亮度异常等问题已优化
IT之家 10 月 5 日消息,小米员工本周在小米社区更新澎湃 HyperOS 的优化进展,其中提到用户所反馈的部分场景 Xiaomi 17 Pro 3.0.9.0 版本自动亮度…
-
realme 真我新机将亮相 MWC 2025:索尼一英寸影像旗舰、支持 10 倍光学变焦
感谢IT之家网友 Autumn_Dream、風見暉一 的线索投递! IT之家 2 月 28 日消息,真我手机官方昨日宣布搭载「Ultra 级黑科技」新机将在巴塞罗那 MWC 202…
-
三星 Galaxy Z Flip7 手机发布:更大外屏、首搭 Exynos 处理器,7999 元起
IT之家 7 月 9 日消息,三星正式发布了新一代折叠屏手机 Galaxy Z Flip7,新机在外观设计、硬件配置和软件体验方面均有显著提升。 Galaxy Z Flip7 的外…
-
小米新机通过 SRRC 认证:预计为 REDMI Turbo 5 系列,有望春节前发布
感谢IT之家网友 啊俊、顺势而为、Kazuto 的线索投递! IT之家 12 月 13 日消息,昨日有一款型号为 2602BRT18C 的小米新机通过了无线电核准,博主 @智慧皮卡…
-
消息称某厂天玑 9500 中杯机将搭载 6.59 英寸 LIPO 物理四边等边直屏,预计为 OPPO Find X9
感谢IT之家网友 Autumn_Dream 的线索投递! IT之家 8 月 1 日消息,博主 @数码闲聊站 今天在微博透露,某厂天玑 9500 中杯机将搭载 6.59 寸 1.5K…
-
机身配备“神秘旋钮”,Nothing 子品牌 CMF Phone(1)手机官宣
IT之家 6 月 7 日消息,Nothing 旗下子品牌 CMF 今天官宣了 CMF Phone 1 手机,同时展示了这款手机的局部外观,其中显示该机后盖采用聚碳酸酯 + 素皮结构…
-
realme 真我 GT Neo6 SE 手机发布会将提前:4 月 11 日 10 时举行
感谢IT之家网友 風見暉一 的线索投递! IT之家 4 月 9 日消息,realme 真我手机官微今日傍晚宣布,决定将真我 GT Neo6 SE 手机的发布会时间提前,从原定的 4…
-
Google Pixel 9 Pro Fold評測:折疊手機創新設計與卓越效能的完美結合
Google 的第二代摺疊手機幾乎具備了我在第一代中所期待的一切。 優點 缺點 ✅ 精美的設計 ❌ 價格昂貴 ✅ 內外螢幕更大 ❌ 摺疊功能不足 ✅ 七年的軟體更新 ❌ 相機並不總…
-
联想摩托罗拉 moto razr 50 Ultra AI 元启版手机“哥特玫瑰”上市:16GB+1TB,6999 元
感谢IT之家网友 华南吴彦祖 的线索投递! IT之家 9 月 5 日消息,联想摩托罗拉 moto razr 50 Ultra AI 元启版小折叠手机潘通流行色限定版「哥特玫瑰」今日…
