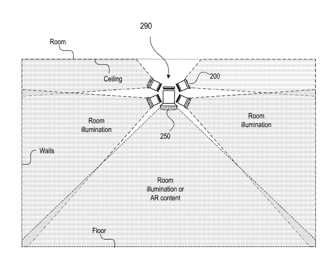
IT之家 10 月 17 日消息,科技媒体 Patently Apple 于 10 月 15 日发布博文,报道称苹果公司获得了一项投影仪专利,用户不需要佩戴头显的情况下,能够在桌子、墙壁等表面显示混合增强现实(AR)和虚拟现实(VR)内容。
根据苹果公司专利描述,其构想的投影仪系统可以包括一个定制的灯泡,内置投影仪,能够将 AR 内容投射到桌面、墙壁及整个房间。
该投影仪可以显示低分辨率和高分辨率的内容,高分辨率内容可能包括操作系统界面、视频会议图像等,而低分辨率内容则可能是简单的情绪增强图像,如树影或动物图像,从而提供多样化的视觉体验。
该系统不仅提供房间照明,还能在地板、墙壁和天花板上投影高低分辨率的 AR 和虚拟现实(VR)图像。
该投影仪系统具备电动功能,能够自动调整方向,以便在不同表面上投影内容,智能地增强房间内的特定物体,结合投影内容,增强用户体验。IT之家附上相关图片如下:





相关推荐
-
又一家网易旗下工作室Bad Brain关闭:《看门狗》开发团队创立
IT之家 11 月 6 日消息,据外媒 VGC 今日报道,又有一家网易旗下海外工作室宣布即将关闭,据称是因为资金被撤回。 这次即将说再见的工作室名为 Bad Brain Game …
-
DIY从入门到放弃:显卡盲盒里都是些什么卡?
盲盒经济越来越普遍,除了传统的手办之外,奶茶、面包也能盲盒,而现在盲盒的风甚至吹到了显卡,“99元抽RTX 5090显卡”,“29.9元解锁高端显卡”,有的显卡盲盒甚至有保底设计,…
-
消息称小米在调研是否兼容苹果硬件,含Apple Watch、AirPods、HomePod等
IT之家 12 月 8 日消息,博主 @数码闲聊站 昨日发文透露,小米在调研是否兼容苹果硬件,比如 Apple Watch、AirPods、HomePod 等,软硬件生态全面深度兼…
-
开个机需要3小时:微软确认修复Windows Server 2025蓝屏等故障
快科技4月24日消息,微软日前更新了支持文档,确认已修复了导致Windows Server 2025系统出现蓝屏和安装失败的多个已知问题。 微软此前在确认问题时表示,受影响的设备可…
-
电视出货量创十年新低 面板价格撑不住了:开始全面下跌
快科技7月22日消息,根据Runto洛图科技的数据,7月份液晶电视面板价格开始普遍下降。 分析指出,尽管“控盘”策略曾使得关键尺寸面板的价格在两个月内保持稳定,但由于电视终端市场需…
-
小米新款无线充写错三星手机型号:Galaxy S21写成Galaxy 521
自动播放凤凰网科技讯(作者/王晓斌)7月19日,小米30W立式无线充今日在电商平台上市。有眼尖的网友发现,在兼容表中,小米将三星Galaxy S21系列,写成了Galaxy 521…
-
国内定价真良心!小米MWC 2024六大新品价格汇总:69-1499欧元
快科技2月26日消息,今天小米在MWC 2024上召开了新品发布会,在海外推出了小米14 Ultra等一系列新品。 目前官方价格已公布,对比国内都高了不少。 小米14 Ultra …
-
迄今最强锐炫B580!蓝戟锐炫B580 Photon 12G OC显卡图赏
快科技12月14日消息,Intel日前发布了第二代锐炫B系列显卡,首发包括锐炫B580、锐炫B570两款主流型号,对标RTX 4060、RX 7600。 与此同时,蓝戟也推出了旗下…
-
PTron Bassbuds Sports V3在印度亚马逊可以省2600卢比,仅售899卢比!
PTron Bassbuds Sports V3是一款专为运动爱好者设计的无线耳机,其折扣非常大,目前印度亚马逊正在开展一项优惠活动,您可以以899卢比的价格购买该产品,可以享受2…
-
超越英伟达H100!英特尔推出新一代AI芯片Gaudi 3,大模型训练推理能力强化50%
作者:李丹 来源:硬AI 英伟达的人工智能(AI)霸主地位面临新挑战,英特尔推出号称性能明显优于英伟达竞品的新一代AI芯片。 美东时间4月9日周二,在今年举办的客户与合作伙伴大会I…
