IT之家 11 月 9 日消息,科技媒体 mspoweruser 昨日(11 月 8 日)发布博文,报道称三星公司已获批新的专利,暗示三星有望商用三折叠手机。
根据美国商标和专利局(USPTO)最新公示的清单,该专利于 2021 年 7 月提交,2024 年 11 月获批生效,共有 25 页,主要介绍在三折叠状态下如何保持屏幕耐用性和韧性。
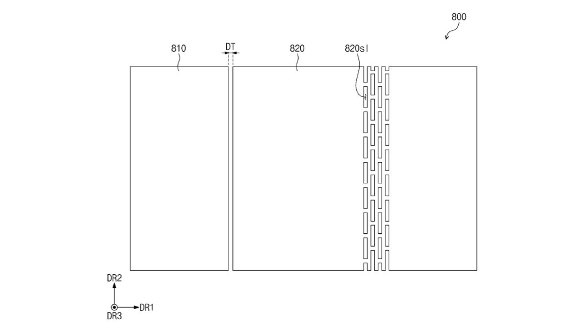
该设计采用了专用的隔离层,具有战略性开口,减少了对屏幕的压力,使得折叠更加容易;支撑板和粘合层使用了不锈钢或玻璃等耐用材料,以增强设备的稳定性。
三星在显示面板中加入了抗反射层,旨在减少反射光对用户的影响。此外,屏幕下方还设计了多层结构,包括阻隔层和缓冲层,以防止外界物质对屏幕造成损害。IT之家附上相关图片如下:





相关阅读:
-
《手机变平板:三星三折叠设计专利图曝光》
广告声明:文内含有的对外跳转链接(包括不限于超链接、二维码、口令等形式),用于传递更多信息,节省甄选时间,结果仅供参考,IT之家所有文章均包含本声明。
文章来源于互联网:IT之家-三星又一三折叠手机专利获批:提高屏幕耐用性、添加防反射层
相关推荐
-
努比亚 AI 双旗舰新品发布会定档 4 月 28 日:Z70S Ultra 摄影师版及神秘新品登场
感谢IT之家网友 風見暉一 的线索投递! IT之家 4 月 18 日消息,努比亚手机官微今日宣布,努比亚 Z70S Ultra 摄影师版及“首款神秘新品”将亮相 4 月 28 日 …
-
本月有望发布,消息称小米 REDMI Turbo 4 手机售价 1X99 元
IT之家 12 月 8 日消息,博主 @体验more 今日爆料称,最近的新品就是小旋风 REDMI Turbo 4,1X99 的品,可以期待一下。此外,其还提到:“(明年)上半年大…
-
realme 真我 C61 手机曝光:展锐 T612 芯片、6GB 内存、5000mAh 电池
IT之家 6 月 20 日消息,realme 真我 C61 智能手机在通过 NBTC、BIS 和 FCC 机构认证之后,昨日现身 Google Play Console 数据库,显…
-
苹果 iOS 16.7.8 RC 发布:iPhone 8 / Plus / X 三款手机获更新
【点此直达升级教程】 IT之家 5 月 8 日消息,苹果今日向 iPhone 用户推送了 iOS 16.7.8 RC 更新(内部版本号:20H343),本次更新距离上次发布隔了 7…
-
摩托罗拉moto razr 50系列规格曝光,首发自研“星海电池”技术
随着智能手机市场的不断发展,折叠屏手机凭借其独特的形态和更大的显示面积,逐渐受到消费者的青睐。近日,摩托罗拉(moto)旗下新款折叠屏机型razr 50系列规格信息不断曝光,并计划…
-
OPPO Reno 12 浅蓝色真机提前曝光:明日 10:00 预售,2699 元起
IT之家 8 月 4 日消息,OPPO Reno 12 新配色将于明日上午 10:00 开售,京东商品页显示售价 2699 元起(以上市为准)。 在新机正式亮相之前,小红书账号简…
-
1299 元联想 moto g 100 手机新增“8G RAM”版上市:FHD 120Hz LCD、骁龙 7s Gen 2
感谢IT之家网友 肖战割割 的线索投递! IT之家 11 月 7 日消息,联想现已为其 moto g 100 手机新增“8GB RAM”版本,该版本匹配 256GB 存储空间,主打…
-
三星首款 Qi2 Ready 折叠手机:Galaxy Z Fold7 无线充电规格曝光
IT之家 6 月 3 日消息,科技媒体 9to5Google 昨日(6 月 2 日)发布博文,报道称三星 Galaxy Z Fold7 折叠手机现身无线充电联盟(Wireless …
-
谷歌Google Pixel 8在英国Amazon这样买更值,可省100.00英镑,仅599.00英镑
在英国Amazon,购买Google Pixel 8的128GB版本有优惠,原价699.00英镑,优惠100.00英镑,仅售599.00英镑,喜欢的朋友可以看看。 Google P…
-
小米产品经理魏思琪:MIX Flip 折叠屏手机配备全功能大外屏,完成外屏超 200 常用应用适配
IT之家 7 月 11 日消息,小米 MIX Fold 4 和 MIX Flip 折叠屏手机已官宣新品本月发布,发布会将由雷军主持。 小米产品经理魏思琪今日发文称,小米 MIX F…
