IT之家 11 月 13 日消息,科技媒体 saminsider 昨日(11 月 12 日)发布博文,报道称三星最新获批了一项专利,介绍了一种新的触觉反馈机制,可以显著提升智能手机的触控体验。
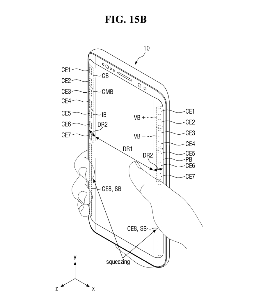
IT之家援引该媒体报道,该专利于 2023 年 2 月提交,于 2024 年 11 月获批,主要概述了一种触觉反馈系统,涵盖显示面板、触摸和压力传感器,以及分布在显示边缘的小型振动马达。


这些传感器和马达将提供精准的振动反馈,让设备能够仅在用户与屏幕互动的区域震动,这一设计旨在让用户感觉像是在按压物理按钮,从而增强使用三星智能手机的沉浸感。




三星希望通过引入精确的振动系统,不仅提升用户的使用体验,还可能在未来的产品中为用户提供更多的互动方式。
广告声明:文内含有的对外跳转链接(包括不限于超链接、二维码、口令等形式),用于传递更多信息,节省甄选时间,结果仅供参考,IT之家所有文章均包含本声明。
文章来源于互联网:IT之家-三星专利探索革命性触控体验:精准振动反馈,多元化交互方式
相关推荐
-
大王影像升级:荣耀 Magic7 系列手机获推 MagicOS 9.0.0.134,新增 AI 长焦风景等功能
感谢IT之家网友 Autumn_Dream、余余余余余余、您还有0次修改昵称的机会、履凸魜笙、机皇12se、很屑的车干文、蛋蛋鼎鼎、李云龙师长、JOKER00、路过的热心人 的线索…
-
荣耀两款中端新机曝光:6.5 英寸直屏、6.78 英寸等深四曲屏,上半年发布
感谢IT之家网友 OkayTech、华科学霸、顺势而为、软媒新友1933769、Autumn_Dream 的线索投递! IT之家 2 月 21 日消息,博主 @数码闲聊站 今日曝光…
-
万万没想到:苹果已停售的 MagSafe 外接电池可直接用于谷歌 Pixel 10 Pro
IT之家 8 月 31 日消息,苹果 2023 年 9 月在推出 iPhone 15 系列后,从官网下架了 MagSafe 外接电池(749 元)和双项充电器(1049 元)。 意…
-
iQOO Z10 Turbo Pro 手机获 UFCS 认证:支持 44W 融合快充、兼容更多第三方充电器
IT之家 7 月 16 日消息,据 FCA 终端快充行业协会今日消息,vivo 旗下 iQOO Z10 Turbo Pro 手机成功通过了融合快速充电功能认证,获得了 UFCS 功…
-
苹果发布 iOS / iPadOS 18.3 和 macOS 15.3 Sequoia 第 2 个公测版,Home 支持扫地机器人
IT之家 1 月 9 日消息,苹果公司今天(1 月 9 日)发布了 iOS 18.3、iPadOS 18.3 和 macOS 15.3 Sequoia 更新的第二个公开测试版,邀请…
-
荣耀畅玩 60 Plus 手机开启预售:骁龙 4 Gen 2 + 6000mAh,1499 元起
IT之家 6 月 24 日消息,荣耀畅玩 60 Plus 手机今日开启预售,提供仙踪绿、月影白与幻夜黑三款配色,1499 元起。 12GB + 256GB:1499 元 12GB …
-
99 元换电池:红魔上线“安心焕新计划”,截至 12 月 31 日
感谢IT之家网友 風見暉一 的线索投递! IT之家 9 月 12 日消息,红魔“安心焕新计划”现已上线,用户可以优惠价在全国红魔售后服务网点或通过寄修服务维修手机。 广告声明:文内…
-
西班牙amazon优惠:三星SAMSUNG Galaxy A54 5G优惠13%,仅售399,00欧元
在amazon西班牙站,目前SAMSUNG Galaxy A54 5G有活动优惠,原价459,00欧元,现在优惠13%,仅售399,00欧元,包括增值税,喜欢SAMSUNG手机的朋…
-
Bigme 墨水屏手机 HiBreak 即将发布:黑白、彩墨双版本
感谢IT之家网友 重拾韶华、软媒新友2000962 的线索投递! IT之家 5 月 7 日消息,Bigme 大我官宣,旗下墨水屏手机 HiBreak 即将发布。目前该款手机已在官网…
-
京东折叠屏手机成交额TOP5排名:华为Mate X5第一
快科技5月24日消息,今日,京东手机通讯官微发布“超级趋势折叠屏战报”,统计时间为5月15日00:00-5月20日23:59。 战报公布了京东折叠屏手机成交金额TOP5排行,华为M…
