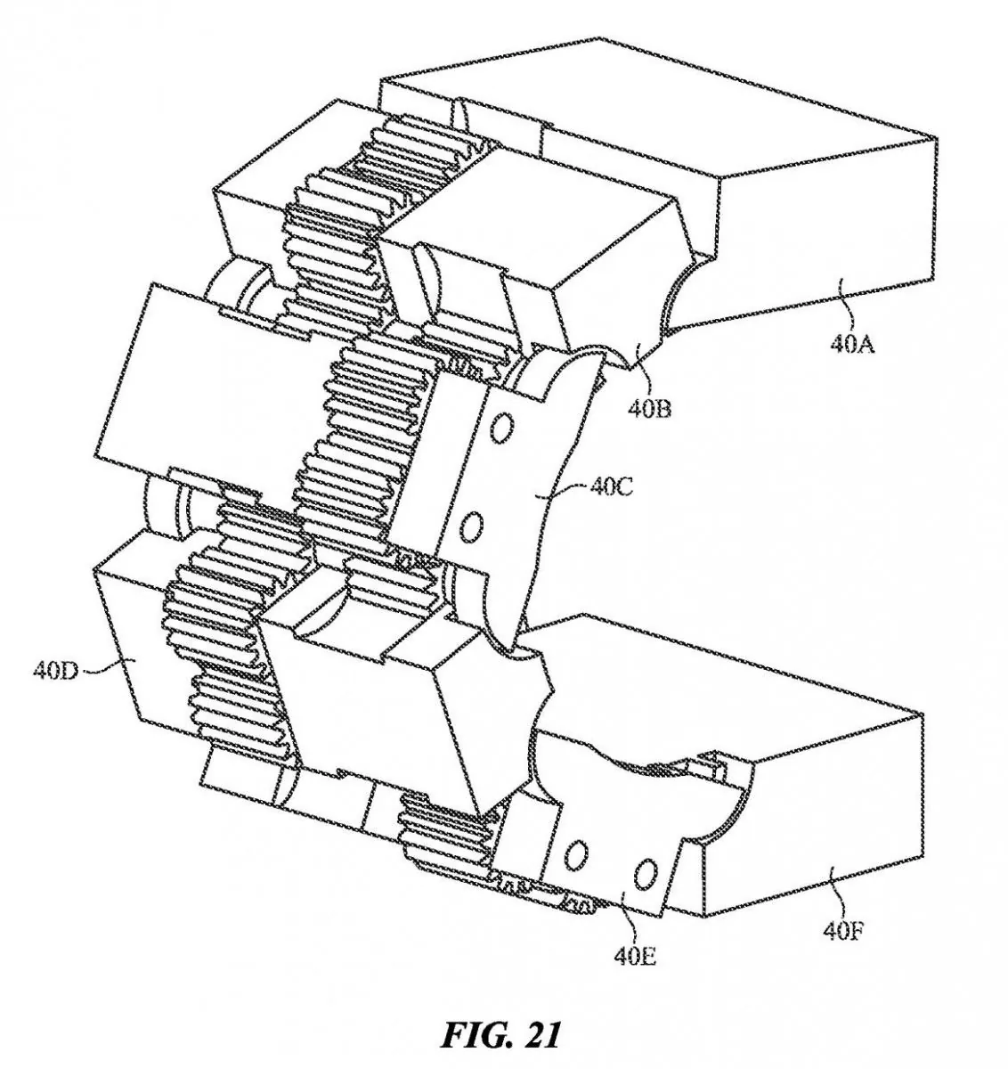
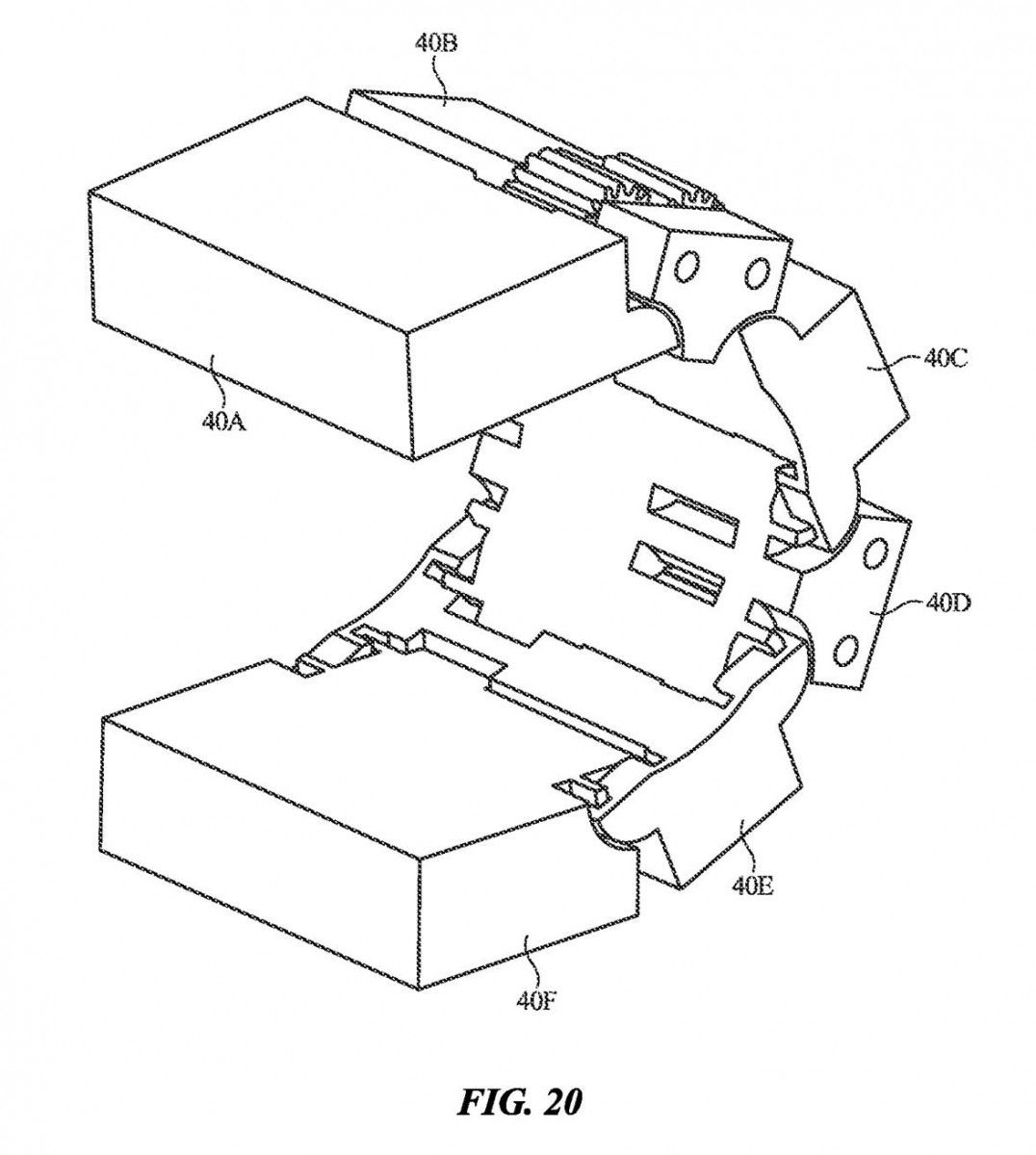
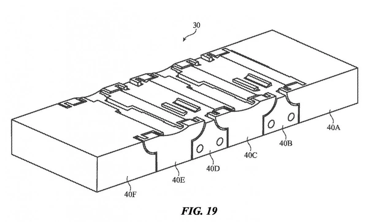
IT之家 12 月 11 日消息,苹果公司目前虽然没有推出折叠屏设备,但从未停止探索折叠屏技术。根据最新公示的清单,苹果获得了一项折叠屏铰链设计专利,巧妙地使用指状物和月牙槽设计,带来更灵活的折叠效果,并提升耐用性。
该专利描述了一种由相互连接的指状物和摩擦离合器组成的铰链结构,形成月牙形槽,让每个环节实现相对旋转,并将旋转轴移至环节外部,实现更灵活的折叠。

链节上设有新月形槽,用于容纳销钉,当设备折叠时,销钉沿着新月形槽滑动,确保相邻链节围绕位于铰链外部且在柔性显示面板内的旋转轴相对旋转。

专利还描述了一种壳体旋转同步机构,该机构使用一组齿轮连接设备的两个外壳部分,确保折叠过程的平滑和稳定。
专利说明显示,这种铰链设计可广泛应用于手机、平板电脑、笔记本电脑,甚至手表等可穿戴设备,表明该专利不仅可用于 iPhone,还可以部署在 iPad、Mac 和 Apple Watch 上。IT之家附上相关图片如下:



广告声明:文内含有的对外跳转链接(包括不限于超链接、二维码、口令等形式),用于传递更多信息,节省甄选时间,结果仅供参考,IT之家所有文章均包含本声明。
文章来源于互联网:IT之家-苹果新铰链设计专利公示,让折叠 iPhone / iPad 更灵活、更耐用
相关推荐
-
表现不如 Galaxy Z Fold5,三星 Galaxy Z Fold6 手机被曝前 2 周全球销量为 27 万台
感谢IT之家网友 华南吴彦祖 的线索投递! IT之家 8 月 29 日消息,消息源 @i冰宇宙 昨日(8 月 28 日)在 X 平台发布推文,表示三星 Galaxy Z Fold6…
-
小米 Redmi K80 手机屏幕技术沟通会今天下午举行:联合中山大学中山眼科中心、TCL 华星打造
感谢IT之家网友 偏科骚黄4100只眼、風見暉一 的线索投递! IT之家 11 月 18 日消息,今天上午,Redmi 红米手机官微宣布,今天下午将举行 K80 手机的“屏幕技术沟…
-
小米14 Ultra将于2月底发布 搭载徕卡Summilux镜头+无极可变光圈
近日,有消息称全新的小米14 Ultra暂定于2月底发布,也就是元宵节前后登场,将在影像方面带来更进一步的升级,将会是小米史上影像最好的旗舰手机。据知名数码博主@定焦数码 最新发布…
-
三星Galaxy Z Flip6外观曝光:外屏采用“文件夹”造型
近日,知名爆料人士Evan Blass(@evleaks)通过推特首次曝光了三星Galaxy Z Flip6手机宣传图,展示了三星Galaxy Z Flip6外观。这张宣传图展示了…
-
4199/5299 元起的 OPPO Find X8 / Pro 系列手机正式发布:潮汐引擎 x 天玑 9400,支持 AI 一键问屏、超高速无影抓拍
IT之家 10 月 24 日消息,在今晚举行的发布会上,OPPO Find X8 / Pro 系列手机正式发布,现已开启全渠道预订,10 月 30 日正式开售。 OPPO Find…
-
【IT之家评测室】机械手第一次走进家庭:石头自清洁扫拖机器人 G30 Space 探索版深度体验
今年初 CES 展会上,石头科技发布了首款自带机械手的扫拖机器人产品。当时,笔者看到这一新闻时,内心并未泛起太大波澜。主要原因在于,笔者此时潜意识里仍觉得,这样的产品属于实验室阶段…
-
谷歌:Pixel 9a 手机仅会登陆部分地区,且不会同步上市
感谢IT之家网友 华南吴彦祖 的线索投递! IT之家 3 月 30 日消息,根据海外媒体 9To5Google 报道,谷歌现已确认 Pixel 9a 手机的销售区域,并提供了各个地…
-
荣耀 500 系列手机影像升级,将配档位最强 CIPA5.0 级光学防抖
IT之家 11 月 18 日消息,荣耀 500 系列新品发布会已定档 11 月 24 日 19:30 举行,新机主打“2 亿人像全能实况”。 荣耀终端股份有限公司产品线总裁方飞今日…
-
Redmi Turbo 3还有彩蛋没公布 网友期待王腾连夜说服高管带来惊喜价格
快科技4月10日消息,Redmi的王腾透露,Redmi Turbo 3发布会将会带来惊喜。 在评论区,网友表示期待王腾能够连夜说服高管,为我们带来令人惊喜的定价。 据悉,Redmi…
-
Redmi K70 Ultra配置曝光:强悍双芯与1.5K屏引领旗舰新潮流
近日,知名数码博主“数码闲聊站”爆料了一款备受瞩目的新机——Redmi K70 Ultra,其强大的配置组合和出色的性能表现引发了广泛关注。据悉,这款新机将搭载旗舰级同款新基材的1…
