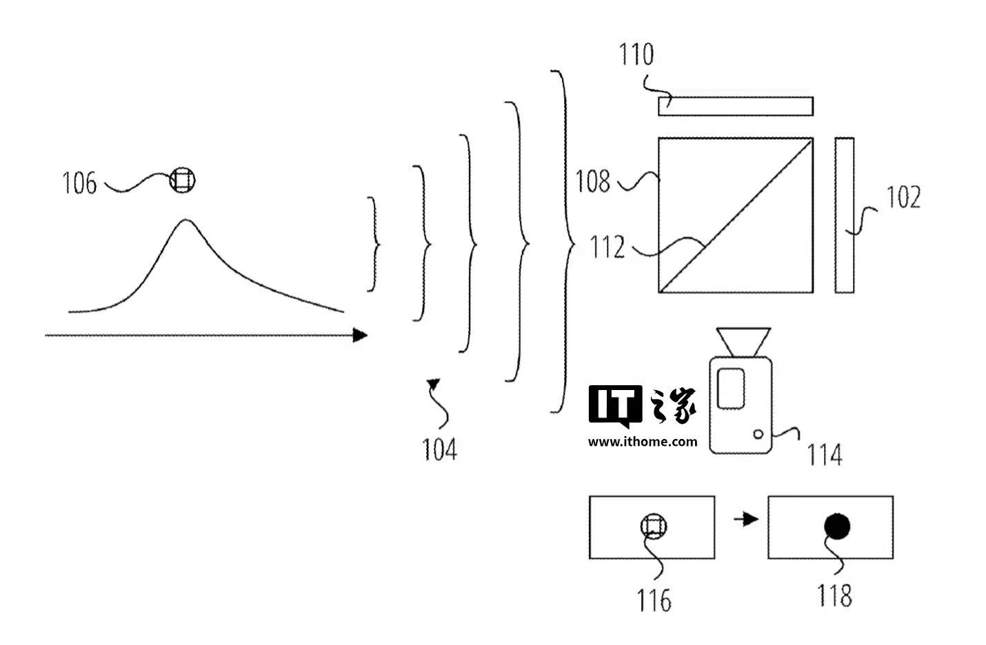
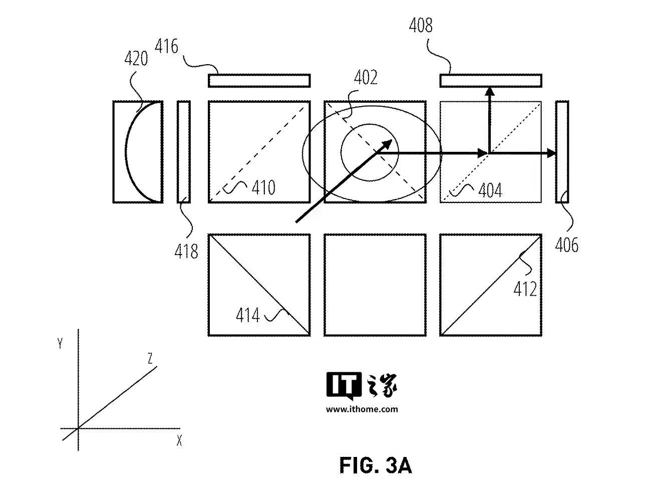
IT之家 1 月 4 日消息,根据美国商标和专利局 1 月 2 日公示的公告,英伟达公司获批一项《无背光增强现实数字全息术》专利,有望革新 AR 眼镜领域。

该专利技术摒弃了传统的背光系统,采用数字全息和环境光干涉技术,并通过基于深度学习的神经网络控制系统以及双视点立体显示,显著提升了户外显示效果,提升沉浸式体验。该专利中还介绍了智能阴影技术,通过选择性遮挡 AR 内容,保留其他区域的自然视觉。IT之家附上相关截图如下:


英伟达在专利中,通过整合上述系统和技术,不仅显著降低了 AR 眼镜的功耗,还实现了更轻便的设计,并带来了卓越的户外性能和更自然的视觉体验,有望重塑 AR 眼镜的未来。这项专利技术不仅解决了户外显示的难题,还提升了用户体验,为 AR 技术的普及应用奠定了基础。
文章来源于互联网:凤凰网-英伟达AR眼镜专利公示:无背光驾驭户外场景,更轻、更亮、更清晰
相关推荐
-
瞄准Vision Pro? 传闻三星Samsung正在开发一款Galaxy VR耳机
在上周的Galaxy Unpacked活动上,三星Samsung发布备受期待的Samsung Galaxy S24系列智能手机,然而,这并非三星的全部计划。据情报提供者罗兰·昆特在…
-
三星宣布 Galaxy AI 功能将上线 One UI 6 Watch 手表系统,6 月开启测试
近日消息,三星今晚宣布将把 Galaxy AI 功能引入 One UI 6 Watch 系统与下一代 Galaxy Watch 智能手表。 据介绍,Galaxy AI 将与三星健康…
-
拜登男士手表在美国亚马逊可以省21美元,仅售27.99美元!
拜登男士手表是一款集时尚、功能与品质于一体的优秀产品,其折扣非常大,目前美国亚马逊正在开展一项优惠活动,您可以以27.99美元的价格购买该产品,可以享受21美元的折扣。 拜登男士手…
-
联想小新SE 2025轻薄本开售:英特尔/AMD双版本、三尺寸,3599 元起
IT之家 1 月 20 日消息,联想小新 SE 2025 系列入门级轻薄本现已开售,包含英特尔酷睿 i5-13420H 和 AMD 锐龙 7 8745HS 处理器双版本,均可选 1…
-
理想汽车发布首款AI眼镜Livis:标配蔡司镜片,补贴后售价1699元起
“一款以钢铁侠AI管家“贾维斯”为灵感命名的智能眼镜,试图将“理想同学”的AI能力从驾驶空间延伸至用户日常生活的每个角落。” 凤凰网科技讯 12月3日,理想汽车举办线上发布会,正式…
-
“全球首款支持原生3DoF的消费级AR眼镜”XREAL One发布
IT之家 12 月 5 日消息,XREAL 今日宣布推出“全球首款支持原生 3DoF 的消费级 AR 眼镜”—— XREAL One。 XREAL One 眼镜包含 XREAL O…
-
荣耀MagicBook Art 14骁龙版发布:高通X Elite、OS Turbo、1080P视频可播放 15.22小时
IT之家 9 月 6 日消息,荣耀今天在柏林电子展 IFA 2024 上发布了 MagicBook Art 14 骁龙版,搭载骁龙 X Elite 平台。 MagicBook Ar…
-
3万元Vision Pro翻车 网友吐槽苹果犯低级错误:镜片装反了
快科技7月1日消息,在社交平台上,有多位网友反映,他们的Vision Pro国行版蔡司镜片左右装反了。 根据网友晒出的订单邮件,用户跟苹果客服沟通后,苹果承认了问题所在,表示“我们…
-
苹果进军可折叠屏设备:技术革新引领未来趋势
随着科技的不断进步和创新,可折叠屏设备已成为手机市场的新宠。作为科技巨头,苹果一直以其卓越的设计和创新能力引领着市场潮流。近日,有关苹果可折叠屏设备的消息引起了广泛关注,这标志着苹…
-
集邦咨询:2025Q2全球智能手机产量达3亿部,三星、苹果、小米前三
IT之家 9 月 12 日消息,根据 TrendForce 集邦咨询最新调查,2025 年第二季智能手机产量受季节性需求带动,加乘 OPPO、Transsion(传音)等品牌历经库…
