IT之家 1 月 16 日消息,科技媒体 patentlyapple 昨日(1 月 15 日)发布博文,报道称苹果公司获批新的技术专利,致力于将 Face ID 组件隐藏到屏幕之下。
Face ID 是通过深感摄像头投射并分析数量庞大的点,从而捕获准确的人脸数据。在当前的技术条件下,这套系统中的红外摄像头、点阵投影器等关键组件还无法被完全隐藏到屏幕下方,因此现阶段苹果只能用妥协的药丸屏方案来解决。

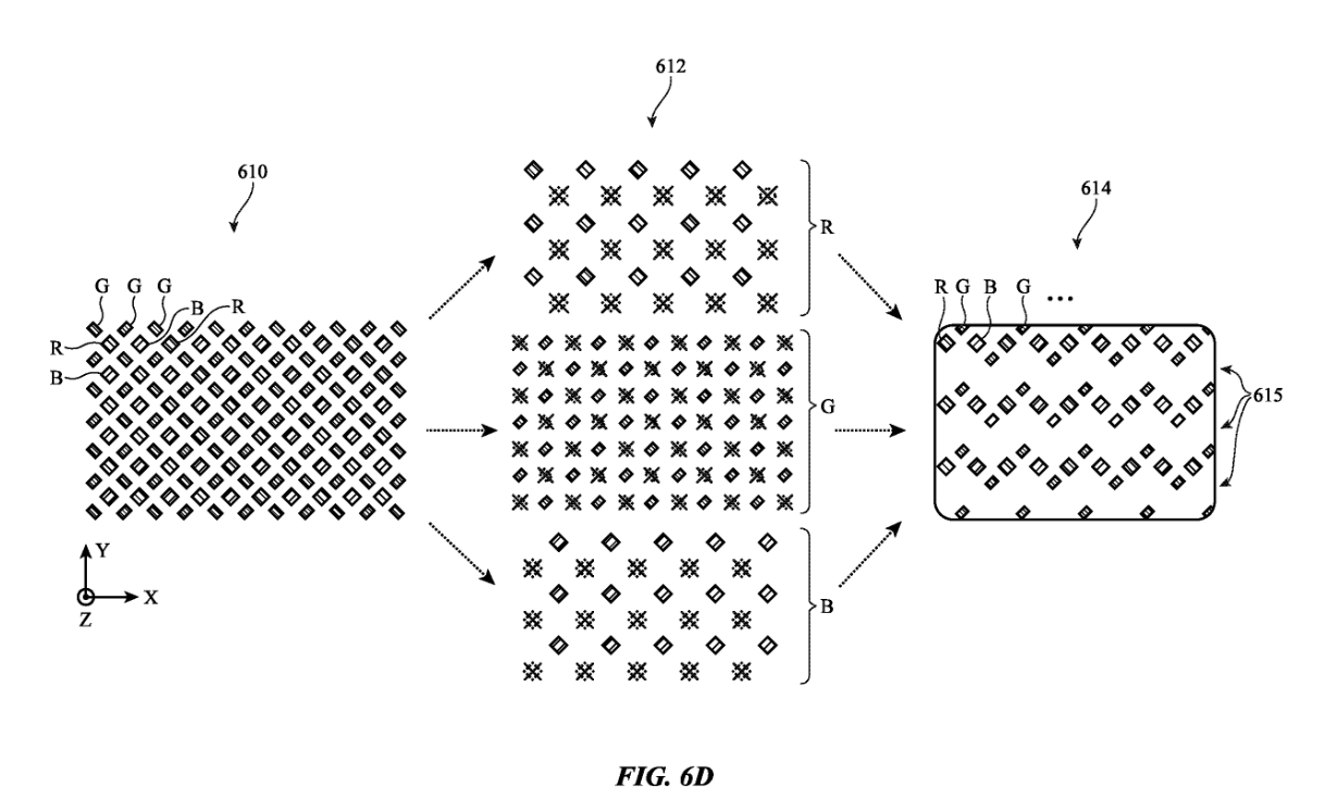
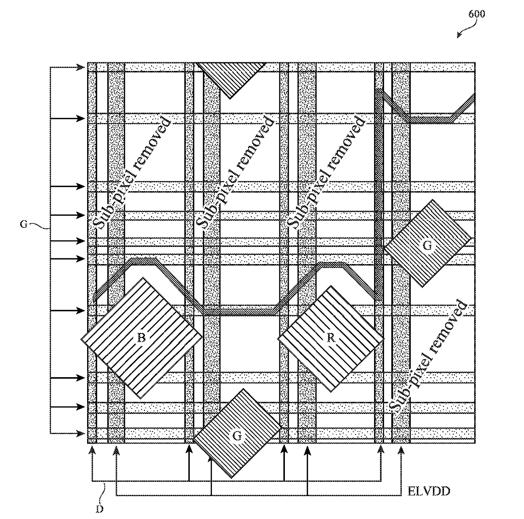
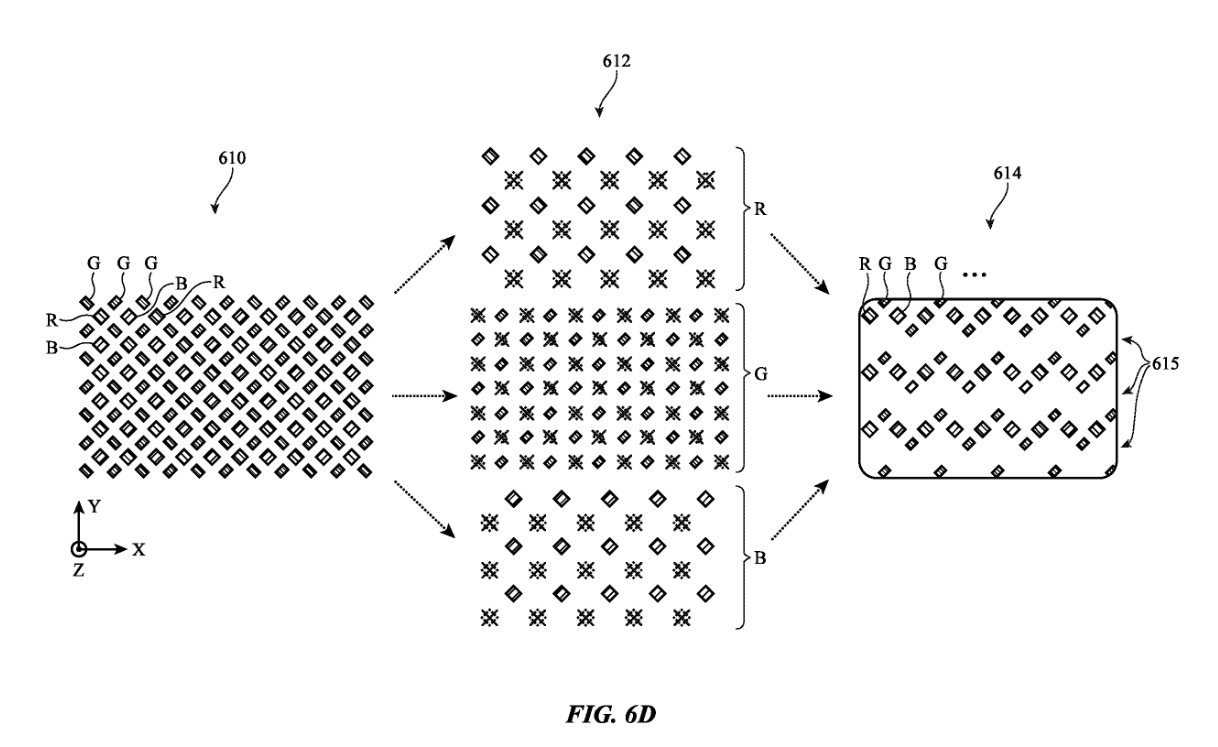
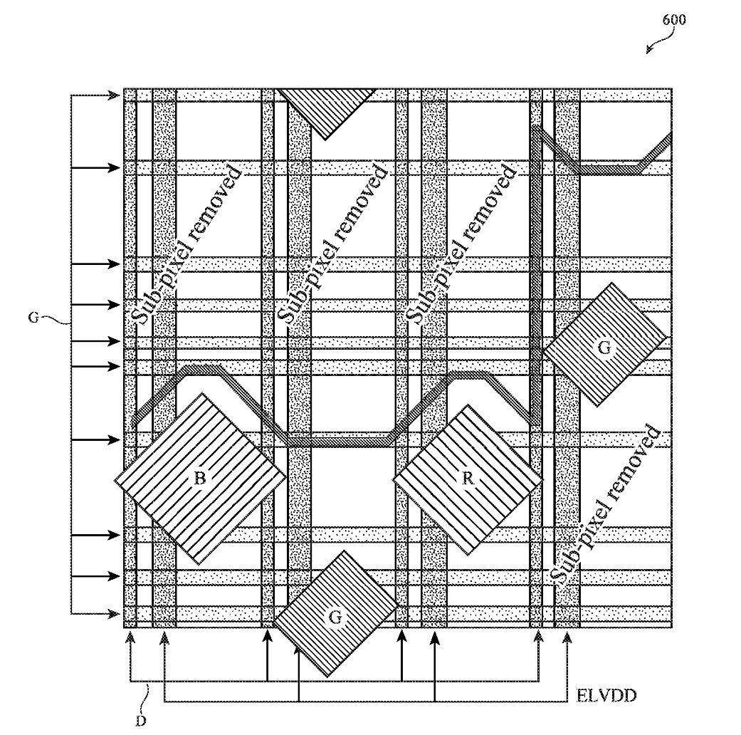
IT之家注:该专利涵盖了多种电子设备(iPhone、MacBook、iMac、智能眼镜、Apple Watch),描述了一种在屏幕下方放置光学传感器的方法。
根据专利描述,屏幕上的“像素移除区域”与传感器部分重叠,并提出了多种移除方案,例如移除像素移除区域 50% 的子像素,或移除 10%-90% 的子像素,以提升光线透过率。
专利还涉及触控传感器网格在像素移除区域的排布方式,包括完全保留、完全移除或部分移除等方案。此外,专利还提到了通过选择性地对覆盖层进行图案化处理,覆盖层可以是基板保护层、栅极电介质层、无机钝化层或有机像素定义层。








广告声明:文内含有的对外跳转链接(包括不限于超链接、二维码、口令等形式),用于传递更多信息,节省甄选时间,结果仅供参考,IT之家所有文章均包含本声明。
相关推荐
-
三星 Galaxy M35 手机渲染图曝光:Exynos 1380 芯片 + 6GB 内存
IT之家 5 月 15 日消息,三星 Galaxy M35 智能手机近日现身 Google Play Console,从曝光的渲染图来看,这款手机背面有三个摄像头,正面有一个自拍镜…
-
【IT之家开箱】影驰 RTX 4080 SUPER 金属大师 OC 显卡图赏:金属风拉满的 4K 游戏旗舰
随着 8 月 20 日《黑神话:悟空》游戏的正式发售,全球玩家都掀起了“直面天命”的热潮。IT之家近期收到了这张影驰 RTX 4080 SUPER 金属大师 OC 显卡用来体验《黑…
-
iPhone 16 Pro vs iPhone 15 Pro:哪款專業版最適合你?
iPhone 16 Pro iPhone 15 Pro 今年的 Pro 型號在保持其緊湊設計的同時,沒有做任何妥協。它擁有蘋果迄今為止最強大的相機系統、略大的顯示屏以及全新的相機控…
-
三星Galaxy S24 Plus传闻:搭载Android 15与One UI 7
近日,三星Galaxy S24系列再次传来新消息。据报道,三星Galaxy S24 Plus已经在GeekBench上现身,并确认搭载了基于Android 15底层的One UI …
-
Qi2 标准制定机构 WPC 回应“研发手机磁吸无线充电需 1000 万美元”:Nothing 不了解实际成本
IT之家 10 月 24 日消息,科技媒体 Android Authority 昨日(10 月 23 日)发布博文,报道称无线电力联盟(WPC)回应“研发磁吸无线充电系统需耗费超 …
-
搭载 Sailfish OS 旗鱼系统 5.0,Jolla“S19 MAX PRO S”定制手机“买一送一”售 10800 里拉
IT之家 5 月 26 日消息,日前 Jolla 联合土耳其制造商 Reeder 推出了一款名为 S19 MAX PRO S 的手机,该机搭载 Sailfish 5.0 系统,提供…
-
苹果 iOS/iPadOS 26 开发者预览版 Beta 9 发布
【点此直达升级教程】 IT之家 9 月 3 日消息,苹果今日向 iPhone 和 iPad 用户推送了 iOS/iPadOS 26 开发者预览版 Beta 9 更新(内部版本号:2…
-
OPPO A57在意大利ePRICE这样买,可以省11,21欧元,仅售125,66欧元
在意大利ePRICE商城,购买OPPO A57的3GB+64GB版本有优惠,原价136,87欧元,优惠11,21欧元,仅售125,66欧元(包括增值税),喜欢的朋友可以看看。 如果…
-
Nothing Phone (2a) 工程机曝光:配置强大,设计独特
在Nothing Phone (2a) 的正式发布前夕,一组引人注目的Nothing Phone (2a) 工程机照片引发了广泛关注。这些照片揭示了该机型的独特设计和配置细节,与官…
-
Galaxy Z Fold 5价格大跳水 美国Samsung Store这样买仅439.99美元 优惠1360美元
假日巨大优惠,美国Samsung Store官方Galaxy Z Fold5大跳水,价格跌入冰点,这样买仅花费439.99美元,节省最高1360美元。作为一款全新的折叠式手机,Ga…
