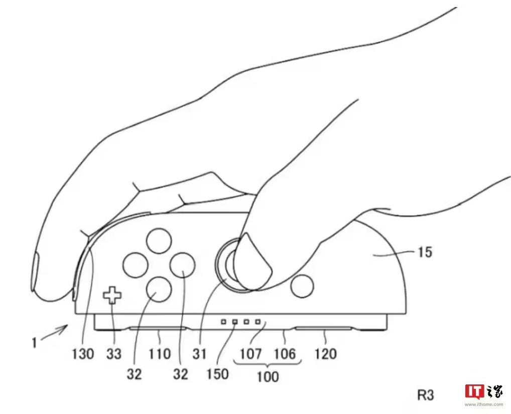
2 月 7 日消息,任天堂昨天公布的一项关于 Switch 2 游戏机 Joy-Con 手柄专利显示其支持作为鼠标使用,这与此前爆料内容相符。
IT之家参考相应专利获悉,Joy-Con 手柄侧面配有光学传感器,因此支持作为鼠标形式使用。专利同时透露每个 Joy-Con 手柄也可连接“外设”设备,这暗示任天堂有望推出 Joy-Con 适用的鼠标风格外壳,让其手感更接近于鼠标。



任天堂上个月正式揭晓了 Switch 2,并发布了一段预告视频,展示了这款主机和 Joy-Con 手柄。视频中也悄悄暗示,Joy-Con 手柄可以像鼠标一样在桌面上滑动。

任天堂计划于 2025 年 4 月 2 日直面会正式公布 Switch 2 详情,目前一切泄露信息仍属传闻范畴,还需以实际发布会情况为准,IT之家将继续保持关注。
文章来源于互联网:凤凰网-任天堂专利显示Switch 2游戏机Joy-Con手柄可作鼠标用
相关推荐
-
高通高管确认:骁龙8 Gen4 10月发布!自研架构提升巨大
快科技2月29日消息,在2024巴塞罗那世界移动通信大会(MWC 2024)上,高通高级副总裁兼首席营销官唐·莫珂东(Don McGuire)宣布: 将于2024年10月举办骁龙峰…
-
微软预告PowerToys 0.77 ,新增Command Not Found实用工具
IT之家 1 月 6 日消息,Clint Rutkas 近日发布推文,预告 PowerToys 0.77 版本新特性,将引入名为“Command Not Found”的全新工具,正…
-
曝vivo X300 Ultra等新品将于3月30日发布 4月3日开售
【CNMO科技消息】近日,数码博主@Oneline科技 放出一张聊天截图,图片内容显示vivo X300 Ultra、X300s以及Pad6 Pro将于3月23日开始预热,3月30…
-
苹果新款Apple iPad Air爆料汇总:技术升级与经典设计的完美融合
随着科技的快速发展,平板电脑市场也正经历着巨大的变革。作为平板电脑市场的佼佼者,iPad Air的每一次更新都备受关注。近日,有关下一代iPad Air的消息逐渐浮出水面,引发了人…
-
努比亚倪飞谈eSIM:是未来但非现在,我们先提升用户感知强的功能
凤凰网科技讯 10月23日,努比亚总裁倪飞今日通过微博发声,围绕“eSIM会取代实体SIM卡吗”这一热点话题给出明确观点:eSIM的技术价值值得肯定,但当下谈“取代”为时尚早,努比…
-
魅族谈手机防盗重要性 博主:刷机也解不开魅族ID锁
【CNMO科技消息】2月9日,魅族科技发文称:“对于每个人来说,丢手机都是要了半条命的大事儿。防盗的背后是找回、数据备份和清除,都很关键”。 魅族手机 CNMO注意到,魅族科技还转…
-
美国亚马逊大促:Fire电视棒4K Max仅售40美元,节省20美元!
在最近的美国亚马逊大促活动中,消费者们迎来了一个令人振奋的好消息——备受好评的亚马逊Fire电视棒4K Max流媒体设备售价降至历史新低,仅需40美元。这一优惠价格相较于其通常的6…
-
华为Sound Joy 2蓝牙智能音箱通过认证:支持40W快充,有望7月上市
IT之家 6 月 29 日消息,华为 Sound Joy 2 蓝牙智能音箱近日通过国内质量认证,型号为 EGRT-00、EGRT-09,支持最大 40W 快充。认证信息显示,华为 …
-
职业玩家都说这LOL主播开挂,为啥官方却说“没异常”?
要说最近英雄联盟圈内热度最高的男人,霸哥排第二,没人敢当第一。 关于霸哥开挂这事,世超本来没打算写。 但随着它愈演愈烈,从职业选手们都说 “ 霸哥有点假 ” ,到官方说 “ 没异常…
-
美国Best Buy苹果15英寸M2 MacBook Air限时特惠:256GB版仅需999美元,直降300美元
近日,备受瞩目的15英寸M2 MacBook Air在美国Best Buy上推出了限时特惠活动,其中256GB版本的价格直接从1,299.00美元降到了999.00美元,直降300…
