IT之家 3 月 12 日消息,科技媒体 MySmartPrice 昨日(3 月 11 日)发布博文,报道称摩托罗拉获批一项折叠手机专利,描述了一款配备低剖面天线的书本式折叠手机,支持卫星通信。
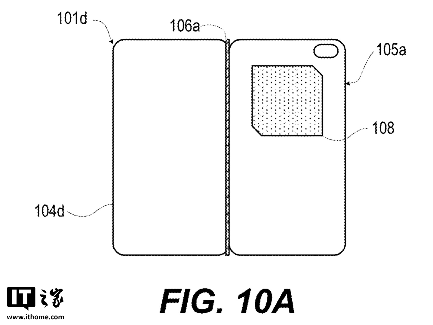
IT之家援引博文介绍,该专利于 2023 年 8 月提交,于 2025 年 3 月 6 日获批,在专利图 10A 中展示了设备的展开状态,从背面可见左侧为盖板部分(105d),右侧为主机身(105a),中间通过铰链机制实现折叠。
图 10B 显示了设备完全展开的内部视图,暗示摩托罗拉可能推出一款类似三星 Galaxy Z Fold 系列的书本式折叠手机。





专利描述,设备配备了一种低剖面贴片天线,用于卫星通信。该天线集成在设备背面,由接地层、介质基板和导电辐射贴片组成。
专利中还介绍了专用通信子系统,利用该天线实现卫星连接,显示屏则提供实时通信状态、卫星信息和用户控制功能。这一设计确保设备在无传统网络覆盖区域也能提供可靠连接。
广告声明:文内含有的对外跳转链接(包括不限于超链接、二维码、口令等形式),用于传递更多信息,节省甄选时间,结果仅供参考,IT之家所有文章均包含本声明。
文章来源于互联网:IT之家-摩托罗拉书本式折叠手机专利获批,支持卫星通信
相关推荐
-
小米Redmi Note 8在意大利ePRICE这样买更超值,省95.10欧元,仅144.90欧元
在意大利ePRICE网上商城,购买Redmi Note 8的64GB版本有优惠,原价240.00欧元,优惠95.10欧元,仅售144.90欧元(包括增值税),喜欢的朋友可以看看。 …
-
前 Essential Phone 高管被曝挪用自家新公司 Osom 内部资金购买兰博基尼
IT之家 9 月 1 日消息,据外媒 Android Authority 报道,Osom 公司前首席隐私官 Mary Stone Ross 正对 Osom 公司本身提起诉讼,声称该…
-
Bigme 大我 HiBreak Pro 墨水屏手机上市:6.13 英寸 300PPI 面板、天玑 1080,3199 元
IT之家 2 月 8 日消息,Bigme 大我在去年 12 月 30 日发布了 HiBreak Pro 墨水屏手机,该机主打天玑 1080 处理器、6.13 英寸面板,但当时没有公…
-
全系A18芯片:代码显示苹果iPhone 16/Pro四款机型采用同类标识符
IT之家 7 月 3 日消息,@Nicolás Alvarez 发现,苹果后端显示表明苹果今年 9 月准备发布的四款 iPhone 16 机型都将使用相同的 A 系列芯片。 苹果后…
-
对标iPhone 16,华为Mate 70主摄曝光:全系标配国产传感器
快科技4月22日消息,根据数码闲聊站的爆料,华为Mate 70系列的主摄将全系采用豪威传感器,标准版将配备OV50H主摄,而高配版将搭载OV50K主摄。 OV50K是豪威今年量产商…
-
小米 Redmi Note 14 Pro 手机有望采用 1.5K 居中单孔双微曲屏,50MP 大底“居中类椭圆镜头”
IT之家 6 月 25 日消息,博主 @数码闲聊站今天曝光了一款神秘“子系”新机的配置,该机定位“走量中端”,采用 1.5K 居中单孔双微曲屏,50MP“大底影像方案”,无潜望长焦…
-
库克解读苹果 AI 差异化战略:从未考虑过收费,推动 iPhone 等硬件革命才是王道
IT之家 12 月 21 日消息,苹果首席执行官蒂姆・库克(Tim Cook)在接受《连线》杂志采访时明确表示,苹果内部从未讨论过 AI 收费的问题。库克认为,AI 如同多点触控技…
-
苹果 2025 最重要一天,库克在第五大道 Apple Store 共庆 iPhone 17 系列发售
IT之家 9 月 20 日消息,科技媒体 9to5Mac 昨日(9 月 19 日)发布博文,报道称苹果首席执行官蒂姆・库克(Tim Cook)现身纽约第五大道 Apple Stor…
-
苹果iPhone 17 Pro Max爆料:全新四棱镜长焦镜头独领风骚
随着智能手机摄影技术的飞速发展,苹果一直在不断探索和创新,以带给用户更卓越的拍摄体验。近日,关于iPhone 17 Pro系列的爆料信息引发了业界的广泛关注,尤其是其全新升级的长焦…
-
小米 Redmi 两款机型入榜和三星夺食,2024 年 Q1 欧洲智能手机出货量同比增长 2%
IT之家 6 月 17 日消息,Canalys 公布了 2024 年第一季度欧洲(不包括俄罗斯)智能手机市场数据报告,出货量同比增长 2%,达到 3310 万台。出货量前 10 的…
