IT之家 3月19日消息,科技媒体patentlyapple昨日(3月18日)发布博文,报道称美国专利商标局正式授予苹果一项专利,涉及未来妙控鼠标的潜在设计升级。

该技术可通过触觉反馈模拟沙地、冰面等不同表面质感,提升游戏等场景的沉浸感。专利涵盖3D设计、网页浏览等多领域应用,旨在通过增强物理交互反馈,弥补传统鼠标仅限视觉与听觉体验的不足。

传统鼠标、游戏手柄等输入设备仅能提供基础触觉反馈(如震动),而苹果专利通过动态调节摩擦,实现了更细腻的交互体验。
以往鼠标无法根据屏幕内容调整物理反馈,仅能依赖视觉提示;新技术则将触觉与视觉结合,形成多感官联动。除游戏,该技术可辅助3D建模时的精细操作,或帮助视障用户通过触觉识别网页元素。
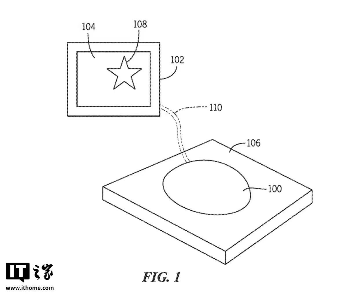
IT之家援引博文介绍,苹果专利中介绍了3种场景,通过调整鼠标与桌面间的摩擦力,实时匹配屏幕显示的虚拟环境:
场景 1:冰面与沙地
当光标移动至屏幕上的“冰面”区域,鼠标与桌面的摩擦力维持较低;若移至“沙地”,摩擦力则增强,模拟真实阻力差异。
场景 2:虚拟环境动态反馈
游戏中角色涉水或背负重物时,鼠标移动阻力可相应增加;若角色健康状态良好,则阻力降低,增强情境代入感。
扩展应用:模拟复杂纹理
除基础材质,该技术还能模拟金属凹凸、虚拟/增强现实中的三维物体触感,甚至调整鼠标横向移动的难易度以匹配游戏状态。






文章来源于互联网:凤凰网-苹果专利探索妙控鼠标未来:从“二维输入工具”进化为“环境感知终端”
