IT之家 4 月 3 日消息,科技媒体 xpertpick 今天(4 月 3 日)发布博文,报道称谷歌获批《通过显示屏无线充电》的专利,将无线充电线圈集成在手机屏幕下方,实现通过屏幕传输或接收电力,突破传统依赖设备背板的充电模式。
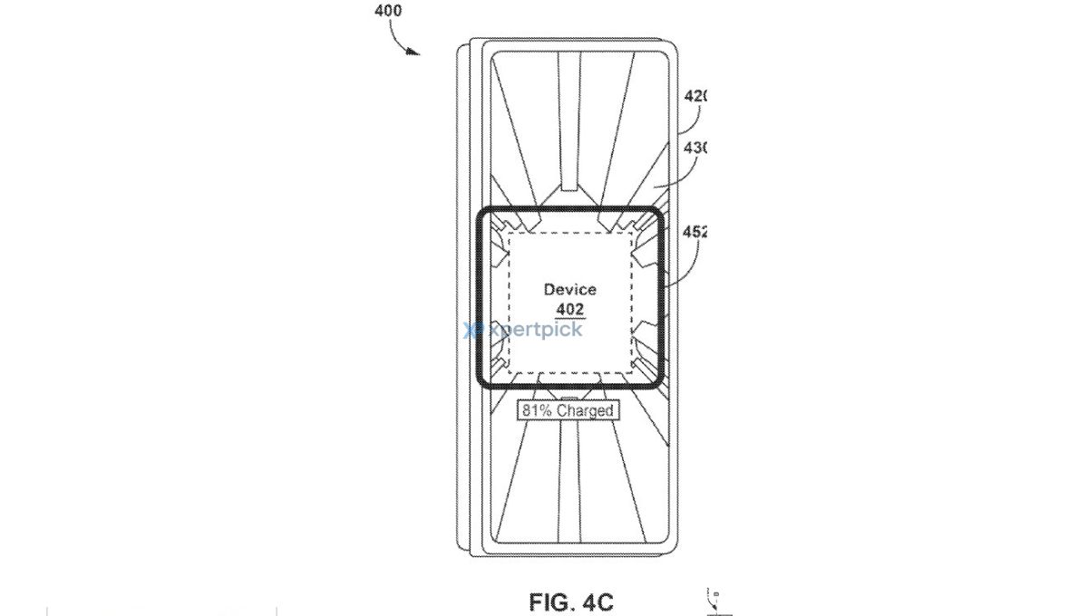
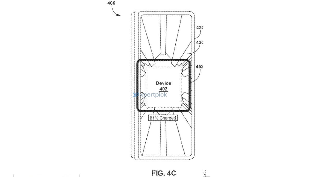
与传统方案不同,这项编号 18294508 的专利将充电线圈置于显示屏下方,用户无需翻转设备即可充电。IT之家附上专利图如下,描述了一台显示“已充电 81%”的谷歌设备,屏幕下方可见线圈轮廓,技术文档特别说明,为优化能量传输,充电时会暂时禁用触控功能。

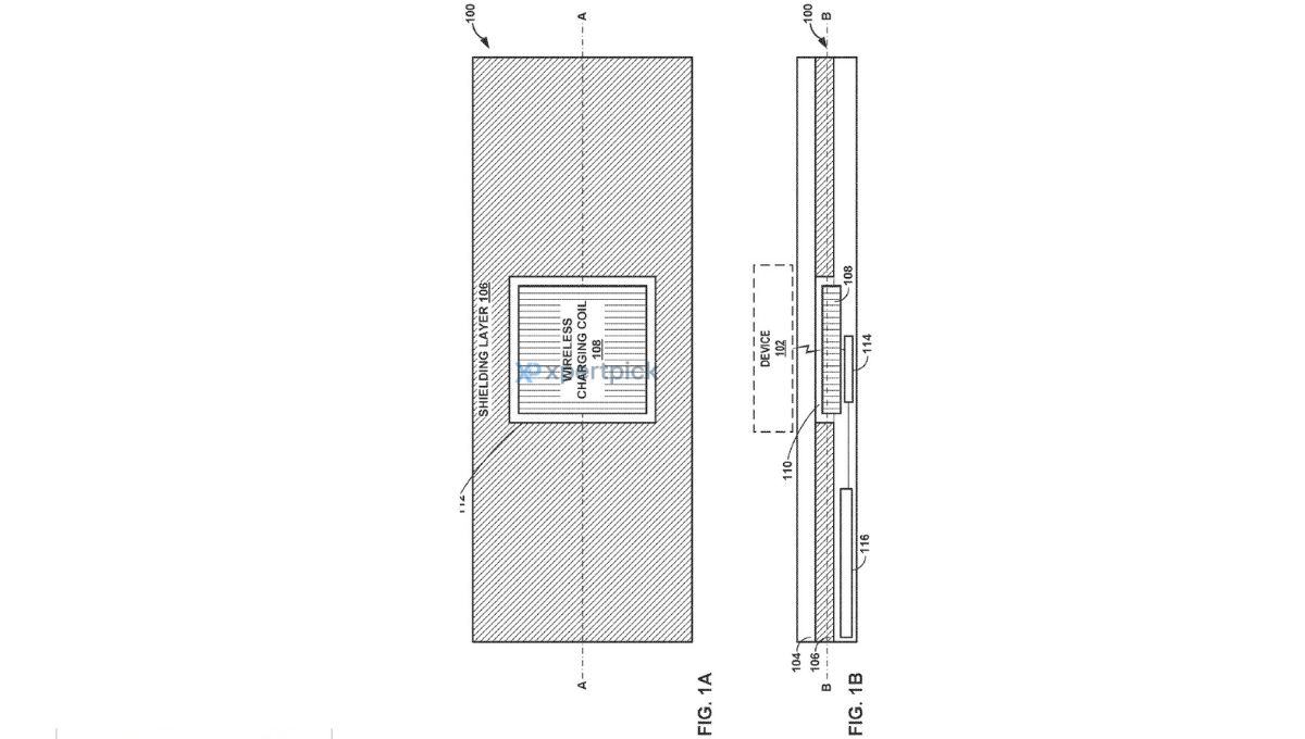
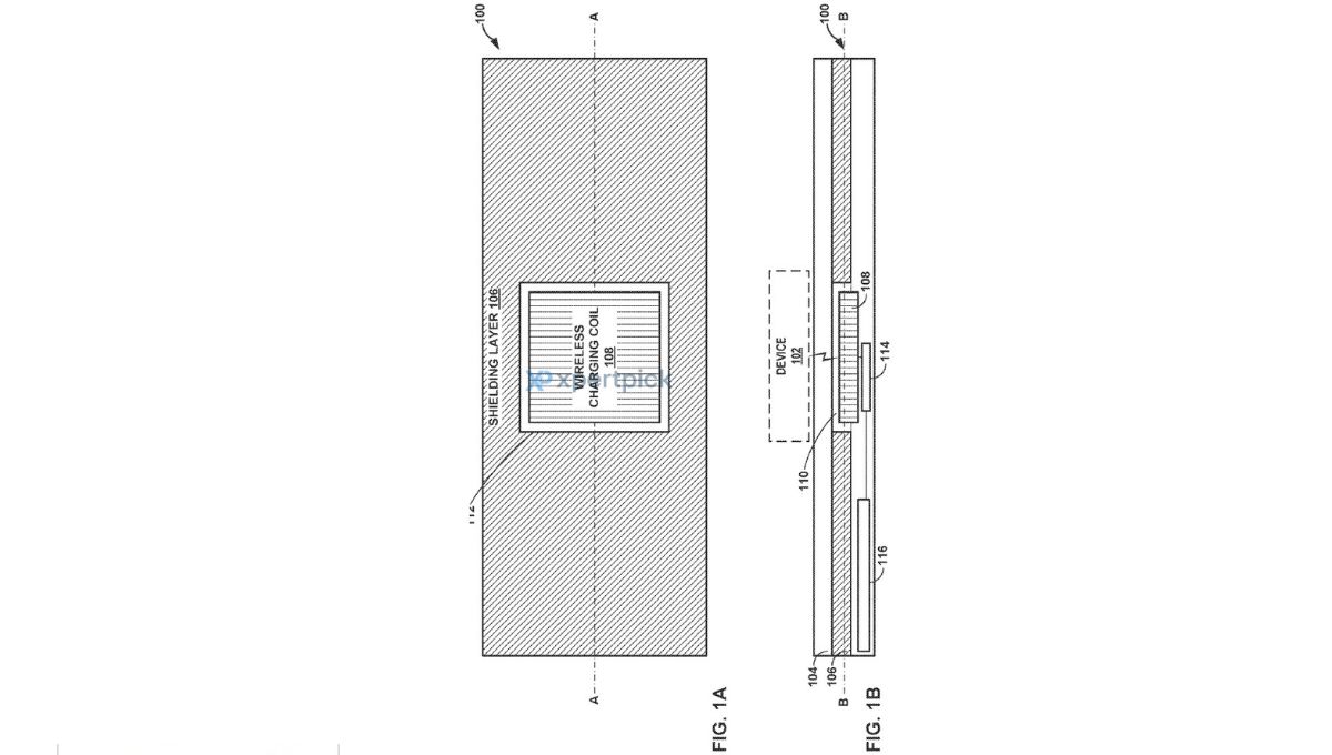
为实现这项创新,谷歌特殊改造屏幕屏蔽层。专利附图 1A 展示带屏蔽层的充电线圈俯视图,1B 剖面图则揭示线圈的立体结构。系统通过识别兼容充电器自动启动流程,在保持显示效果的同时确保高效能量传输。测试数据显示,该方案能有效解决传统无线充电时屏幕使用受限的问题。

专利描述两种应用场景:设备既可作为电力接收端,也能变身充电基站。当手机屏幕朝下放置时,可直接从充电垫获取能量;配备该技术的设备还能通过屏幕为其他设备供电,为智能手表、无线耳机等配件充电提供新方案。这种设计有望彻底改变多设备协同充电的体验。

广告声明:文内含有的对外跳转链接(包括不限于超链接、二维码、口令等形式),用于传递更多信息,节省甄选时间,结果仅供参考,IT之家所有文章均包含本声明。
文章来源于互联网:IT之家-谷歌无线充电专利获批:手机屏幕秒变充电板
相关推荐
-
摩托罗拉moto X50 Ultra全面评测:性能之巅,影像之魅
随着科技的飞速发展,智能手机市场日新月异,各大品牌纷纷推出旗舰机型以争夺市场份额。摩托罗拉作为老牌手机制造商,其新品moto X50 Ultra一经发布便吸引了众多目光。本文将对该…
-
传音 Infinix 品牌首款小折叠手机 Zero Flip 曝光:大外屏设计 + 4590mAh 电池
IT之家 7 月 15 日消息,继 Tecno Phantom 系列之后,传音旗下另一个品牌 Infinix 也即将推出其首款小折叠手机 Zero Flip。该手机目前已经通过 F…
-
苹果 iOS 26 Beta 6 持续打磨“液态玻璃”:提升锁屏时钟透明度,在某些背景下恐影响可读性
IT之家 8 月 12 日消息,科技媒体 MacRumors 今天(8 月 12 日)发布博文,报道称在 iOS 26 Beta 6 更新中,苹果再次调整了“液态玻璃”设计,重点优…
-
比亚迪进入果链!王传福与库克见面:曝拿下iPhone电池与屏幕
快科技3月22日消息,比亚迪总裁王传福与苹果CEO蒂姆·库克在上海的苹果中国总部会面,引发广泛关注。 在会面期间,双方参观了比亚迪的展台,展示了比亚迪电子的智能制造技术以及为苹果生…
-
苹果彻底淘汰 60Hz 屏?消息称 iPhone 19e 有望用上 LTPO OLED
感谢IT之家网友 契柯、不一样的体验、会弹琴的九号 的线索投递! IT之家 3 月 17 日消息,据韩媒 ZDNet Korea 3 月 16 日报道,苹果正在考虑将低温多晶氧化物…
-
vivo X200 Ultra 手机本月升级支持全屏熄屏显示,新版本已开启推送
感谢IT之家网友 風見暉一、hyy23450305、可随橙想呢 的线索投递! IT之家 7 月 29 日消息,vivo 官方今日发布 vivo X200 Ultra 手机 7 月升…
-
一加Ace 3 Pro超跑瓷典藏版官宣:陶瓷质感超越万元旗舰
快科技6月21日消息,今天,一加宣布将于6月27日推出一加Ace 3 Pro,这次一加还带来了Ace 3 Pro陶瓷版。 李杰表示,一加Ace系列推出近两年,获得大量用户喜欢,销量…
-
澎湃 OS 3 正式版第三批机型开始推送,覆盖小米 14 系列、REDMI K70 系列等
感谢IT之家网友 软媒新友2399371、顺势而为、五爷消魂、仅此、星痕永至、風見暉一、春日望 的线索投递! IT之家 11 月 13 日消息,小米今日官宣,澎湃 OS 3 第三批…
-
谷歌 Pixel 10 系列手机跨平台互传更新存在 BUG:Wi-Fi 断连、列表全清空
IT之家 11 月 29 日消息,科技媒体 Android Authority 昨日(11 月 28 日)发布博文,报道称部分 Pixel 10 系列用户反馈,和 iPhone 1…
-
三星解释为何不再做小屏手机:由大多数人使用需求决定,实在喜欢小屏可以买 Z Flip 小折叠
IT之家 4 月 17 日消息,据科技媒体 TechRadar 今天报道,三星英国 / 爱尔兰移动体验部门产品副总裁 Annika Bizon,最近在一次 Reddit 问答活动中…
