IT之家 4月6日消息,外媒Roadtovr联系任天堂,确认任天堂在2019年推出的Labo VR纸板头显配件不兼容Switch 2游戏机。

据悉,由于Switch 2游戏机尺寸相对于初代Switch有所调整,因此无法装入Labo VR纸板头显配件,不过这可以通过魔改/重新开模自制相应头显配件来解决。
但目前尚不知悉任天堂是否会对Labo VR配套的游戏进行限制,例如使其直接无法在Switch 2平台上运行,考虑到任天堂已宣布“Labo VR配件不支持Switch 2”,因此该公司很有可能在相应游戏机上施以限制,具体还需实机到手专门进行测试。
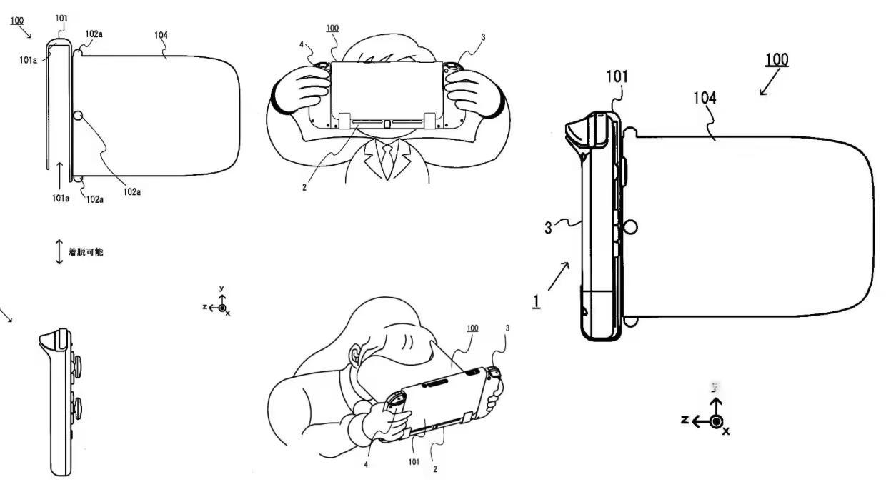
IT之家同时注意到,任天堂在2024年公开的一项专利显示该公司很有可能推出第二代Labo VR纸板头显,这意味着Switch 2不兼容现款Labo VR纸板头显的原因可能是“任天堂计划推出新的VR头显配件”。

文章来源于互联网:凤凰网-任天堂确认Switch 2游戏机不兼容Labo VR纸板头显配件
相关推荐
-
畅玩3A游戏大作,索泰ZONE游戏掌机图赏
快科技6月13日消息,索泰此前推出了GAMING ZONE游戏掌机,售价6399元。 现在这款掌机已经来到我们评测室,下面为大家带来图赏。 这台掌机搭载强大的AMD锐龙7 8840…
-
ANTSHARE Samsung Galaxy S24 Plus防水手机壳:亚马逊美国限时优惠,仅售19.54美元!
如果您是Samsung Galaxy S24 Plus的用户,并且正在寻找一款能够抵御各种元素侵害的手机壳,那么ANTSHARE防水手机壳将是您的理想选择。现在,这款手机壳在亚马逊…
-
Canalys:去年全球智能音频设备出货量达4.55亿台,今年将超5亿台
IT之家 3 月 3 日消息,根据 Canalys 最新估计,2024 年全球智能个人音频设备(包括 TWS、无线耳机和无线耳塞)出货量达到 4.55 亿台,同比增长 11.2%。…
-
英特尔Intel Clearwater Forest至强处理器揭秘:最多17个小芯片构筑未来
英特尔在最近的IFS Direct Connect活动前,透露了其第二代能效核至强处理器Intel Clearwater Forest的详细信息。这款备受期待的处理器将由至多17个…
-
iOS 17加持,AirPods Pro 2新增五大智能功能
随着苹果iOS 17系统的正式推出,备受用户喜爱的AirPods Pro 2无线耳机迎来了五项全新功能,进一步提升了用户的聆听体验。这五项功能分别是噪声控制自适应、对话感知、静音或…
-
Insignia 32英寸F20系列LED全高清智能Fire TV:Best Buy限时特惠仅售109.99美元,立省60美元
当今的智能家居生活中,一台性能卓越的智能电视是不可或缺的。美国Best Buy现正提供Insignia 32英寸F20系列LED全高清智能Fire TV的独家优惠,仅需109.99…
-
英特尔:仍计划2024年晚些时候分享Arrow Lake桌面处理器更多详细信息
IT之家 8 月 12 日消息,英特尔此前宣布原定于当地时间 2024 年 9 月 24~25 日举行的新一届英特尔 On 技术创新大会(Intel Innovation)因财务状…
-
国行即将发售!苹果Vision Pro国区App Store上线:提供腾讯视频、京东等应用
快科技6月19日消息,苹果Vision Pro国行版目前已经开启预售,将于6月28日正式发售,起售价29999元。 目前,Vision Pro上的国区App Store已经上线,提…
-
LTPDE 智能手表在美国亚马逊可以省20美元,仅售19.99美元!
LTPDE 智能手表是一款集多种功能于一身的智能设备,其折扣非常大,目前美国亚马逊正在开展一项优惠活动,您可以以19.99美元的价格购买该产品,可以享受20美元的折扣。 LTPDE…
-
荣耀平板10开启新品众测,搭载12.1寸类纸护眼屏
IT之家 5 月 15 日消息,荣耀平板 10 昨日官宣即将上市,这款新品现已在荣耀俱乐部开启众测,共计 50 位名额。 报名时间:2025 年 5 月 14 日 10:00-20…
