IT之家 7月9日消息,科技媒体AppleInsider今天(7月9日)发布博文,报道称苹果公司获批一项新专利,聚焦在AirPods耳机中添加摄像头,从而提升立体声效果。
郭明錤曾于2024年6月曝料,苹果计划为AirPods引入红外摄像头,从而提升Vision Pro的立体音频效果,随后他透露苹果计划在2026年推出配备摄像头的AirPods。
IT之家曾于今年3月报道了类似的专利,新专利暗示苹果AirPods将配摄像头,进化成能感知环境的智能终端。而最新专利名为“适用于光学系统的波长混合”,表明苹果公司正探索和研究这个概念设计。
专利文件提到:
在某些示例中,此处描述的光学系统可能包括在各种手持或便携式电子设备中,如移动设备和可穿戴设备(例如智能手机、平板电脑、电子手表、健身监测器、健康监测器、耳机或用户可能佩戴的任何类型的设备,例如袖口、手镯或耳塞)。
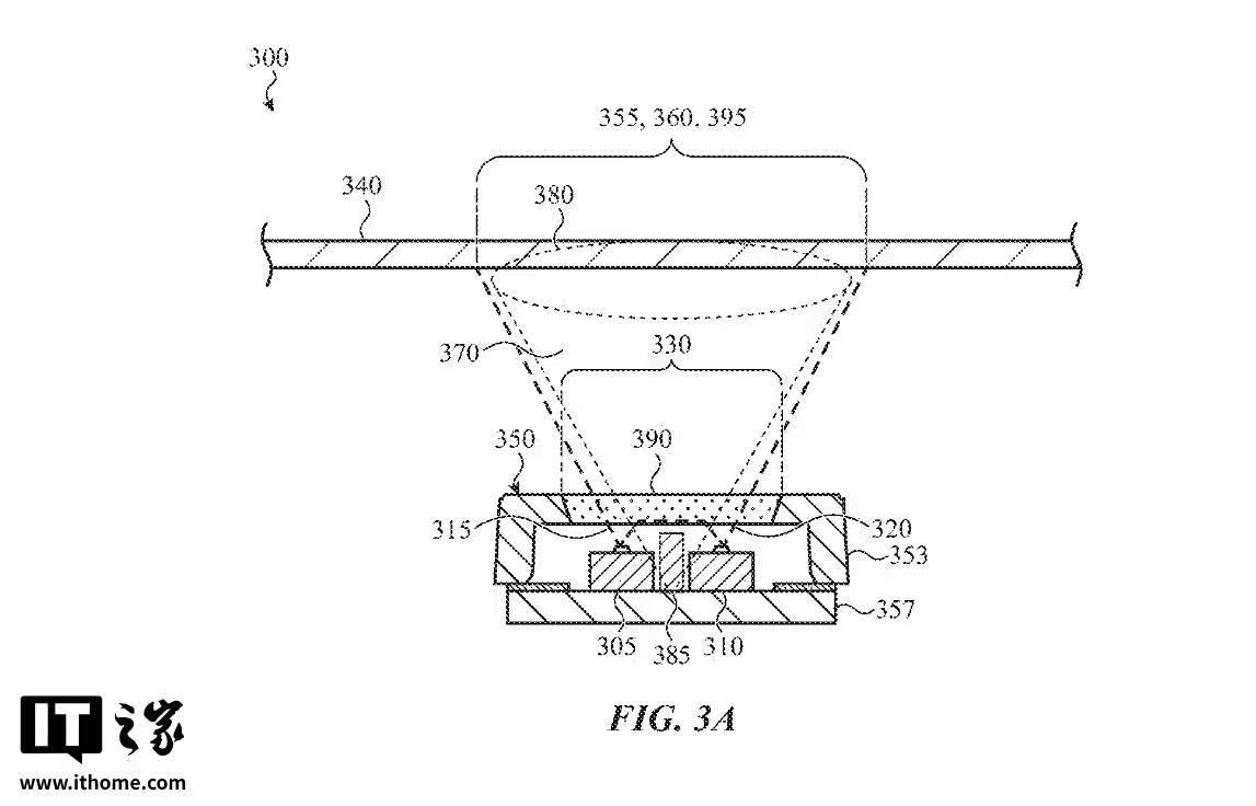
专利还特别关注“更小、更紧凑的电子设备”,这限制了组件的大小和位置。这些组件被概括为光学系统(或者说是摄像头)。苹果表示,光学系统将包括检测器或透镜,以及“多个光源,每个光源旨在照亮一个共同的目标”。因此,这些光源会发出光线,摄像头可以看到结果。

光学系统能够识别到物体的接近,并“确定被观察物质的类型”。例如,摄像头可以轻松地检测到用户靠近墙壁或挥手进行手势操作。它还可以“判断耳机是否位于用户的耳朵里或放在桌子上”。





