快科技7月28日消息,根据天眼查数据显示,2025年3月14日,OPPO广东移动通信有限公司公布了一项名为“扭力组件、折叠装置及电子设备”的专利,申请公布号为CN119616991A。
该专利涉及可弯折结构技术领域,通过创新设计提升折叠设备的使用体验和耐用性。
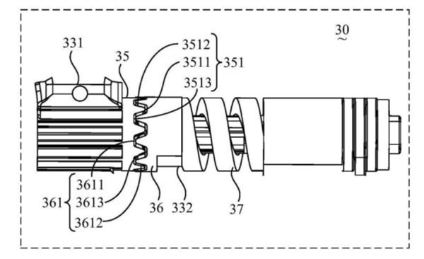
专利显示,该扭力组件包括主动件、被动件、第一啮合件、第二啮合件和复位件。
通过独特的啮合机制,第一啮合件与第二啮合件可在多个啮合位置之间切换,实现分级悬停功能。
这一设计不仅提升了折叠设备的灵活性,还显著降低了部件的磨损率,延长了设备的使用寿命。
分级悬停功能意味着用户可以根据需求将设备停在不同角度,无论是观看视频、进行视频通话还是进行多任务操作,都能获得更便捷的体验。
此外,该专利还通过减少部件的持续磨损,提升了折叠设备的可靠性和耐用性。
OPPO此次公布的专利展示了其在折叠屏技术领域的持续创新和领先地位,为未来折叠设备的发展提供了新的方向。

责任编辑:无痕
文章来源于互联网:凤凰网-OPPO折叠新专利公布:分级悬停能力大增
相关推荐
-
传英伟达将推出Arm架构AI PC处理器,Alienware或将首发搭载
6月3日消息,据 The verge 报道,英伟达(NVIDIA)将于今年底或2026年初推出自研的基于Arm架构的AI PC处理器,届时将会与戴尔(Dell)旗下电竞品牌Alie…
-
你初中用的计算器 现在还在乱杀
提到计算器这个东西,估计大家对它的印象应该是两极分化的,一部分人会觉得它只是手机里的一个功能而已,用来做一些简单的加减法,看看吃饭花了多少钱等等。 而计算器对于另一部分人来说,直到…
-
罗马仕倒下,下一个会是安克吗?
罗马仕轰然倒下的烟尘尚未散尽,行业的聚光灯已然打到了“充电宝一哥”安克创新的身上。 7月6日凌晨,深圳罗马仕科技有限公司的一纸停工停产通知,将这家曾连续11年蝉联天猫双11充电宝销…
-
微星推出MAG X870E TOMAHAWK MAX WIFI PZ背插主板,可超外频
IT之家 10 月 10 日消息,微星 MSI 现已在官网正式上线了 MAG X870E TOMAHAWK 战斧导弹 MAX WIFI PZ。这款背插 ATX 主板全面采用银灰配色…
-
苹果Apple Watch Series 9美国亚马逊限时折扣,历史最低价来袭
在科技产品领域,苹果公司的Apple Watch系列一直以其出色的性能和时尚的外观吸引着消费者的目光。如今,对于那些曾错过购买最新款Apple Watch的消费者来说,一个难得的机…
-
雅马哈CG-TA尼龙弦TransAcoustic吉他:美国亚马逊限时优惠,节省12%,现价579.99美元!
在寻找一款能够提供超凡演奏体验的古典吉他吗?雅马哈CG-TA尼龙弦TransAcoustic吉他或许正是您需要的。这款吉他不仅以其复古色调和经典造型吸引眼球,更以其独特的Trans…
-
微软ROG Xbox Ally/X掌机登场:Win11优化加持、AMD Z2系列处理器、16/24GB内存、7英寸1080P屏幕
IT之家 6 月 9 日消息,在今天(6 月 9 日)召开的 Xbox Games Showcase 2025 活动结束后,微软官方博客 Xbox Wire 发布博文,深入介绍了 …
-
红魔Red Magic推出支持MagSafe的Cooler 5 Pro手机散热器,兼容性强且降温效果显著
专业游戏品牌红魔Red Magic近日推出了一款名为Cooler 5 Pro的新型手机散热器,旨在解决手机游戏爱好者长时间游戏导致的手机发热问题。这款散热器不仅支持MagSafe磁…
-
DSCC:苹果新款iPad Pro助推2024年OLED平板出货量增幅超三位数
IT之家 4 月 9 日消息,根据屏幕供应链咨询公司 DSCC 发布的最新报告,2023 年 OLED 面板产值同比下降 4%,低于此前预期的 9%,且去年下半年出现了明显的复苏趋…
-
搭载高通骁龙X处理器:戴尔Latitude 7455商用笔记本上架官网,26306元起
IT之家 7 月 3 日消息,戴尔 Latitude 7455 商用笔记本现已上架官网并开放定制,可选高通骁龙 X Plus(10 核 3.4GHz)和骁龙 X Elite(12 …
