IT之家 8 月 19 日消息,科技媒体 Windows Latest 昨日(8 月 18 日)发布博文,报道称微软公司最新获批折叠手机专利,融合了类似 Surface Pro 的支架(Kickstand)系统,通过巧妙的铰链与磁吸结构,可实现单手开合及桌面稳固支撑,带来便携办公和娱乐体验。

该专利于 2025 年 4 月 23 日提交,并于 2025 年 8 月 7 日获批,专利名称为《用于开启折叠计算设备的支架》。此次专利的亮点在于,微软首次将 Surface Pro 标志性的支架设计引入折叠手机领域。
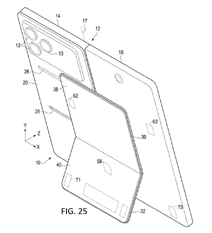
专利文件描述,这款折叠手机由两个屏幕组成,第二块屏幕背部集成了支架模块。支架采用了类似 Surface Pro 的金属结构,通过上板和下板的铰链连接,用户只需用拇指推动上板,即可展开支架,让设备稳稳立于桌面。


微软为了确保单手开合和开合后的稳固性,还选择磁吸设计和可选的弹簧或微型马达锁扣。微软设想,这种带支架的折叠手机不仅便于阅读、视频通话和观影,还能随时连接键盘和鼠标,实现近似 PC 的办公体验。
这与微软一贯的 Surface 产品理念高度契合,即让移动设备兼具办公和娱乐属性,得益于巧妙的物理重心设计(静态稳定性),用户在桌面操作时能获得更加稳固、舒适的体验。IT之家附上相关设计草图如下:


与市面上的 Galaxy Fold、Flip 以及自家 Surface Duo 不同,微软认为现有折叠手机虽有新颖外形,但常因缺乏稳定支撑而影响实际使用,比如难以固定角度阅读或观看视频。新专利中的超薄支架则精准解决了这些痛点,让折叠手机真正具备“桌面设备”的属性。
广告声明:文内含有的对外跳转链接(包括不限于超链接、二维码、口令等形式),用于传递更多信息,节省甄选时间,结果仅供参考,IT之家所有文章均包含本声明。
文章来源于互联网:IT之家-终结“躺平”尴尬?微软专利构想未来折叠手机,Surface 磁吸支架上身
